TOP
|
特許
|
意匠
|
商標
特許ウォッチ
Twitter
他の特許を見る
10個以上の画像は省略されています。
公開番号
2025176871
公報種別
公開特許公報(A)
公開日
2025-12-05
出願番号
2024083240
出願日
2024-05-22
発明の名称
プルーフ画像データを作成する方法、プルーフ画像データ作成装置、および、コンピュータープログラム
出願人
セイコーエプソン株式会社
代理人
弁理士法人明成国際特許事務所
主分類
H04N
1/46 20060101AFI20251128BHJP(電気通信技術)
要約
【課題】滲みの影響をプルーフ画像データに反映する技術を提供する。
【解決手段】プルーフ画像データを作成する方法は、(a)印刷機を用いて印刷媒体上に印刷される印刷物の色を、プルーフ出力装置で再現するための基本プルーフ画像データを取得する工程と、(b)印刷物におけるインクの滲み状態を表す滲みパラメーターを用いて基本プルーフ画像データに対して滲み付与処理を適用することによって、滲み状態を模擬した滲み付与プルーフ画像データを作成する工程と、を含む。
【選択図】図3
特許請求の範囲
【請求項1】
プルーフ画像データを作成する方法であって、
(a)印刷機を用いて印刷媒体上に印刷される印刷物の色を、プルーフ出力装置で再現するための基本プルーフ画像データを取得する工程と、
(b)前記印刷物におけるインクの滲み状態を表す滲みパラメーターを用いて前記基本プルーフ画像データに対して滲み付与処理を適用することによって、前記滲み状態を模擬した滲み付与プルーフ画像データを作成する工程と、
を含む方法。
続きを表示(約 1,600 文字)
【請求項2】
請求項1に記載の方法であって、更に、
(c)前記印刷媒体のテクスチャーを表すテクスチャー情報を用いて前記滲み付与プルーフ画像データに対してテクスチャー付与処理を適用することによって、前記テクスチャーを模擬したテクスチャー付与プルーフ画像データを作成する工程、を含む方法。
【請求項3】
請求項2に記載の方法であって、
前記滲みパラメーターは、滲み範囲を規定する滲み範囲パラメーターを含み、
前記工程(b)は、
(b1)前記基本プルーフ画像データで表される基本プルーフ画像のエッジを抽出する工程と、
(b2)前記エッジに隣接し前記滲み範囲に亘る滲み対象領域において、前記基本プルーフ画像データの画素値に滲みを付与する工程と、
を含む、方法。
【請求項4】
請求項3に記載の方法であって、
前記滲み付与処理は、前記テクスチャー情報に依存するテクスチャー依存モードを含み、
前記テクスチャー情報は、画素毎のテクスチャー値を含み、
前記テクスチャー依存モードに関する前記滲みパラメーターは、前記テクスチャー値と閾値との大小関係が第1大小関係と第2大小関係のいずれであるかに応じて、前記滲みを付与するか否かを示す滲み方向パラメーターを含み、
前記テクスチャー依存モードにおいて、前記工程(b2)は、前記滲み対象領域のうち、前記滲み方向パラメーターに応じて前記滲みを付与すると判定される画素について、前記基本プルーフ画像データの画素値に前記滲みを付与するように実行される、方法。
【請求項5】
請求項4に記載の方法であって、
前記滲み付与処理は、更に、前記テクスチャー情報に依存せず全画素を対象として滲みを付与するテクスチャー非依存モードを含み、
前記滲みパラメーターが、前記テクスチャー依存モードに関する第1パラメーターと、前記テクスチャー非依存モードに関する第2パラメーターと、を含むときに、
前記工程(b)は、前記第1パラメーターに従って前記工程(b1),(b2)を実行した後に、前記第2パラメーターに従って前記全画素に対してぼかしフィルター処理を適用する、方法。
【請求項6】
請求項1に記載の方法であって、
前記滲み付与処理は、全画素を対象として滲みを付与するモードを含み、
前記工程(b)は、前記基本プルーフ画像データで表される基本プルーフ画像の全画素に対してぼかしフィルター処理を適用する工程を含む、方法。
【請求項7】
プルーフ画像データ作成装置であって、
印刷機を用いて印刷媒体上に印刷される印刷物の色を、プルーフ出力装置で再現するための基本プルーフ画像データを取得する基本プルーフ画像取得部と、
前記印刷物におけるインクの滲み状態を表す滲みパラメーターを用いて前記基本プルーフ画像データに対して滲み付与処理を適用することによって、前記滲み状態を模擬した滲み付与プルーフ画像データを作成する滲み処理部と、
を備えるプルーフ画像データ作成装置。
【請求項8】
プルーフ画像データを作成するコンピュータープログラムであって、
(a)印刷機を用いて印刷媒体上に印刷される印刷物の色を、プルーフ出力装置で再現するための基本プルーフ画像データを取得する処理と、
(b)前記印刷物におけるインクの滲み状態を表す滲みパラメーターを用いて前記基本プルーフ画像データに対して滲み付与処理を適用することによって、前記滲み状態を模擬した滲み付与プルーフ画像データを作成する処理と、
をコンピューターに実行させるコンピュータープログラム。
発明の詳細な説明
【技術分野】
【0001】
本開示は、プルーフ画像データを作成する方法、プルーフ画像データ作成装置、および、コンピュータープログラムに関する。
続きを表示(約 2,400 文字)
【背景技術】
【0002】
特許文献1には、印刷物を校正するためのプルーフ画像を作成する方法が開示されている。この従来技術では、印刷媒体に100%濃度で印刷した印刷物の表面の2次元空間上の濃度分布に基づいて画像を補正することによって、プルーフ画像を作成する。
【先行技術文献】
【特許文献】
【0003】
特開平09-270930号公報
【発明の概要】
【発明が解決しようとする課題】
【0004】
しかしながら、本開示の発明者は、布地などの特定の印刷媒体に印刷した印刷物ではインクの滲みの影響が大きいため、プルーフ画像の作成時に滲みの影響を考慮すべきことを見出した。滲みは、印刷媒体上に着弾したインクが印刷媒体に染み込む前に、インクが広がったり、隣接する別のインクと混ざったり、印刷媒体の凹凸の影響を受けてインクが流れたりして生じる。そこで、印刷物の状態を忠実に再現するためには、滲みの影響をプルーフ画像データに反映することが望まれる。
【課題を解決するための手段】
【0005】
本開示の第1の形態によれば、プルーフ画像データを作成する方法が提供される。この方法は、(a)印刷機を用いて印刷媒体上に印刷される印刷物の色を、プルーフ出力装置で再現するための基本プルーフ画像データを取得する工程と、(b)前記印刷物におけるインクの滲み状態を表す滲みパラメーターを用いて前記基本プルーフ画像データに対して滲み付与処理を適用することによって、前記滲み状態を模擬した滲み付与プルーフ画像データを作成する工程と、を含む。
【0006】
本開示の第2の形態によれば、プルーフ画像データ作成装置が提供される。このプルーフ画像データ作成装置は、印刷機を用いて印刷媒体上に印刷される印刷物の色を、プルーフ出力装置で再現するための基本プルーフ画像データを取得する基本プルーフ画像取得部と、前記印刷物におけるインクの滲み状態を表す滲みパラメーターを用いて前記基本プルーフ画像データに対して滲み付与処理を適用することによって、前記滲み状態を模擬した滲み付与プルーフ画像データを作成する滲み処理部と、を備える。
【0007】
本開示の第3の形態によれば、プルーフ画像データを作成するコンピュータープログラムが提供される。このコンピュータープログラムは、(a)印刷機を用いて印刷媒体上に印刷される印刷物の色を、プルーフ出力装置で再現するための基本プルーフ画像データを取得する処理と、(b)前記印刷物におけるインクの滲み状態を表す滲みパラメーターを用いて前記基本プルーフ画像データに対して滲み付与処理を適用することによって、前記滲み状態を模擬した滲み付与プルーフ画像データを作成する処理と、をコンピューターに実行させる。
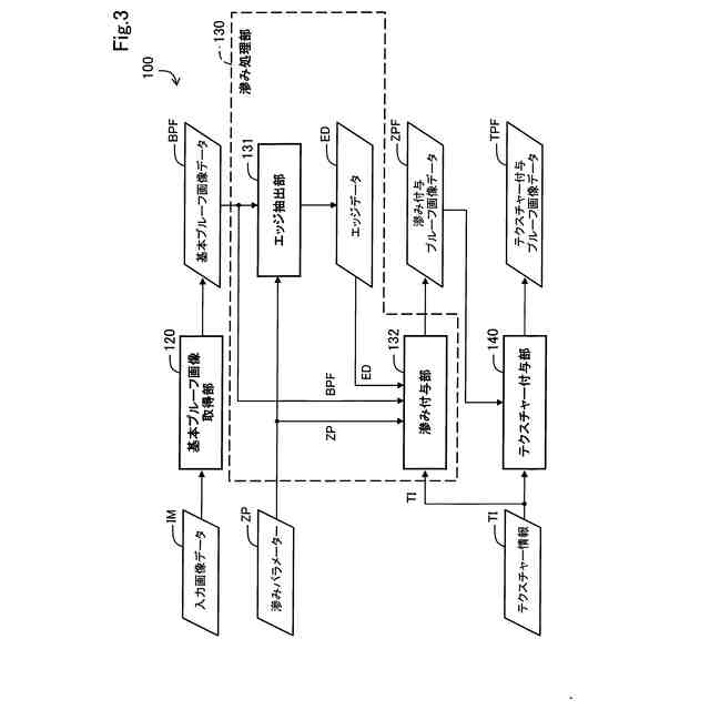
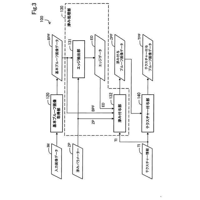
【図面の簡単な説明】
【0008】
印刷物の校正を行う印刷システムを示す説明図。
プルーフ画像データ作成装置の構成を示すブロック図。
プルーフ画像作成処理の流れを示す説明図。
基本プルーフ画像の例を示す説明図。
テクスチャー情報の例を示す説明図。
滲みパラメーター設定画面の例を示す説明図。
滲みモードM1による滲み付与処理の一例を示す説明図。
滲みモードM2による滲み付与処理の一例を示す説明図。
滲みモードM2による滲み付与処理の他の例を示す説明図。
滲みモードM2aによる滲み付与処理の例を示す説明図。
滲みモードM3による滲み付与処理の一例を示す説明図。
滲みモードM4による滲み付与処理の一例を示す説明図。
プルーフ画像データの作成処理の手順を示すフローチャート。
滲み付与処理の詳細手順を示すフローチャート。
【発明を実施するための形態】
【0009】
図1は、印刷物の校正を行う印刷システム500を示す説明図である。この印刷システム500は、入力画像データIMに従って印刷物PMの印刷を行う印刷機300と、入力画像データIMを用いてプルーフ画像データを作成するプルーフ画像データ作成装置100と、校正用印刷装置200とを備える。校正には、校正用印刷装置200を用いて校正刷りHPを印刷するハードプルーフと、プルーフ画像データに従って表示装置150にプルーフ画像SPを表示するソフトプルーフとがある。ハードプルーフでは、校正用印刷装置200が「プルーフ出力装置」に相当し、ソフトプルーフでは表示装置150が「プルーフ出力装置」に相当する。プルーフ出力装置から出力される画像を、「出力画像」とも呼ぶ。ハードプルーフでは校正刷りHPが「出力画像」に相当し、ソフトプルーフではプルーフ画像SPが「出力画像」に相当する。
【0010】
プルーフ画像データ作成装置100は、ハードプルーフとソフトプルーフのうちの少なくとも一方を実行可能に構成される。ハードプルーフでは、プルーフ画像データ作成装置100で作成されたプルーフ画像データに従って校正用印刷装置200が校正刷りHPを印刷する。校正用印刷装置200がインクジェットプリンターである場合には、プルーフ画像データ作成装置100は、プルーフ画像データに色変換処理やハーフトーン処理を適用して印刷用のドットデータを作成し、このドットデータを校正用印刷装置200に供給して校正刷りHPの印刷を実行させる。ソフトプルーフでは、プルーフ画像データ作成装置100で作成されたプルーフ画像データに従って表示装置150にプルーフ画像SPが表示される。本開示は、ハードプルーフとソフトプルーフのいずれにも適用可能である。
(【0011】以降は省略されています)
この特許をJ-PlatPat(特許庁公式サイト)で参照する
関連特許
セイコーエプソン株式会社
治療機器
11日前
セイコーエプソン株式会社
電子時計
19日前
セイコーエプソン株式会社
記録装置
11日前
セイコーエプソン株式会社
微細化装置
6日前
セイコーエプソン株式会社
半導体装置
19日前
セイコーエプソン株式会社
微細化装置
6日前
セイコーエプソン株式会社
画像記録装置
12日前
セイコーエプソン株式会社
流体デバイス
11日前
セイコーエプソン株式会社
液体吐出装置
今日
セイコーエプソン株式会社
シート製造装置
4日前
セイコーエプソン株式会社
ダイオード回路
19日前
セイコーエプソン株式会社
文字板及び時計
19日前
セイコーエプソン株式会社
シート製造装置
12日前
セイコーエプソン株式会社
フィルター装置
11日前
セイコーエプソン株式会社
シート製造装置
25日前
セイコーエプソン株式会社
時計用部品及び時計
4日前
セイコーエプソン株式会社
成形方法及び成形装置
4日前
セイコーエプソン株式会社
印刷装置、及び制御方法
4日前
セイコーエプソン株式会社
三次元造形物の製造方法
4日前
セイコーエプソン株式会社
電気光学装置および電子機器
4日前
セイコーエプソン株式会社
振動素子、振動子、及び発振器
5日前
セイコーエプソン株式会社
光源装置およびプロジェクター
11日前
セイコーエプソン株式会社
光源装置およびプロジェクター
11日前
セイコーエプソン株式会社
媒体搬送装置及び画像読取装置
5日前
セイコーエプソン株式会社
振動素子、振動子、及び発振器
12日前
セイコーエプソン株式会社
緩衝材および緩衝材の製造方法
11日前
セイコーエプソン株式会社
巻取装置、及び印刷巻取システム
5日前
セイコーエプソン株式会社
印刷装置及び印刷装置の制御方法
4日前
セイコーエプソン株式会社
記録装置、及びクリーニング装置
4日前
セイコーエプソン株式会社
液体吐出ヘッドおよび液体吐出装置
11日前
セイコーエプソン株式会社
液体吐出ヘッド、および液体吐出装置
11日前
セイコーエプソン株式会社
液体吐出ヘッド、および液体吐出装置
11日前
セイコーエプソン株式会社
時計用部品および時計用部品の製造方法
11日前
セイコーエプソン株式会社
触媒構造体および触媒構造体の製造方法
11日前
セイコーエプソン株式会社
流体デバイスの駆動方法、及び流体デバイス
今日
セイコーエプソン株式会社
容器供給装置、容器供給方法および蓋閉め装置
4日前
続きを見る
他の特許を見る