TOP
|
特許
|
意匠
|
商標
特許ウォッチ
Twitter
他の特許を見る
公開番号
2025176832
公報種別
公開特許公報(A)
公開日
2025-12-05
出願番号
2024083182
出願日
2024-05-22
発明の名称
粒子被覆膜厚記録ユニット、粒子被覆装置および粒子被覆膜厚管理方法
出願人
セイコーエプソン株式会社
代理人
個人
,
個人
,
個人
主分類
C23C
16/52 20060101AFI20251128BHJP(金属質材料への被覆;金属質材料による材料への被覆;化学的表面処理;金属質材料の拡散処理;真空蒸着,スパッタリング,イオン注入法,または化学蒸着による被覆一般;金属質材料の防食または鉱皮の抑制一般)
要約
【課題】粒子の表面に成膜される被膜の膜厚のバラつきを記録可能な粒子被覆膜厚記録ユニットおよび粒子被覆装置、ならびに、粒子被覆膜厚測定ユニットで記録された被膜の膜厚に基づいて、被膜の膜厚のバラつきを管理可能な粒子被覆膜厚管理方法を提供すること。
【解決手段】粒子に原子層堆積法で被膜を成膜する成膜チャンバー内に配置され、被膜の膜厚を記録するのに用いられる粒子被覆膜厚記録ユニットであって、多孔質構造体が収容される凹状の第1収容部を有する容器と、前記多孔質構造体よりも前記第1収容部の底面側に配置され、原子層堆積法において前記多孔質構造体を浸透した原料ガスおよび酸化剤による被膜の成膜に供される深層膜厚記録部と、前記第1収容部の外側に配置され、被膜の成膜に供される表層膜厚記録部と、を備えることを特徴とする粒子被覆膜厚記録ユニット。
【選択図】図3
特許請求の範囲
【請求項1】
粒子に原子層堆積法で被膜を成膜する成膜チャンバー内に配置され、被膜の膜厚を記録するのに用いられる粒子被覆膜厚記録ユニットであって、
多孔質構造体が収容される凹状の第1収容部を有する容器と、
前記多孔質構造体よりも前記第1収容部の底面側に配置され、原子層堆積法において前記多孔質構造体を浸透した原料ガスおよび酸化剤による被膜の成膜に供される深層膜厚記録部と、
前記第1収容部の外側に配置され、被膜の成膜に供される表層膜厚記録部と、
を備えることを特徴とする粒子被覆膜厚記録ユニット。
続きを表示(約 750 文字)
【請求項2】
前記多孔質構造体は、前記粒子が敷き詰められてなる粉末層である請求項1に記載の粒子被覆膜厚記録ユニット。
【請求項3】
前記深層膜厚記録部および前記表層膜厚記録部は、平坦面を有する基材を有する請求項2に記載の粒子被覆膜厚記録ユニット。
【請求項4】
前記基材の構成材料は、シリコンを含む請求項3に記載の粒子被覆膜厚記録ユニット。
【請求項5】
前記粉末層のうち、前記底面側の面を裏面とし、前記底面側とは反対側の面を表面とするとき、
前記深層膜厚記録部は、前記粉末層の前記裏面に接する位置に配置され、
前記表層膜厚記録部は、前記粉末層の前記表面と同一平面内に配置される請求項2ないし4のいずれか1項に記載の粒子被覆膜厚記録ユニット。
【請求項6】
前記多孔質構造体は、三次元連通孔を有するフィルターである請求項1に記載の粒子被覆膜厚記録ユニット。
【請求項7】
前記フィルターの構成材料は、金属材料である請求項6に記載の粒子被覆膜厚記録ユニット。
【請求項8】
前記深層膜厚記録部および前記表層膜厚記録部は、QCMセンサー素子を有する請求項6または7に記載の粒子被覆膜厚記録ユニット。
【請求項9】
前記フィルターをさらに備える請求項6または7に記載の粒子被覆膜厚記録ユニット。
【請求項10】
前記容器は、前記第1収容部の開口と同一平面内に開口を持ち、凹状をなす第2収容部を有し、
前記表層膜厚記録部は、前記第2収容部に収容されている請求項2または6に記載の粒子被覆膜厚記録ユニット。
(【請求項11】以降は省略されています)
発明の詳細な説明
【技術分野】
【0001】
本発明は、粒子被覆膜厚記録ユニット、粒子被覆装置および粒子被覆膜厚管理方法に関するものである。
続きを表示(約 1,500 文字)
【背景技術】
【0002】
インダクター等に用いられる磁性粉末では、粒子表面に絶縁処理を施し、粒子間に流れる渦電流を抑制したり、端子間を絶縁したりする必要がある。このため、各種成膜法を用いて、磁性粉末の粒子表面に絶縁被膜を形成する方法が検討されている。
【0003】
例えば、特許文献1には、化学気相成膜法の一種である原子層堆積法(ALD : Atomic Layer Deposition)により、軟磁性金属粒子の表面に絶縁膜を形成する粒子被覆装置が開示されている。原子層堆積法によれば、膜厚が薄く、かつ、均一な絶縁膜を形成することができる。
【先行技術文献】
【特許文献】
【0004】
特開2021-085050号公報
【発明の概要】
【発明が解決しようとする課題】
【0005】
特許文献1に記載の粒子被覆装置では、軟磁性金属粒子をトレーに入れて被膜を形成する。トレーは、軟磁性金属粒子を層状に広げた状態で保持する。原子層堆積法では、原料や酸化剤が粒子間の隙間に浸透し、被膜を形成する。
【0006】
しかし、軟磁性金属粒子の層のうち、表面部分とトレーの底に位置する部分とでは、被膜の膜厚に差が生じる。この差が大きくなると、膜厚のバラつきが大きくなるため、被膜の膜厚が不足して、絶縁不良等が生じたり、被膜の膜厚が過剰になって、軟磁性金属粒子の占積率が低下したりすることが懸念される。
【0007】
そこで、被膜の膜厚のバラつきを管理する方法や、膜厚のバラつきを記録する手段等が求められている。
【課題を解決するための手段】
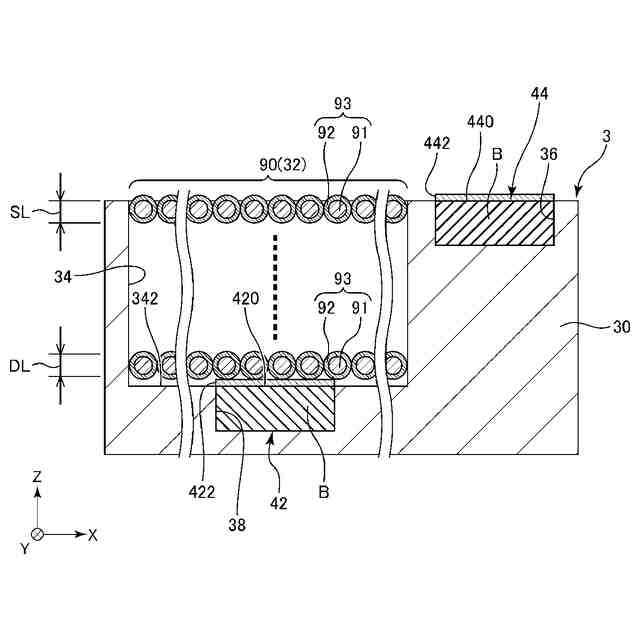
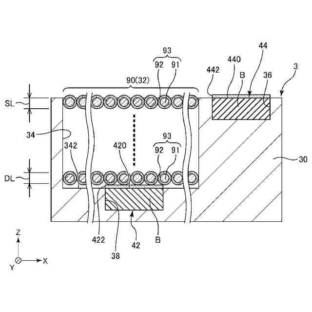
【0008】
本発明の適用例に係る粒子被覆膜厚記録ユニットは、
粒子に原子層堆積法で被膜を成膜する成膜チャンバー内に配置され、被膜の膜厚を記録するのに用いられる粒子被覆膜厚記録ユニットであって、
多孔質構造体が収容される凹状の第1収容部を有する容器と、
前記多孔質構造体よりも前記第1収容部の底面側に配置され、原子層堆積法において前記多孔質構造体を浸透した原料ガスおよび酸化剤による被膜の成膜に供される深層膜厚記録部と、
前記第1収容部の外側に配置され、被膜の成膜に供される表層膜厚記録部と、
を備える。
【0009】
本発明の適用例に係る粒子被覆装置は、
粒子の表面に原子層堆積法で被膜を成膜する粒子被覆装置であって、
前記粒子を収容する成膜チャンバーと、
前記成膜チャンバー内に設けられる本発明の適用例に係る粒子被覆膜厚記録ユニットと、
前記成膜チャンバー内に原料ガスを供給する原料ガス供給部と、
前記成膜チャンバー内に酸化剤を供給する酸化剤供給部と、
を備える。
【0010】
本発明の適用例に係る粒子被覆膜厚管理方法は、
成膜チャンバー内に収容された粒子の表面に原子層堆積法で成膜される被膜の膜厚を管理する方法であって、
本発明の適用例に係る粒子被覆膜厚記録ユニットおよび前記粒子を前記成膜チャンバー内に配置するステップと、
原子層堆積法により、被膜を成膜するステップと、
前記多孔質構造体を浸透した前記原料ガスおよび前記酸化剤によって前記深層膜厚記録部に成膜された被膜の膜厚、および、前記表層膜厚記録部に成膜された被膜の膜厚を測定するステップと、
を有する。
【図面の簡単な説明】
(【0011】以降は省略されています)
この特許をJ-PlatPat(特許庁公式サイト)で参照する
関連特許
個人
フッ素樹脂塗装鋼板の保管方法
4か月前
株式会社カネカ
製膜装置
2か月前
株式会社カネカ
製膜装置
2か月前
株式会社京都マテリアルズ
めっき部材
2か月前
トヨタ自動車株式会社
治具
1か月前
株式会社オプトラン
蒸着装置
7か月前
株式会社KSマテリアル
防錆組成物
5か月前
株式会社三愛工業所
アルミニウム材
7か月前
日本化学産業株式会社
複合めっき皮膜
4か月前
エドワーズ株式会社
真空排気システム
2か月前
台灣晶技股ふん有限公司
無電解めっき法
3か月前
日東電工株式会社
積層体の製造方法
6か月前
東京エレクトロン株式会社
成膜方法
2か月前
株式会社カネカ
気化装置及び製膜装置
2か月前
JFEスチール株式会社
鋼部品
4か月前
東京エレクトロン株式会社
基板処理装置
8か月前
株式会社アルバック
マスクユニット
2か月前
TOTO株式会社
構造部材
2か月前
住友重機械工業株式会社
成膜装置
5か月前
株式会社内村
防食具、防食具の設置方法
3か月前
信越半導体株式会社
真空蒸着方法
7か月前
東京エレクトロン株式会社
基板処理装置
7か月前
東京エレクトロン株式会社
基板処理装置
6か月前
DOWAサーモテック株式会社
浸炭方法
7か月前
住友重機械工業株式会社
成膜装置
6か月前
株式会社アルバック
基板ステージ装置
2か月前
黒崎播磨株式会社
溶射装置
2か月前
株式会社デンソー
接合体
2か月前
フジタ技研株式会社
被覆部材、及び、表面被覆金型
2か月前
日本コーティングセンター株式会社
炭化ホウ素被膜
2か月前
国立大学法人千葉大学
成膜装置及び成膜方法
3か月前
黒崎播磨株式会社
溶射用ランス
6か月前
ケニックス株式会社
蒸発源装置
3か月前
株式会社アルバック
成膜装置、および搬送方法
4か月前
信越化学工業株式会社
炭化金属被覆材料
20日前
川崎重工業株式会社
水素遮蔽膜
3か月前
続きを見る
他の特許を見る