TOP
|
特許
|
意匠
|
商標
特許ウォッチ
Twitter
他の特許を見る
10個以上の画像は省略されています。
公開番号
2025178286
公報種別
公開特許公報(A)
公開日
2025-12-05
出願番号
2025151359,2024163296
出願日
2025-09-11,2020-07-15
発明の名称
記録装置
出願人
セイコーエプソン株式会社
代理人
個人
,
個人
,
個人
主分類
B65H
31/00 20060101AFI20251128BHJP(運搬;包装;貯蔵;薄板状または線条材料の取扱い)
要約
【課題】ユーザビリティを向上させる為に、より視認性良好に、シートの排出に係わるステータスを示す。
【解決手段】媒体排出装置は、媒体を排出する媒体排出部と、媒体排出部により排出される媒体を受ける媒体受けトレイと、を備え、媒体受けトレイは、媒体排出部を備える装置本体に収納された第1状態と、装置本体から最も突出する第2状態とを切り換え可能であり、媒体排出部より媒体排出方向下流の位置には、媒体受けトレイに向けて光を発する発光部が設けられ、発光部を制御する制御部は、媒体受けトレイの状態または動作に応じて発光部を制御する。
【選択図】図9
特許請求の範囲
【請求項1】
媒体を排出する媒体排出部と、
前記媒体排出部により排出される媒体を受ける媒体受けトレイと、を備え、
前記媒体受けトレイは、前記媒体排出部を備える装置本体に収納された第1状態と、前記装置本体から最も突出する第2状態とを切り換え可能であり、
前記媒体排出部より媒体排出方向下流の位置かつ前記媒体受けトレイの上方の位置に、発光部が設けられ、
前記発光部を制御する制御部は、前記媒体受けトレイの前記第1状態からの状態切り換えに応じて前記発光部の発光状態を変化させ、
前記媒体受けトレイは、前記制御部により制御されるモーターの動力によって前記第1状態と前記第2状態との間で状態切り換えが可能であり、
前記制御部は、前記第1状態にある前記媒体受けトレイを前記装置本体から突出させる際、前記発光部を発光させる、
ことを特徴とする媒体排出装置。
続きを表示(約 2,300 文字)
【請求項2】
媒体を排出する媒体排出部と、
前記媒体排出部により排出される媒体を受ける媒体受けトレイと、を備え、
前記媒体受けトレイは、前記媒体排出部を備える装置本体に収納された第1状態と、前記装置本体から最も突出する第2状態とを切り換え可能であり、
前記媒体排出部より媒体排出方向下流の位置かつ前記媒体受けトレイの上方の位置に、発光部が設けられ、
前記発光部を制御する制御部は、前記媒体受けトレイの前記第1状態からの状態切り換えに応じて前記発光部の発光状態を変化させ、
前記媒体受けトレイは、前記制御部により制御されるモーターの動力によって前記第1状態と前記第2状態との間で状態切り換えが可能であり、
前記制御部は、前記モーターを所定量駆動しても前記媒体受けトレイが目標状態に切り換わらない場合、前記発光部の発光状態を変化させる、
ことを特徴とする媒体排出装置。
【請求項3】
請求項1または請求項2に記載の媒体排出装置において、前記制御部は、前記発光部が発光している状態で電力消費を抑制する省電力モードへ移行する場合、前記媒体受けトレイが前記第1状態を解除して前記装置本体から突出していると、前記発光部を消灯させる、
ことを特徴とする媒体排出装置。
【請求項4】
請求項1から請求項3のいずれか一項に記載の媒体排出装置において、前記制御部は、前記媒体受けトレイが前記第1状態を解除して前記装置本体から突出しているとともに前記発光部が発光している状態で電源OFF状態に移行する際、前記発光部を消灯させる、
ことを特徴とする媒体排出装置。
【請求項5】
媒体に記録を行う記録部と、
前記記録部により記録が行われた媒体を排出する、請求項1から請求項4のいずれか一項に記載の前記媒体排出装置と、
を備えた記録装置。
【請求項6】
媒体に記録を行う記録部と、
前記記録部により記録の行われた媒体を排出する媒体排出部と、
前記媒体排出部により排出される媒体を受ける媒体受けトレイと、を備え、
前記媒体受けトレイは、前記媒体排出部を備える装置本体に収納された第1状態と、前記装置本体から最も突出する第2状態とを切り換え可能であり、
前記媒体排出部より媒体排出方向下流の位置かつ前記媒体受けトレイの上方の位置に、発光部が設けられ、
前記媒体受けトレイは、モーターの動力によって前記第1状態と前記第2状態との間で状態切り換えが可能であり、
前記発光部を制御する制御部は、前記媒体受けトレイが前記第1状態にあって前記発光部が消灯している際に記録開始の指示を受けると、前記媒体受けトレイを前記装置本体から突出させる為の前記モーターの制御に対応して前記発光部を発光させる、
ことを特徴とする記録装置。
【請求項7】
媒体に記録を行う記録部と、
前記記録部により記録の行われた媒体を排出する媒体排出部と、
前記媒体排出部により排出される媒体を受ける媒体受けトレイと、を備え、
前記媒体受けトレイは、前記媒体排出部を備える装置本体に収納された第1状態と、前記装置本体から最も突出する第2状態とを切り換え可能であり、
前記媒体排出部より媒体排出方向下流の位置かつ前記媒体受けトレイの上方の位置に、発光部が設けられ、
前記発光部を制御する制御部は、前記媒体受けトレイが少なくとも前記第1状態にあるかを検出可能であるとともに、前記媒体受けトレイが前記第1状態にあって前記発光部が消灯している際に記録開始の指示を受けると、前記発光部を発光させず、前記媒体受けトレイが前記第1状態以外の状態にあって前記発光部が消灯している際に記録開始の指示を受けると、前記発光部を発光させる、
ことを特徴とする記録装置。
【請求項8】
請求項7に記載の記録装置において、前記制御部は、前記第1状態にある前記媒体受けトレイが前記第1状態を解除した場合、前記発光部を発光させる、
ことを特徴とする記録装置。
【請求項9】
媒体に記録を行う記録部と、
前記記録部により記録の行われた媒体を排出する媒体排出部と、
前記媒体排出部により排出される媒体を受ける媒体受けトレイと、
を備え、
前記媒体受けトレイは、前記媒体排出部を備える装置本体に収納された第1状態と、前記装置本体から最も突出する第2状態とを切り換え可能であり、
前記媒体排出部より媒体排出方向下流の位置かつ前記媒体受けトレイの上方の位置に、発光部が設けられ、
前記発光部を制御する制御部は、前記媒体受けトレイが少なくとも前記第1状態にあるかを検出可能であるとともに、前記媒体受けトレイが前記第1状態にあって前記発光部が消灯している際に記録開始の指示を受けると、前記発光部を発光させず、かつ記録動作の開始を保留する、
ことを特徴とする記録装置。
【請求項10】
請求項9に記載の記録装置において、
前記制御部は、前記第1状態にある前記媒体受けトレイが前記第1状態を解除した場合、前記発光部を発光させ、かつ前記記録動作を開始する、
ことを特徴とする記録装置。
(【請求項11】以降は省略されています)
発明の詳細な説明
【技術分野】
【0001】
本発明は、媒体を排出する媒体排出装置、及びこれを備えた記録装置に関する。
続きを表示(約 2,500 文字)
【背景技術】
【0002】
媒体を排出する排出機構においては、装置の筐体に、媒体を排出する排出空間を設けるとともに、排出空間内が暗くて視認性が悪いことに鑑み、特許文献1に示される様に排出空間内を照らすランプを設ける構成が知られている。
特許文献1記載の構成によれば、トレイ上に媒体の一例である用紙が排出されると排紙空間の天井に設けられたランプが点灯する。これにより、排出された用紙の確認や取り出しが容易となり、また、用紙が排出されたことに容易に気付くことができる。
また特許文献2には、排出されるシートを受ける排出トレイが、モーターの動力により展開位置と収納位置との間を移動する構成が開示されている。
【先行技術文献】
【特許文献】
【0003】
特開平08-339107号公報
特開2018-016480号公報
【発明の概要】
【発明が解決しようとする課題】
【0004】
特許文献2記載の構成では、排出トレイが収納位置にある状態で記録命令が発せられると、排出ローラーが回転し、排出ローラーの回転が排出トレイに伝達されて、排出トレイが収納位置から展開位置に移動する様に構成されている。従って排出トレイの展開動作は、ユーザーからすればシートが排出される予兆であると認識することができる。更に言えば、排出トレイの動作はシートの排出に係わるステータスを示す手段として機能すると言える。
しかしながらユーザビリティを向上させる観点では、より視認性良好に、シートの排出に係わるステータスを示すことが好ましいと言える。
【課題を解決するための手段】
【0005】
上記課題を解決するための、本発明の媒体排出装置は、媒体を排出する媒体排出部と、前記媒体排出部により排出される媒体を受ける媒体受けトレイと、を備え、前記媒体受けトレイは、前記媒体排出部を備える装置本体に収納された第1状態と、前記装置本体から最も突出する第2状態とを切り換え可能であり、前記媒体排出部より媒体排出方向下流の位置には、前記媒体受けトレイに向けて光を発する発光部が設けられ、前記発光部を制御する制御部は、前記媒体受けトレイの状態または動作に応じて前記発光部を制御することを特徴とする。
【0006】
また本発明の記録装置は、媒体に記録を行う記録部と、前記記録部により記録の行われた媒体を排出する媒体排出部と、前記媒体排出部により排出される媒体を受ける媒体受けトレイと、を備え、前記媒体受けトレイは、前記媒体排出部を備える装置本体に収納された第1状態と、前記装置本体から最も突出する第2状態とを切り換え可能であり、前記媒体排出部より媒体排出方向下流の位置には、前記媒体受けトレイに向けて光を発する発光部が設けられ、前記媒体受けトレイは、モーターの動力によって前記第1状態と前記第2状態との間で状態切り換えが可能であり、前記発光部を制御する制御部は、前記媒体受けトレイが前記第1状態にあって前記発光部が消灯している際に記録開始の指示を受けると、前記媒体受けトレイを前記装置本体から突出させる為の前記モーターの制御に対応して前記発光部を発光させることを特徴とする。
【0007】
また本発明の記録装置は、媒体に記録を行う記録部と、前記記録部により記録の行われた媒体を排出する媒体排出部と、前記媒体排出部により排出される媒体を受ける媒体受けトレイと、を備え、前記媒体受けトレイは、前記媒体排出部を備える装置本体に収納された第1状態と、前記装置本体から最も突出する第2状態とを切り換え可能であり、前記媒体排出部より媒体排出方向下流の位置には、前記媒体受けトレイに向けて光を発する発光部が設けられ、前記発光部を制御する制御部は、前記媒体受けトレイが少なくとも前記第1状態にあるかを検出可能であるとともに、前記媒体受けトレイが前記第1状態にあって前記発光部が消灯している際に記録開始の指示を受けると、前記発光部を発光させず、前記媒体受けトレイが前記第1状態以外の状態にあって前記発光部が消灯している際に記録開始の指示を受けると、前記発光部を発光させることを特徴とする。
【図面の簡単な説明】
【0008】
用紙受けトレイを第1状態としたプリンターの斜視図。
用紙受けトレイを第3状態としたプリンターの斜視図。
用紙受けトレイを第2状態としたプリンターの斜視図。
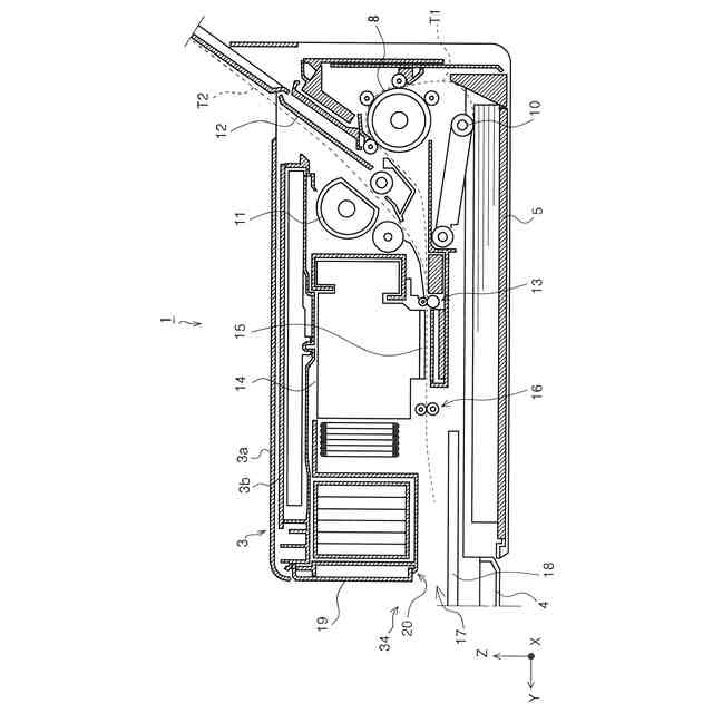
プリンターの用紙搬送経路を示す図。
プリンターの制御系統を示すブロック図。
前面カバーを取り外し、基板を露出させた状態のプリンター前面の部分拡大斜視図。
発光部による照射範囲を用紙排出方向から見た図。
発光部による照射範囲を用紙幅方向から見た図。
発光部の制御を示すフローチャート。
【発明を実施するための形態】
【0009】
以下、本発明を概略的に説明する。
第1の態様に係る媒体排出装置は、媒体を排出する媒体排出部と、前記媒体排出部により排出される媒体を受ける媒体受けトレイと、を備え、前記媒体受けトレイは、前記媒体排出部を備える装置本体に収納された第1状態と、前記装置本体から最も突出する第2状態とを切り換え可能であり、前記媒体排出部より媒体排出方向下流の位置には、前記媒体受けトレイに向けて光を発する発光部が設けられ、前記発光部を制御する制御部は、前記媒体受けトレイの状態または動作に応じて前記発光部を制御することを特徴とする。
【0010】
本態様によれば、前記発光部を制御する制御部は、前記媒体受けトレイの状態または動作に応じて前記発光部を制御するので、媒体の排出に係わるステータスを視認性良好に示すことができ、ユーザビリティを向上させることができる。
(【0011】以降は省略されています)
この特許をJ-PlatPat(特許庁公式サイト)で参照する
関連特許
個人
収容箱
4か月前
個人
束ね具
28日前
個人
コンベア
6か月前
個人
段ボール箱
8か月前
個人
容器
10か月前
個人
ゴミ収集器
8か月前
個人
段ボール箱
8か月前
個人
角筒状構造体
7か月前
個人
土嚢運搬器具
9か月前
個人
楽ちんハンド
6か月前
個人
バンド
3か月前
個人
宅配システム
8か月前
個人
テープ引出機
28日前
個人
閉塞装置
11か月前
個人
棒状体収容容器
1か月前
個人
コード類収納具
9か月前
個人
包装容器
2か月前
個人
廃棄物収容容器
4か月前
個人
お薬の締結装置
7か月前
株式会社和気
包装用箱
10か月前
個人
積み重ね用補助具
4か月前
個人
蓋閉止構造
5か月前
株式会社コロナ
梱包材
7か月前
個人
蓋閉止構造
5か月前
株式会社バンダイ
物品
2か月前
株式会社和気
包装用箱
1か月前
個人
把手付米袋
6か月前
個人
貯蔵サイロ
8か月前
個人
ゴミ処理機
10か月前
株式会社KY7
封止装置
4か月前
三甲株式会社
蓋体
9か月前
株式会社ナベル
検査装置
1か月前
三甲株式会社
容器
7か月前
三甲株式会社
蓋体
10か月前
個人
袋入り即席麺
8か月前
三甲株式会社
容器
7か月前
続きを見る
他の特許を見る