TOP
|
特許
|
意匠
|
商標
特許ウォッチ
Twitter
他の特許を見る
10個以上の画像は省略されています。
公開番号
2025177442
公報種別
公開特許公報(A)
公開日
2025-12-05
出願番号
2024084284
出願日
2024-05-23
発明の名称
固定状態判定方法、固定状態判定装置および固定状態判定システム
出願人
セイコーエプソン株式会社
代理人
個人
,
個人
,
個人
主分類
G01P
21/00 20060101AFI20251128BHJP(測定;試験)
要約
【課題】計測対象物に対する加速度センサーユニットの固定状態を判定することのできる固定状態判定方法、固定状態判定装置および固定状態判定システムを提供すること。
【解決手段】固定状態判定方法は、計測対象物に固定される加速度センサーユニットの固定状態を判定する固定状態判定方法であって、前記加速度センサーユニットは、各検出軸を第1方向に沿って互いに反対側に向けた姿勢で前記第1方向に並んで配置され、共に前記第1方向の加速度を検出する一対の第1加速度センサーを備え、同時刻における各前記第1加速度センサーの出力信号を加算した第1加算値から第1対象値を決定し、前記第1対象値と予め設定される第1判定基準値とを比較することにより前記固定状態を判定する。
【選択図】図9
特許請求の範囲
【請求項1】
計測対象物に固定される加速度センサーユニットの固定状態を判定する固定状態判定方法であって、
前記加速度センサーユニットは、各検出軸を第1方向に沿って互いに反対側に向けた姿勢で前記第1方向に並んで配置され、共に前記第1方向の加速度を検出する一対の第1加速度センサーを備え、
同時刻における各前記第1加速度センサーの出力信号を加算した第1加算値から第1対象値を決定し、
前記第1対象値と予め設定される第1判定基準値とを比較することにより前記固定状態を判定することを特徴とする固定状態判定方法。
続きを表示(約 1,100 文字)
【請求項2】
前記第1加算値を連続して取得して前記第1加算値の時間変化を示す第1時系列データを生成し、
前記第1時系列データの振幅を前記第1対象値として決定する請求項1に記載の固定状態判定方法。
【請求項3】
前記第1対象値として、前記振幅の実効値を用いる請求項2に記載の固定状態判定方法。
【請求項4】
前記第1対象値として、前記振幅の波高値を用いる請求項2に記載の固定状態判定方法。
【請求項5】
前記第1加算値を連続して取得して前記第1加算値の時間変化を示す第1時系列データを生成し、
前記第1時系列データに対する周波数スペクトル解析により得られる加速度スペクトル密度から前記第1対象値を決定する請求項1に記載の固定状態判定方法。
【請求項6】
前記加速度スペクトル密度における複数の周波数帯毎に前記第1判定基準値を設定し、
前記周波数帯毎に前記加速度スペクトル密度と前記第1判定基準値とを比較する請求項5に記載の固定状態判定方法。
【請求項7】
前記第1判定基準値は、前記第1時系列データに含まれるノイズ成分に基づいて設定される請求項2ないし6のいずれか1項に記載の固定状態判定方法。
【請求項8】
前記第1対象値が前記第1判定基準値以上の場合に、前記固定状態が異常であると判定する請求項1ないし6のいずれか1項に記載の固定状態判定方法。
【請求項9】
前記加速度センサーユニットは、各検出軸を前記第1方向に直交する第2方向に沿って互いに反対側に向けた姿勢で前記第2方向に並んで配置され、共に前記第2方向の加速度を検出する一対の第2加速度センサーを備え、
同時刻における各前記第2加速度センサーの出力信号を加算した第2加算値から第2対象値を決定し、
前記第2対象値と予め設定される第2判定基準値とを比較することにより前記固定状態を判定する請求項1ないし6のいずれか1項に記載の固定状態判定方法。
【請求項10】
前記加速度センサーユニットは、各検出軸を前記第1方向および前記第2方向に直交する第3方向に沿って互いに反対側に向けた姿勢で前記第3方向に並んで配置され、共に前記第3方向の加速度を検出する一対の第3加速度センサーを備え、
同時刻における各前記第3加速度センサーの出力信号を加算した第3加算値から第3対象値を決定し、
前記第3対象値と予め設定される第3判定基準値とを比較することにより前記固定状態を判定する請求項9に記載の固定状態判定方法。
(【請求項11】以降は省略されています)
発明の詳細な説明
【技術分野】
【0001】
本発明は、固定状態判定方法、固定状態判定装置および固定状態判定システムに関する。
続きを表示(約 2,100 文字)
【背景技術】
【0002】
特許文献1に記載されたセンサーユニットは、回路基板と、回路基板に実装されたX軸加速度センサー、Y軸加速度センサーおよびZ軸加速度センサーと、を有する。X軸加速度センサーは、X軸方向の加速度を検出する加速度センサーであり、Y軸加速度センサーは、Y軸方向の加速度を検出する加速度センサーであり、Z軸加速度センサーは、Z軸方向の加速度を検出する加速度センサーである。このようなセンサーユニットは、計測対象物に固定して用いられる。
【先行技術文献】
【特許文献】
【0003】
特開2019-184453号公報
【発明の概要】
【発明が解決しようとする課題】
【0004】
しかしながら、特許文献1のセンサーユニットでは、X軸加速度センサー、Y軸加速度センサーおよびZ軸加速度センサーがそれぞれ1個ずつしか配置されていない。そのため、センサーユニットからの出力信号に基づいて、センサーユニットに加わる回転運動を検出することができず、計測対象物に対するセンサーユニットの固定状態を判定することが難しい。
【課題を解決するための手段】
【0005】
本発明の固定状態判定方法は、計測対象物に固定される加速度センサーユニットの固定状態を判定する固定状態判定方法であって、
前記加速度センサーユニットは、各検出軸を第1方向に沿って互いに反対側に向けた姿勢で前記第1方向に並んで配置され、共に前記第1方向の加速度を検出する一対の第1加速度センサーを備え、
同時刻における各前記第1加速度センサーの出力信号を加算した第1加算値から第1対象値を決定し、
前記第1対象値と予め設定される第1判定基準値とを比較することにより前記固定状態を判定する。
【0006】
本発明の固定状態判定装置は、計測対象物に固定され、各検出軸を第1方向に沿って互いに反対側に向けた姿勢で前記第1方向に並んで配置され、共に前記第1方向の加速度を検出する一対の第1加速度センサーを備える加速度センサーユニットの固定状態を判定する固定状態判定装置であって、
前記一対の第1加速度センサーから出力信号を取得する外部インターフェースと、
同時刻における各前記第1加速度センサーの出力信号を加算した第1加算値から第1対象値を決定し、前記第1対象値と予め設定される第1判定基準値とを比較することにより前記固定状態を判定するプロセッサーと、を備える。
【0007】
本発明の固定状態判定システムは、計測対象物に固定され、各検出軸を第1方向に沿って互いに反対側に向けた姿勢で前記第1方向に並んで配置され、共に前記第1方向の加速度を検出する一対の第1加速度センサーを備える加速度センサーユニットと、
同時刻における各前記第1加速度センサーの出力信号を加算した第1加算値から第1対象値を決定し、前記第1対象値と予め設定される第1判定基準値とを比較することにより前記加速度センサーユニットの前記計測対象物に対する固定状態を判定する固定状態判定装置と、を有する。
【図面の簡単な説明】
【0008】
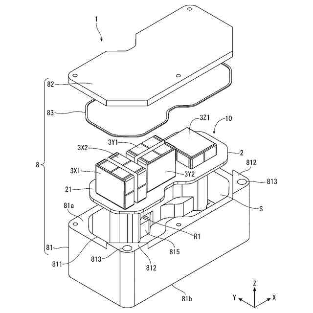
第1実施形態に係る固定状態判定システムの構成図である。
加速度センサーユニットの分解斜視図である。
加速度センサーユニットをY軸方向マイナス側から見た断面図である。
加速度センサーユニットをZ軸方向プラス側から見た断面図である。
ベースをZ軸方向プラス側から見た平面図である。
加速度センサーの平面図である。
加速度センサーが有する加速度センサー素子の分解斜視図である。
加速度センサーユニットを計測対象物に取り付けた状態を示す図である。
固定状態判定方法の一例を示すフローチャートである。
出力信号の一例を示す図である。
周波数スペクトル解析の結果の一例を示す図である。
【発明を実施するための形態】
【0009】
以下、本発明の固定状態判定方法、固定状態判定装置および固定状態判定システムを添付図面に示す実施形態に基づいて詳細に説明する。
【0010】
<第1実施形態>
図1は、第1実施形態に係る固定状態判定システムの構成図である。図2は、加速度センサーユニットの分解斜視図である。図3は、加速度センサーユニットをY軸方向マイナス側から見た断面図である。図4は、加速度センサーユニットをZ軸方向プラス側から見た断面図である。図5は、ベースをZ軸方向プラス側から見た平面図である。図6は、加速度センサーの平面図である。図7は、加速度センサーが有する加速度センサー素子の分解斜視図である。図8は、加速度センサーユニットを計測対象物に取り付けた状態を示す図である。図9は、固定状態判定方法の一例を示すフローチャートである。図10は、出力信号の一例を示す図である。図11は、周波数スペクトル解析の結果の一例を示す図である。
(【0011】以降は省略されています)
この特許をJ-PlatPat(特許庁公式サイト)で参照する
関連特許
セイコーエプソン株式会社
流体デバイスの駆動方法、及び流体デバイス
今日
個人
視触覚センサ
4日前
個人
採尿及び採便具
1か月前
日本精機株式会社
検出装置
1か月前
個人
計量機能付き容器
29日前
愛知電機株式会社
外観検査装置
今日
株式会社カクマル
境界杭
19日前
愛知電機株式会社
外観検査方法
今日
株式会社ミツトヨ
測定器
1か月前
甲神電機株式会社
電流検出装置
1か月前
日本精機株式会社
発光表示装置
12日前
ユニパルス株式会社
トルク変換器
4日前
ユニパルス株式会社
トルク変換器
4日前
株式会社トプコン
測量装置
11日前
ユニパルス株式会社
トルク変換器
4日前
大成建設株式会社
風洞実験装置
29日前
個人
計量具及び計量機能付き容器
29日前
双庸電子株式会社
誤配線検査装置
1か月前
大和製衡株式会社
組合せ計量装置
1か月前
個人
非接触による電磁パルスの測定方法
1か月前
大和製衡株式会社
組合せ計量装置
1か月前
日本特殊陶業株式会社
ガスセンサ
27日前
日本特殊陶業株式会社
ガスセンサ
5日前
日本特殊陶業株式会社
ガスセンサ
4日前
日本信号株式会社
距離画像センサ
1か月前
愛知電機株式会社
軸部材の外観検査装置
1か月前
愛知時計電機株式会社
ガスメータ
1か月前
日本特殊陶業株式会社
ガスセンサ
11日前
個人
液位検視及び品質監視システム
27日前
日本特殊陶業株式会社
センサ
1か月前
日本特殊陶業株式会社
センサ
13日前
日置電機株式会社
絶縁抵抗測定装置
4日前
キーコム株式会社
画像作成システム
19日前
株式会社不二越
X線測定装置
1か月前
日東精工株式会社
振動波形検査装置
1か月前
株式会社タイガーカワシマ
揚穀装置
11日前
続きを見る
他の特許を見る