TOP
|
特許
|
意匠
|
商標
特許ウォッチ
Twitter
他の特許を見る
10個以上の画像は省略されています。
公開番号
2025172584
公報種別
公開特許公報(A)
公開日
2025-11-26
出願番号
2024078172
出願日
2024-05-13
発明の名称
Uターン押出収納器
出願人
個人
代理人
個人
主分類
B65G
47/34 20060101AFI20251118BHJP(運搬;包装;貯蔵;薄板状または線条材料の取扱い)
要約
【課題】カーブ路部における商品の進路である進入方向からカーブ方向を辿って排出方向に向かうUターン移動を円滑に行う。
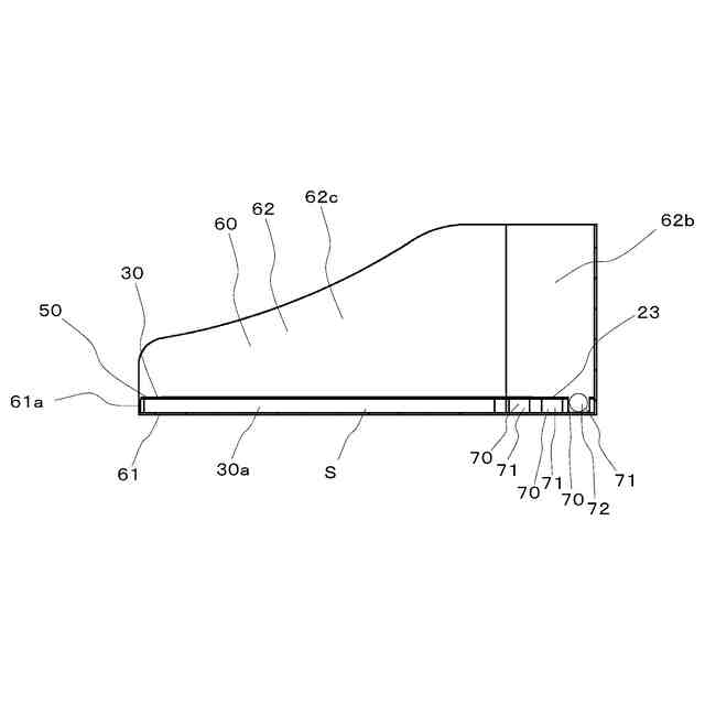
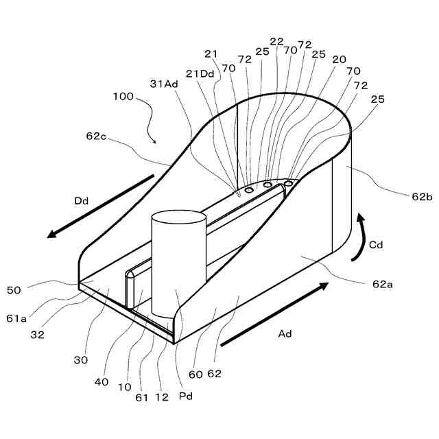
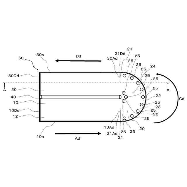
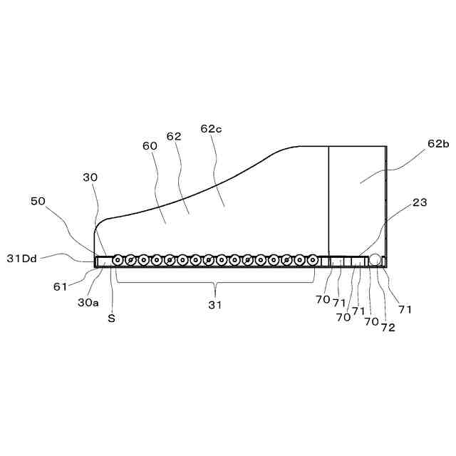
【解決手段】Uターン押出収納器100は、Uターン押出収納板50と、カバー部材60とを備えており、Uターン押出収納板50はカバー部材60の底面パネル部61に対して載置するものであり、Uターン押出収納板50は、カーブ路部20の内側カーブ路22と外側カーブ路に夫々複数の孔部25を設けており、カバー部材60の底面パネル部61は、Uターン押出収納板50を載置した際に発生する空間内に、且つ複数の孔部25と対向する位置に対して、夫々回動補助部70を設けており、回動補助部70は、Uターン押出収納板50を支持する保持器と、保持器内部に収納し、且つUターン押出収納板50の複数の孔部25から一部分が突出する球状のメイン転動球72とを設けている。
【選択図】図1
特許請求の範囲
【請求項1】
瓶又は缶等の商品の進路が進入方向に沿って商品進入口から直進するように設けた進入側直進路部と、
前記進入側直進路部の進入方向端部と連結して前記商品の進路がカーブ方向に沿ってUターンするように設けたカーブ路部と、
前記カーブ路部の排出方向端部と連結して前記進入側直進路部と並列して前記商品の進路が排出方向に沿って商品排出口に直進するように設けた排出側直進路部と、
前記進入側直進路部と前記排出側直進路部との間に仕切板を設けたUターン押出収納板と、
前記Uターン押出収納板を底面パネル部に対して載置した状態で、前記Uターン押出収納板の前記進入方向、前記カーブ方向及び前記排出方向に沿って、且つ前記進入側直進路部、前記カーブ路部、及び前記排出側直進路部を囲むように、前記底面パネル部から側面パネル部が起立したカバー部材とを備えており、
前記Uターン押出収納板は、前記カーブ路部の内側カーブ路と外側カーブ路に対して夫々複数の孔部を設けており、
前記底面パネル部は、前記Uターン押出収納板を載置した際に前記Uターン押出収納板と前記底面パネル部の間に発生する空間内に、且つ前記複数の孔部と対向する位置に対して、夫々回動補助部を設けており、
前記回動補助部は、前記Uターン押出収納板を下方側から支持する保持器と、前記保持器内部に収納し、且つ前記Uターン押出収納板の前記複数の孔部から一部分が突出する球状のメイン転動球とを設けたことを特徴とするUターン押出収納器。
続きを表示(約 780 文字)
【請求項2】
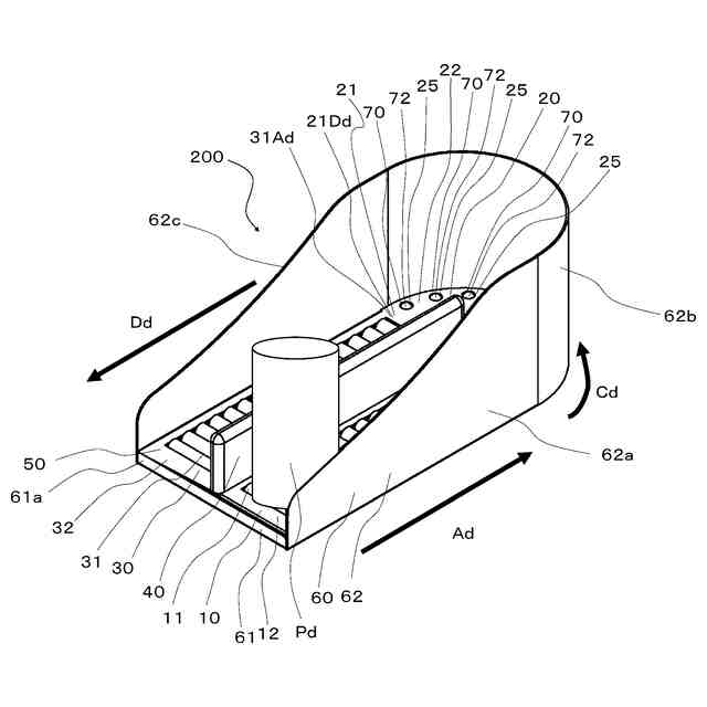
前記進入側直進路部は、前記進入方向に向かって複数のローラーを並べた進入側直進路部ローラー部を設けており、
前記排出側直進路部は、前記排出方向に向かって複数のローラーを並べた排出側直進路部ローラー部を設けたことを特徴とする請求項1に記載のUターン押出収納器。
【請求項3】
前記回動補助部は、前記メイン転動球の下方に配置され、且つ前記保持器内部で前記メイン転動球と接触することで前記メイン転動球の回動と連動して回動するように収納した球状のサブ転動球を設けたことを特徴とする請求項1又は2に記載のUターン押出収納器。
【請求項4】
前記サブ転動球は、前記保持器内部に複数個、収納したことを特徴とする請求項3に記載のUターン押出収納器。
【請求項5】
前記カーブ路部は、前記内側カーブ路と前記外側カーブ路の間の中央側カーブ路に対して、商品底部を支持するU字プレートを設けたことを特徴とする請求項1又は2に記載のUターン押出収納器。
【請求項6】
前記回動補助部の前記保持器内部に前記メイン転動球と前記サブ転動球を収納した状態において、
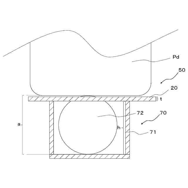
前記保持器の高さa、前記Uターン押出収納板の厚さt、前記メイン転動球と前記サブ転動球の直径を合計した長さbとの関係式が、以下の式(1):
b>a+t …式(1)
を満たすように、前記メイン転動球と前記サブ転動球の直径を選択又は調整することを特徴とする請求項3に記載のUターン押出収納器。
【請求項7】
前記Uターン押出収納板の前記商品排出口に対して、前記排出側直進路部を通過してきた前記商品が脱落することを防止するための脱落防止停止柵を設けたことを特徴とする請求項1又は2に記載のUターン押出収納器。
発明の詳細な説明
【技術分野】
【0001】
従来、飲食店などにおいては、瓶や缶等の商品を冷蔵庫で冷やす際に、先に入れた冷えている商品を手前に移動後に、後に入れる冷えていない商品を奥に移動させる先入れ先出しの作業が必要であった。
これに対して、先入れ先出しの作業の軽減を図るために、瓶や缶等の商品を順々に進入方向に押して収納していき、先に入れた先頭の商品がUターンして前方に送り出されてくる収納器が開発されていた。
続きを表示(約 2,800 文字)
【0002】
この点、商品を立てたまま仕切りケースに軽く押し入れるだけで簡単に先入先出が可能となる簡易先入先出仕切りケースがある。
例えば、「商品棚や冷蔵庫の棚の上に置き、商品が横2列に並ぶ容器で真ん中が仕切られて、奥は緩やかな半楕円になっており、商品を入れる時に右の入口から手で軽く押入れ、先に入れてあった商品が順次押されながら、奥の緩やかな半楕円部分を通過し、左前方へ出てきて商品を取り出せ、また、奥にあるものだけを取り出す場合は、中身だけを取り出す引き出しができるようになっている簡易先入先出仕切りケース」が挙げられる(特許文献1)。
具体的には、缶飲料等を陳列するときに冷えた商品を前に出し、冷えていない商品を奥に入れる作業を行うケースであって、中央部に矩形薄板状の仕切板を起立させたことで形成された進入方向及び排出方向に沿って直線状に延びる左右2列の進入側直進路部及び排出側直進路部と、前記左右2列の直進路部の進入方向奥側に対して商品を進入方向から排出方向にUターンさせるためのカーブ路部に対して緩やかな半楕円状のUターンガイド板を備えた簡易先入先出仕切りケースである。
【0003】
また、飲料缶の押し入れはわずかな力で足り、しかも缶誘導溝内での缶の移動、特にUターンがスムーズに行えるショーケースがある。
例えば、「内部に棚板と加熱装置または冷却装置のいずれかを配設したショーケースにおいて、前記棚板上面に奥側に折曲部を位置させてU字状の缶誘導溝を形成する場合に、該缶誘導溝の外側部分に部分的張出し部を形成したことを特徴とするショーケース」が挙げられる(特許文献2)。
具体的には、特許文献1の簡易先入先出仕切りケースと同様に、進入側直進路部、排出側直進路部、及びカーブ路部を備えており、押し込む力で進入方向に沿って進入側直進路部を直進してきた飲料缶を進入方向から排出方向にUターンさせるために設けた、縦方向の押込力を横方向への力に変換する張り出し部を備えたショーケースである。
【先行技術文献】
【特許文献】
【0004】
実用新案登録第3089708号公報
実開昭62-120855号公報
【発明の概要】
【発明が解決しようとする課題】
【0005】
特許文献1に記載の簡易先入先出仕切りケースと特許文献2に記載のショーケースは、共に商品を進入方向に沿って進入側直進路部を直進させるには、進入方向に向かって商品を押し込む力により直進する。
しかしながら、特許文献1に記載の簡易先入先出仕切りケースと特許文献2に記載のショーケースにおいては、商品を進入方向から排出方向にUターンさせるカーブ路部を移動させるには、商品の重量が大きくなるほど、商品の底面とカーブ部路である床面との間で発生する摩擦抵抗(動摩擦力)が大きくなるため、特許文献1のUターンガイド板や特許文献2の張出し部を設けただけではカーブ部路の移動がしづらい問題点があった。
本発明者は、上記課題を解決するために、鋭意研究を重ねた結果、本発明を完成 するに至った。
【0006】
本発明は、上記問題点に鑑みてなされたものであり、カーブ路部における商品の進路である進入方向からカーブ方向を辿って排出方向に向かうUターン移動が円滑に行われるUターン押出収納器を提供することを目的とする。
【課題を解決するための手段】
【0007】
上記課題を解決するための本発明のUターン押出収納器の特徴構成は、
瓶又は缶等の商品の進路が進入方向に沿って商品進入口から直進するように設けた進入側直進路部と、
前記進入側直進路部の進入方向端部と連結して前記商品の進路がカーブ方向に沿ってUターンするように設けたカーブ路部と、
前記カーブ路部の排出方向端部と連結して前記進入側直進路部と並列して前記商品の進路が排出方向に沿って商品排出口に直進するように設けた排出側直進路部と、
前記進入側直進路部と前記排出側直進路部との間に仕切板を設けたUターン押出収納板と、
前記Uターン押出収納板を底面パネル部に対して載置した状態で、前記Uターン押出収納板の前記進入方向、前記カーブ方向及び前記排出方向に沿って、且つ前記進入側直進路部、前記カーブ路部、及び前記排出側直進路部を囲むように、前記底面パネル部から側面パネル部が起立したカバー部材とを備えており、
前記Uターン押出収納板は、前記カーブ路部の内側カーブ路と外側カーブ路に対して夫々複数の孔部を設けており、
前記底面パネル部は、前記Uターン押出収納板を載置した際に前記Uターン押出収納板と前記底面パネル部の間に発生する空間内に、且つ前記複数の孔部と対向する位置に対して、夫々回動補助部を設けており、
前記回動補助部は、前記Uターン押出収納板を下方側から支持する保持器と、前記保持器内部に収納し、且つ前記Uターン押出収納板の前記複数の孔部から一部分が突出する球状のメイン転動球とを設けた点にある。
【0008】
本構成のUターン押出収納器によれば、Uターン押出収納板のカーブ路部の内側カーブ路と外側カーブ路に対して設けた複数の孔部から突出したメイン転動球とカーブ路部の内側カーブ路と外側カーブ路を通過する商品底部が互いに点接触するため、メイン転動球を設けない面接触の場合と比較して、摩擦抵抗が低減される結果として、カーブ路部における商品の進路である進入方向からカーブ方向を辿って排出方向に向かうUターン移動が円滑にできる。
【0009】
本発明のUターン押出収納器において、
前記進入側直進路部は、前記進入方向に向かって複数のローラーを並べた進入側直進路部ローラー部を設けており、
前記排出側直進路部は、前記排出方向に向かって複数のローラーを並べた排出側直進路部ローラー部を設けたことが好ましい。
【0010】
本構成のUターン押出収納器によれば、進入側直進路部ローラーと商品底部が互いに線接触するため、進入側直進路部ローラーを設けない面接触の場合と比較して、摩擦抵抗が低減される結果として、進入側直進路部における商品の進路である進入方向に向かう移動が円滑にできる。
また、排出側直進路部ローラーと商品底部が互いに線接触するため、排出側直進路部ローラーを設けない面接触の場合と比較して、摩擦抵抗が低減される結果として、排出側直進路部における商品の進路である排出方向に向かう移動が円滑にできる。
(【0011】以降は省略されています)
この特許をJ-PlatPat(特許庁公式サイト)で参照する
関連特許
個人
束ね具
17日前
個人
収容箱
4か月前
個人
コンベア
6か月前
個人
容器
10か月前
個人
段ボール箱
8か月前
個人
ゴミ収集器
8か月前
個人
段ボール箱
7か月前
個人
テープ引出機
17日前
個人
土嚢運搬器具
9か月前
個人
角筒状構造体
6か月前
個人
楽ちんハンド
6か月前
個人
バンド
3か月前
個人
宅配システム
8か月前
個人
棒状体収容容器
21日前
個人
お薬の締結装置
7か月前
個人
包装容器
2か月前
個人
コード類収納具
9か月前
個人
閉塞装置
11か月前
個人
廃棄物収容容器
3か月前
個人
蓋閉止構造
5か月前
個人
把手付米袋
5か月前
個人
蓋閉止構造
5か月前
個人
積み重ね用補助具
3か月前
株式会社コロナ
梱包材
6か月前
株式会社和気
包装用箱
1か月前
個人
ゴミ処理機
10か月前
株式会社バンダイ
物品
1か月前
個人
貯蔵サイロ
8か月前
株式会社和気
包装用箱
10か月前
個人
介護用コップ
3か月前
株式会社ナベル
検査装置
29日前
三甲株式会社
蓋体
10か月前
三甲株式会社
容器
7か月前
三甲株式会社
蓋体
9か月前
株式会社新弘
容器
4か月前
三甲株式会社
容器
7か月前
続きを見る
他の特許を見る