TOP
|
特許
|
意匠
|
商標
特許ウォッチ
Twitter
他の特許を見る
10個以上の画像は省略されています。
公開番号
2025171405
公報種別
公開特許公報(A)
公開日
2025-11-20
出願番号
2024076723
出願日
2024-05-09
発明の名称
包装用箱
出願人
朝日印刷株式会社
代理人
個人
主分類
B65D
5/52 20060101AFI20251113BHJP(運搬;包装;貯蔵;薄板状または線条材料の取扱い)
要約
【課題】POPとして用いることのできるスペースが一体形成され、脱プラスチックによる環境負荷低減を図ることができ、かつ、搬送時の損傷や変形を効果的に防止することのできる包装用箱を提供する。
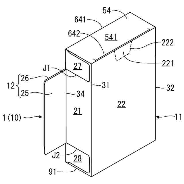
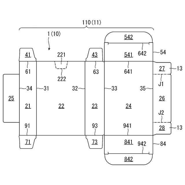
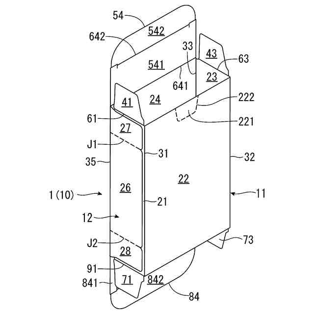
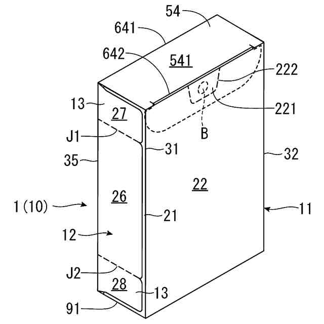
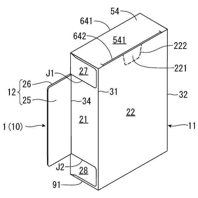
【解決手段】紙製のブランクシートから形成された包装用箱1であって、横方向に連接された第1側面板21、第2側面板22、第3側面板23および第4側面板24と、第1側面板21の第2側面板22と反対側の端部に延設された第1起立片25と、第4側面板24の第3側面板23と反対側の端部に延設された第2起立片26と、を有し、第1起立片25および第2起立片26の裏面同士が接合され、第1側面板21、第2側面板22、第3側面板23および第4側面板24を含む筒状の筒体と、第1起立片25および第2起立片26の積層体を含み、筒体11から起立する起立片12と、を有する。
【選択図】図9
特許請求の範囲
【請求項1】
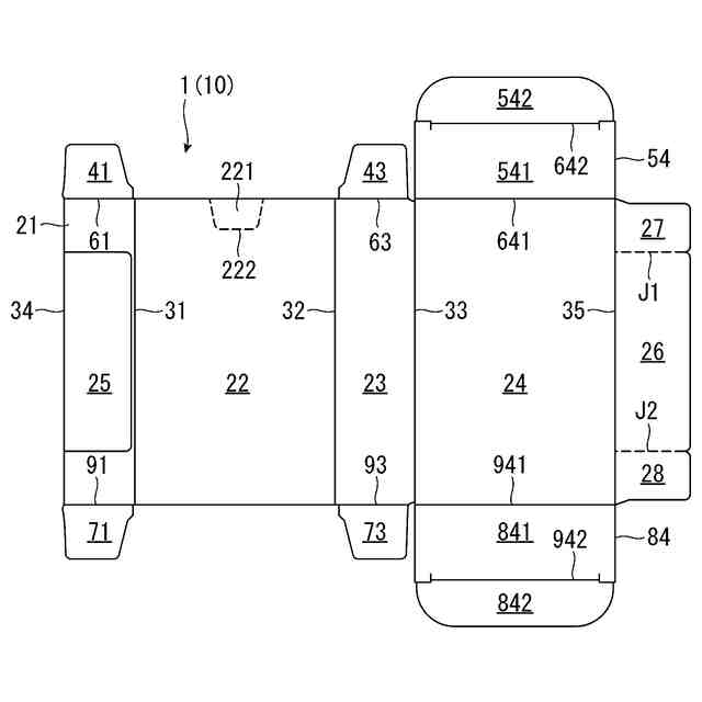
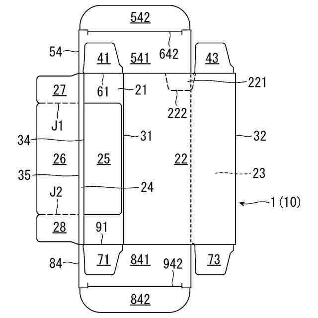
紙製のブランクシートから形成された包装用箱であって、
互いに直交する方向を第1方向および第2方向としたとき、
前記第1方向に並んで配置された複数の側面板を備えた筒体形成部を筒状とすることにより形成され、内容物を収容する筒体と、
前記筒体形成部の前記第1方向の一方側の端部に延設された第1起立片と、前記筒体形成部の前記第1方向の他方側の端部に延設された第2起立片の裏面同士を接合することにより形成され、前記筒体に対して起立可能な起立片と、
前記筒体に固定されると共に、破断線を介して前記起立片に接続され、前記起立片を前記筒体の表面に沿うように倒伏させた倒伏状態を保持する倒伏状態保持部と、を有し、
前記破断線を破断させることにより、前記起立片を前記筒体に対して起立させることができることを特徴とする包装用箱。
続きを表示(約 1,900 文字)
【請求項2】
前記第2起立片は、前記筒体よりも前記第2方向の長さが短く、
前記倒伏状態保持部は、前記筒体形成部の前記第2起立片と同じ側の端部に延設され、前記第2起立片に対して前記第2方向の一方側に位置し、前記第2起立片と前記破断線である第1破断線を介して接続された第1糊代片を有し、
前記第1糊代片の裏面が前記筒体の表面に接合されている請求項1に記載の包装用箱。
【請求項3】
前記倒伏状態保持部は、前記筒体形成部の前記第2起立片と同じ側の端部に延設され、前記第2起立片に対して前記第2方向の他方側に位置し、前記第2起立片と前記破断線である第2破断線を介して接続された第2糊代片を有し、
前記第2糊代片の裏面が前記筒体の表面に接合されている請求項2に記載の包装用箱。
【請求項4】
前記第1糊代片および前記第2糊代片は、それぞれ、前記第1起立片と重ならない請求項3に記載の包装用箱。
【請求項5】
前記筒体形成部は、前記側面板として前記第1方向に並んで配置された第1側面板、第2側面板、第3側面板および第4側面板を有し、前記第1側面板の前記第2側面板と反対側の端部に前記第1起立片が延設され、前記第4側面板の前記第3側面板と反対側の端部に前記第2起立片が延設されており、
前記第1起立片は、前記筒体よりも前記第2方向の長さが短く、前記筒体の前記第2方向の一方側に偏って設けられ、
前記倒伏状態保持部は、前記第1側面板の前記第1起立片と同じ側の端部に延設され、前記第1起立片に対して前記第2方向の他方側に位置し、前記第1起立片と前記破断線である第1破断線を介して接続された第1糊代片を有し、
前記第1糊代片の裏面が前記筒体の表面に接合され、
さらに、
前記第2側面板の前記第2方向の一方側の端部に延設された第1フラップと、
前記第4側面板の前記第2方向の一方側の端部に延設された第2フラップと、
前記第1側面板または前記第3側面板の前記第2方向の一方側の端部に延設され、前記筒体の前記第2方向の一方側の開口を塞ぐ第1蓋体と、を有し、
前記倒伏状態保持部は、前記第1起立片の前記第2方向の一方側の端部に延設され、前記破断線である第3破断線で区切られた第3フラップを有し、
前記第3フラップの裏面と前記第2フラップの表面が接合されて第1積層フラップが形成され、前記第1フラップおよび前記第1積層フラップがそれぞれ前記第1蓋体の内側に折り込まれている請求項1に記載の包装用箱。
【請求項6】
前記筒体形成部は、前記側面板として前記第1方向に並んで配置された第1側面板、第2側面板、第3側面板および第4側面板を有し、前記第1側面板の前記第2側面板と反対側の端部に前記第1起立片が延設され、前記第4側面板の前記第3側面板と反対側の端部に前記第2起立片が延設されており、
前記第2側面板の前記第2方向の一方側の端部に延設された第1フラップと、
前記第4側面板の前記第2方向の一方側の端部に延設された第2フラップと、
前記第1側面板または前記第3側面板の前記第2方向の一方側の端部に延設され、前記筒体の前記第2方向の一方側の開口を塞ぐ第1蓋体と、を有し、
前記倒伏状態保持部は、前記第1起立片の前記第2方向の一方側の端部に延設され、前記破断線である第3破断線で区切られた第3フラップを有し、
前記第3フラップの裏面と前記第2フラップの表面が接合されて第1積層フラップが形成され、前記第1フラップおよび前記第1積層フラップがそれぞれ前記第1蓋体の内側に折り込まれており、
さらに、
前記第2側面板の前記第2方向の他方側の端部に延設された第4フラップと、
前記第4側面板の前記第2方向の他方側の端部に延設された第5フラップと、
前記第1側面板または前記第3側面板の前記第2方向の他方側の端部に延設され、前記筒体の前記第2方向の他方側の開口を塞ぐ第2蓋体と、を有し、
前記倒伏状態保持部は、前記第1起立片の前記第2方向の他方側の端部に延設され、前記破断線である第4破断線で区切られた第6フラップを有し、
前記第6フラップの裏面と前記第5フラップの表面が接合されて第2積層フラップが形成され、前記第4フラップおよび前記第2積層フラップがそれぞれ前記第2蓋体の内側に折り込まれている請求項1に記載の包装用箱。
発明の詳細な説明
【技術分野】
【0001】
本発明は、包装用箱に関する。
続きを表示(約 1,500 文字)
【背景技術】
【0002】
特許文献1に記載されているように、従来から、OTC医薬品、化粧品等の店頭販売商品に樹脂フィルムで形成されたPOP(Point Of Purchase)を貼付することにより、需要者の購買意欲促進を図ることが広く行われている。
【先行技術文献】
【特許文献】
【0003】
特開2023―097148号公報
【発明の概要】
【発明が解決しようとする課題】
【0004】
しかしながら、近年においては、環境保護の観点から脱プラスチックが推し進められており、樹脂フィルム製のPOPに替わるものの需要が高まっている。また、樹脂フィルム製のPOPを貼付した製品では、搬送時にラベルが潰されることによりラベルに癖がついてしまうことがある。この場合、店頭に陳列した際、カールした状態となってしまったり、倒れた状態となってしまったりし、需要者がPOPをしっかりと視認することができない。また、美観も損なわれる。そのため、POPとしての機能(購買意欲促進)を十分に発揮することができない。
【0005】
本発明は、上述の問題点に鑑みてなされたものであり、POPとして用いることのできるスペースが一体形成され、脱プラスチックによる環境負荷低減を図ることができ、かつ、搬送時の損傷や変形を効果的に防止することのできる包装用箱を提供することを目的とする。
【課題を解決するための手段】
【0006】
このような目的は、以下(1)~(6)の本発明により達成される。
【0007】
(1) 紙製のブランクシートから形成された包装用箱であって、
互いに直交する方向を第1方向および第2方向としたとき、
前記第1方向に並んで配置された複数の側面板を備えた筒体形成部を筒状とすることにより形成され、内容物を収容する筒体と、
前記筒体形成部の前記第1方向の一方側の端部に延設された第1起立片と、前記筒体形成部の前記第1方向の他方側の端部に延設された第2起立片の裏面同士を接合することにより形成され、前記筒体に対して起立可能な起立片と、
前記筒体に固定されると共に、破断線を介して前記起立片に接続され、前記起立片を前記筒体の表面に沿うように倒伏させた倒伏状態を保持する倒伏状態保持部と、を有し、
前記破断線を破断させることにより、前記起立片を前記筒体に対して起立させることができることを特徴とする包装用箱。
【0008】
(2) 前記第2起立片は、前記筒体よりも前記第2方向の長さが短く、
前記倒伏状態保持部は、前記筒体形成部の前記第2起立片と同じ側の端部に延設され、前記第2起立片に対して前記第2方向の一方側に位置し、前記第2起立片と前記破断線である第1破断線を介して接続された第1糊代片を有し、
前記第1糊代片の裏面が前記筒体の表面に接合されている上記(1)に記載の包装用箱。
【0009】
(3) 前記倒伏状態保持部は、前記筒体形成部の前記第2起立片と同じ側の端部に延設され、前記第2起立片に対して前記第2方向の他方側に位置し、前記第2起立片と前記破断線である第2破断線を介して接続された第2糊代片を有し、
前記第2糊代片の裏面が前記筒体の表面に接合されている上記(2)に記載の包装用箱。
【0010】
(4) 前記第1糊代片および前記第2糊代片は、それぞれ、前記第1起立片と重ならない上記(3)に記載の包装用箱。
(【0011】以降は省略されています)
この特許をJ-PlatPat(特許庁公式サイト)で参照する
関連特許
朝日印刷株式会社
包装用箱
8日前
朝日印刷株式会社
緩衝機能付包装用箱
29日前
朝日印刷株式会社
包装用箱および包装用箱の形成方法
5か月前
個人
束ね具
17日前
個人
収容箱
4か月前
個人
コンベア
6か月前
個人
容器
10か月前
個人
段ボール箱
8か月前
個人
ゴミ収集器
8か月前
個人
段ボール箱
7か月前
個人
テープ引出機
17日前
個人
土嚢運搬器具
9か月前
個人
角筒状構造体
6か月前
個人
楽ちんハンド
6か月前
個人
バンド
3か月前
個人
宅配システム
8か月前
個人
棒状体収容容器
21日前
個人
お薬の締結装置
7か月前
個人
包装容器
2か月前
個人
コード類収納具
9か月前
個人
閉塞装置
11か月前
個人
廃棄物収容容器
3か月前
個人
蓋閉止構造
5か月前
個人
把手付米袋
5か月前
個人
蓋閉止構造
5か月前
個人
積み重ね用補助具
3か月前
株式会社コロナ
梱包材
6か月前
株式会社和気
包装用箱
1か月前
個人
ゴミ処理機
10か月前
株式会社バンダイ
物品
1か月前
個人
貯蔵サイロ
8か月前
株式会社和気
包装用箱
10か月前
個人
介護用コップ
3か月前
株式会社ナベル
検査装置
29日前
三甲株式会社
蓋体
10か月前
三甲株式会社
容器
7か月前
続きを見る
他の特許を見る