TOP
|
特許
|
意匠
|
商標
特許ウォッチ
Twitter
他の特許を見る
10個以上の画像は省略されています。
公開番号
2025169685
公報種別
公開特許公報(A)
公開日
2025-11-14
出願番号
2024074645
出願日
2024-05-02
発明の名称
搬送車
出願人
村田機械株式会社
代理人
個人
主分類
B65G
1/04 20060101AFI20251107BHJP(運搬;包装;貯蔵;薄板状または線条材料の取扱い)
要約
【課題】荷下ろし動作を行う場合において、物品の重さが異なる場合であっても適切な位置で物品の移載を行うことができる搬送車を提供する。
【解決手段】物品(C)を保持して軌道R上を走行して搬送する搬送車(1)であって、物品(C)を保持する保持部21と、移載位置まで移動した保持部21を昇降させる昇降装置7と、軌道Rの側方にスライドすることで保持部21を移載位置まで移動させる横出し機構8と、保持部21によって保持された物品(C)の重量を取得する取得部と、横出し機構8のスライド量を制御する制御部130と、を備え、制御部130は、取得部により取得した物品(C)の重量に応じてスライド量を変更する。
【選択図】図2
特許請求の範囲
【請求項1】
物品を保持して軌道上を走行して搬送する搬送車であって、
前記物品を保持する保持部と、
前記軌道の側方にスライドすることで前記保持部を移載位置まで移動させる横出し機構と、
前記移載位置まで移動した前記保持部を昇降させる昇降装置と、
前記保持部によって保持された前記物品の重量を取得する取得部と、
前記横出し機構のスライド量を制御する制御部と、を備え、
前記制御部は、前記取得部により取得した前記物品の重量に応じて前記スライド量を変更する、搬送車。
続きを表示(約 970 文字)
【請求項2】
前記物品を移載する載置部の位置に応じた前記スライド量である第1スライド量を記憶する記憶部を備え、
前記制御部は、前記取得部により取得した前記物品の重量に応じて前記第1スライド量を補正した第2スライド量だけ前記横出し機構をスライドさせる、請求項1に記載の搬送車。
【請求項3】
前記保持部の昇降させるための昇降モータを備え、
前記取得部は、前記昇降モータのトルクに基づいて前記物品の重量を測定することで前記保持部によって保持された前記物品の重量を取得する、
請求項2に記載の搬送車。
【請求項4】
前記取得部は、前記保持部によって保持されている前記物品の重量を測定するセンサを備える、
請求項2に記載の搬送車。
【請求項5】
前記取得部は、前記搬送車が前記保持部で前記物品を保持しており、且つ、前記搬送車が停止している間に前記物品の重量を測定する、請求項1から4のいずれか一項に記載の搬送車。
【請求項6】
前記搬送車は、前記物品を保持した前記保持部を上昇させて当該物品を所定空間内に収容し、前記所定空間内に前記物品を収容した状態で走行することで前記物品を搬送し、
前記取得部は、前記所定空間内に前記物品が収容され、且つ、前記搬送車の走行が停止している間に前記物品の重量を測定する、請求項5に記載の搬送車。
【請求項7】
前記取得部は、前記保持部で保持する前記物品の重量のデータを外部コントローラから有線通信又は無線通信で取得する、
請求項2に記載の搬送車。
【請求項8】
前記記憶部は、前記物品の重量と前記スライド量の補正値との関係を示す補正情報を格納しており、
前記制御部は、前記取得部により取得した前記物品の重量に対応する前記補正値を前記補正情報から取得し、取得した前記補正値に基づいて前記第1スライド量を補正する、請求項2に記載の搬送車。
【請求項9】
前記制御部は、前記物品の重量によらない定数である第1補正値と、前記取得部により取得した前記物品の重量に応じた第2補正値とに基づいて前記第1スライド量を補正する、請求項2に記載の搬送車。
発明の詳細な説明
【技術分野】
【0001】
本発明は、搬送車に関する。
続きを表示(約 1,400 文字)
【背景技術】
【0002】
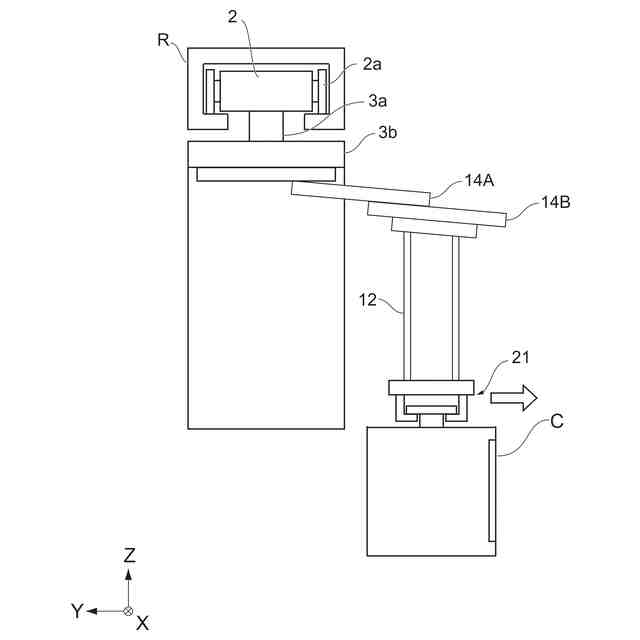
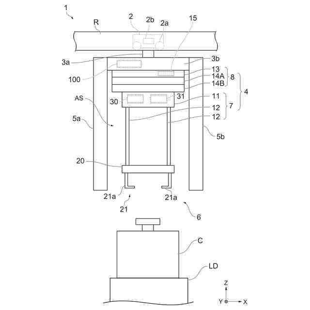
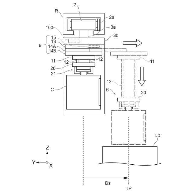
特許文献1には、物品を搬送して移載する搬送車が開示されている。この搬送車は、物品を把持する把持部と、物品の移載位置の情報を記憶する記憶部と、把持部が取り付けられている横出し機構とを備える。搬送車は、走行方向に対して直交する横方向に横出し機構を所定量だけ移動させることで物品を上記移載位置まで横方向に移動させ、ポートなどの載置部に対して物品の移載を行う。
【0003】
搬送車による物品の移載には、載置台に物品を載置する荷下ろし動作と、載置台上の物品を保持する荷つかみ動作とがある。横出し機構は、荷つかみ動作時では物品を把持していない状態で横方向に移動するが、荷下ろし動作時では物品を把持している状態で横方向に移動する。
【0004】
荷下ろし動作時では物品の重みによって横出し機構が撓んでしまう場合がある。荷下ろし動作時に横出し機構が撓んでしまうと、横出し機構が所定量だけ横方向に移動した後の物品の位置は、移載位置からずれている場合がある。そこで、特許文献1では、荷下ろし動作と荷つかみ動作とで横出し機構の移動量を異ならせ、荷下ろし動作時における物品の位置ずれが発生しないように制御している。
【先行技術文献】
【特許文献】
【0005】
特許5636849号公報
【発明の概要】
【発明が解決しようとする課題】
【0006】
搬送車が搬送する全ての物品の重さは常に一定であるとは限らず、様々な重さの物品を搬送して載置部に載置する場合も考えられる。ただし、上記の搬送車では、重さの異なる物品を横方向に移動させる際に発生し得る物品の位置ずれに関しては記載も示唆もされていない。
【0007】
本発明は、荷下ろし動作を行う場合において、物品の重さが異なる場合であっても適切な位置で物品の移載を行うことができる搬送車を提供することを目的とする。
【課題を解決するための手段】
【0008】
本発明の態様に係る天井搬送車は、物品を保持して軌道上を走行して搬送する搬送車であって、物品を保持する保持部と、移載位置まで移動した保持部を昇降させる昇降装置と、軌道の側方にスライドすることで保持部を移載位置まで移動させる横出し機構と、保持部によって保持された物品の重量を取得する取得部と、横出し機構のスライド量を制御する制御部と、を備え、制御部は、取得部により取得した物品の重量に応じてスライド量を変更する。
【発明の効果】
【0009】
本発明の態様に係る天井搬送車は、保持している物品の重量に応じてスライド量を変更する。このような構成により、物品の重さが異なる場合であっても適切な位置で物品の移載を行うことができる。
【0010】
また、上記態様に係る天井搬送車によれば、物品を移載する載置部の位置に応じたスライド量である第1スライド量を記憶する記憶部を備え、制御部は、取得部により取得した物品の重量に応じて第1スライド量を補正した第2スライド量だけ横出し機構をスライドさせてもよい。このような構成により、天井搬送車が物品の重さに応じてスライド量を補正するため、適切な位置で移載を行うことができる。
(【0011】以降は省略されています)
特許ウォッチbot のツイートを見る
この特許をJ-PlatPat(特許庁公式サイト)で参照する
関連特許
村田機械株式会社
搬送車
27日前
村田機械株式会社
天井搬送車
6日前
村田機械株式会社
糸巻取装置
15日前
村田機械株式会社
自動ワインダ
1か月前
村田機械株式会社
紙管分離装置
1か月前
村田機械株式会社
レールユニット
2日前
村田機械株式会社
ボビン検査装置
20日前
村田機械株式会社
走行車システム
1か月前
村田機械株式会社
スタッカクレーン
1か月前
村田機械株式会社
ストレージシステム
14日前
村田機械株式会社
タスク管理システム
21日前
村田機械株式会社
天井走行車システム
1か月前
村田機械株式会社
玉揚装置及び自動ワインダ
1か月前
村田機械株式会社
認証システム、およびゲートウェイ装置
21日前
村田機械株式会社
レーザ加工機、レーザ加工方法及びプログラム作成装置
21日前
個人
収容箱
4か月前
個人
束ね具
1か月前
個人
コンベア
6か月前
個人
ゴミ収集器
8か月前
個人
段ボール箱
8か月前
個人
段ボール箱
8か月前
個人
容器
10か月前
個人
バンド
3か月前
個人
テープ引出機
1か月前
個人
楽ちんハンド
6か月前
個人
土嚢運搬器具
10か月前
個人
宅配システム
8か月前
個人
角筒状構造体
7か月前
個人
コード類収納具
9か月前
個人
閉塞装置
11か月前
個人
棒状体収容容器
1か月前
個人
お薬の締結装置
7か月前
個人
包装容器
2か月前
個人
廃棄物収容容器
4か月前
個人
ゴミ処理機
10か月前
株式会社バンダイ
物品
2か月前
続きを見る
他の特許を見る