TOP
|
特許
|
意匠
|
商標
特許ウォッチ
Twitter
他の特許を見る
公開番号
2025172246
公報種別
公開特許公報(A)
公開日
2025-11-21
出願番号
2024077628
出願日
2024-05-11
発明の名称
ボビン検査装置
出願人
村田機械株式会社
代理人
個人
主分類
B65H
63/00 20060101AFI20251114BHJP(運搬;包装;貯蔵;薄板状または線条材料の取扱い)
要約
【課題】パッケージに異なる性質の糸が混入することを未然に防止することが可能なボビン検査装置を提供する。
【解決手段】ボビン検査装置は、ブラックライトと、撮像装置と、演算装置と、を備える。ブラックライトは、パッケージを形成するための糸が巻き付けられたボビンに対して近紫外光を照射する。撮像装置は、近紫外光が照射されたボビンからの光を取得して判定情報を生成する。演算装置は、判定情報が示すボビンの糸の色に基づいて、比較対象のボビンとは異なる性質の糸が巻き付けられているか否かを判定する。
【選択図】図4
特許請求の範囲
【請求項1】
パッケージを形成するための糸が巻き付けられたボビンに対して近紫外光を照射するブラックライトと、
前記近紫外光が照射された前記ボビンからの光を取得して判定情報を生成する光取得装置と、
前記判定情報が示す前記ボビンの糸の色情報に基づいて、比較対象の前記ボビンとは異なる性質の糸が巻き付けられているか否かを判定する演算装置と、
を備えることを特徴とするボビン検査装置。
続きを表示(約 1,000 文字)
【請求項2】
請求項1に記載のボビン検査装置であって、
前記パッケージを形成する糸巻取機に向けて前記ボビンを搬送する搬送路を備え、
前記搬送路により搬送中の前記ボビンに対して、前記近紫外光の照射、前記ボビンからの光の取得、及び前記判定情報に基づく判定が行われることを特徴とするボビン検査装置。
【請求項3】
請求項2に記載のボビン検査装置であって、
前記ボビンには、判定対象の第1ボビンと、比較対象の第2ボビンと、が含まれ、
前記第1ボビンに巻き付けられている糸の性質が、前記第2ボビンに巻き付けられている糸の性質とは異なると前記演算装置が判定した場合、前記搬送路は、前記第1ボビンと前記第2ボビンが同じ前記パッケージに巻き取られないように、前記第1ボビン及び前記第2ボビンを搬送することを特徴とするボビン検査装置。
【請求項4】
請求項2又は3に記載のボビン検査装置であって、
前記ボビンはトレイに載せた状態で搬送され、
前記トレイ又は前記ボビンの芯管にはRFタグが設けられており、
前記演算装置による前記ボビンの検査結果は、前記RFタグに書き込まれることを特徴とするボビン検査装置。
【請求項5】
請求項1から4までの何れか一項に記載のボビン検査装置であって、
前記演算装置は、前記判定情報が示す前記ボビンの糸の色情報と、過去の前記判定情報が示す前記ボビンの糸の色情報と、を比較し、比較結果に基づいて、今回の前記ボビンに巻き付けられた糸が、過去のボビンに巻き付けられた糸と同じ性質か否かを判定することを特徴とするボビン検査装置。
【請求項6】
請求項1から4までの何れか一項に記載のボビン検査装置であって、
前記演算装置は、前記判定情報が示す前記ボビンの糸の色情報と、予め定められた基準となる基準糸の色情報を想定した基準色情報と、を比較し、比較結果に基づいて、判定対象となる前記ボビンに巻き付けられた糸が、前記基準糸とは異なる性質の糸であるか否かを判定することを特徴とするボビン検査装置。
【請求項7】
請求項1から6までの何れか一項に記載のボビン検査装置であって、
前記光取得装置は、前記近紫外光が照射された前記ボビンを撮像し、前記判定情報としての判定画像を生成する撮像装置であることを特徴とするボビン検査装置。
発明の詳細な説明
【技術分野】
【0001】
本発明は、ボビンに巻き付けられた糸の性質を検査する装置に関する。
続きを表示(約 1,300 文字)
【背景技術】
【0002】
特許文献1は、自動ワインダで形成されたチーズ形状のパッケージを検査する検査装置を開示する。自動ワインダで形成されたパッケージは、搬送装置によって検査装置まで搬送される。検査装置は、ブラックライトを用いてパッケージに紫外線を照射する。オペレータは、紫外線が照射されたパッケージの色を確認することにより、パッケージに異なる性質の糸が混入しているか否かを判定する。
【0003】
特許文献2は、自動ワインダに向けてボビンを搬送する搬送システムを開示する。搬送システムは、ボビンに赤色、緑色、青色の可視光を照射し、可視光が照射されたボビンをラインセンサを用いて計測する。搬送システムは、ラインセンサの計測結果に基づいて、残糸の有無及び残糸の位置を算出する。
【先行技術文献】
【特許文献】
【0004】
実開平5-89469号公報
特開2023-32530号公報
【発明の概要】
【発明が解決しようとする課題】
【0005】
特許文献1の検査装置を用いて検査をした結果、パッケージに異なる性質の糸が混入していることが検出された場合、パッケージの巻き直し又は廃棄が行われる。パッケージの巻き直しとは、パッケージに巻き付けられた糸を解舒して、異なる性質の糸を取り除いた後に糸を巻き直してパッケージを再生成することであり、多大な時間と手間が掛かる。一方、パッケージを廃棄する場合は、歩留まりが低下する。
【0006】
特許文献2に開示される方法では、異なる性質の糸が巻き付けられたボビンが存在している場合であっても、そのボビンを検出できない。
【0007】
本発明は以上の事情に鑑みてされたものであり、その主要な目的は、パッケージに異なる性質の糸が混入することを未然に防止することが可能なボビン検査装置を提供することにある。
【発明の概要】
課題を解決するための手段及び効果
【0008】
本発明の解決しようとする課題は以上の如くであり、次にこの課題を解決するための手段とその効果を説明する。
【0009】
本発明の観点によれば、以下の構成のボビン検査装置が提供される。即ち、ボビン検査装置は、ブラックライトと、撮像装置と、演算装置と、を備える。前記ブラックライトは、パッケージを形成するための糸が巻き付けられたボビンに対して近紫外光を照射する。前記撮像装置は、前記近紫外光が照射された前記ボビンからの光を取得して判定情報を生成する。前記演算装置は、前記判定情報が示す前記ボビンの糸の色情報に基づいて、比較対象の前記ボビンとは異なる性質の糸が巻き付けられているか否かを判定する。
【0010】
これにより、パッケージを形成する前において、他のボビンとは異なる性質の糸が巻き付けられているか否かを検出できる。従って、1つのパッケージに異なる性質の糸が混入することを未然に防止できる。そのため、パッケージを形成した後に異なる性質の糸の混入を検出する構成と比較して、パッケージの巻直し又廃棄が発生しにくい。
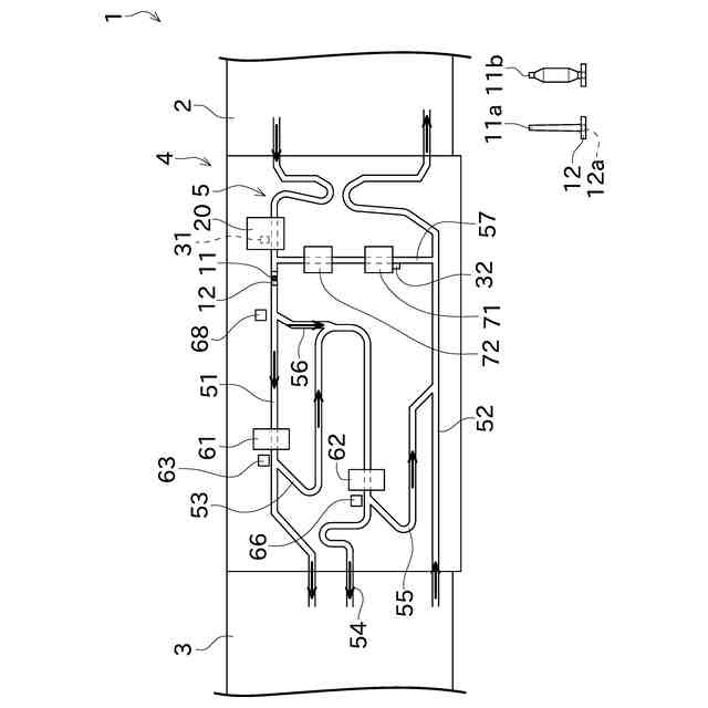
(【0011】以降は省略されています)
この特許をJ-PlatPat(特許庁公式サイト)で参照する
関連特許
村田機械株式会社
紡績機
1か月前
村田機械株式会社
搬送車
8日前
村田機械株式会社
自動倉庫
1か月前
村田機械株式会社
自動倉庫
1か月前
村田機械株式会社
自動ワインダ
23日前
村田機械株式会社
紙管分離装置
25日前
村田機械株式会社
走行車システム
1か月前
村田機械株式会社
搬送車システム
1か月前
村田機械株式会社
ボビン解舒装置
1か月前
村田機械株式会社
ボビン検査装置
1日前
村田機械株式会社
走行車システム
17日前
村田機械株式会社
スタッカクレーン
16日前
村田機械株式会社
タスク管理システム
2日前
村田機械株式会社
有軌道台車システム
1か月前
村田機械株式会社
天井走行車システム
18日前
村田機械株式会社
玉揚装置及び自動ワインダ
16日前
村田機械株式会社
繊維束の合流方法及び繊維束合流装置
1か月前
村田機械株式会社
認証システム、およびゲートウェイ装置
2日前
村田機械株式会社
レーザ加工機、レーザ加工方法及びプログラム作成装置
2日前
個人
収容箱
4か月前
個人
束ね具
11日前
個人
コンベア
6か月前
個人
容器
10か月前
個人
段ボール箱
7か月前
個人
段ボール箱
8か月前
個人
ゴミ収集器
7か月前
個人
バンド
2か月前
個人
土嚢運搬器具
9か月前
個人
テープ引出機
11日前
個人
宅配システム
7か月前
個人
楽ちんハンド
5か月前
個人
角筒状構造体
6か月前
個人
お薬の締結装置
6か月前
個人
閉塞装置
11か月前
個人
廃棄物収容容器
3か月前
個人
棒状体収容容器
15日前
続きを見る
他の特許を見る