TOP
|
特許
|
意匠
|
商標
特許ウォッチ
Twitter
他の特許を見る
10個以上の画像は省略されています。
公開番号
2025159613
公報種別
公開特許公報(A)
公開日
2025-10-21
出願番号
2024062324
出願日
2024-04-08
発明の名称
ボビン解舒装置
出願人
村田機械株式会社
代理人
弁理士法人ATEN
主分類
B65H
57/14 20060101AFI20251014BHJP(運搬;包装;貯蔵;薄板状または線条材料の取扱い)
要約
【課題】ボビン解舒装置の大型化を抑制しつつ、ボビンから解舒される繊維束の幅が変動することを抑制する。
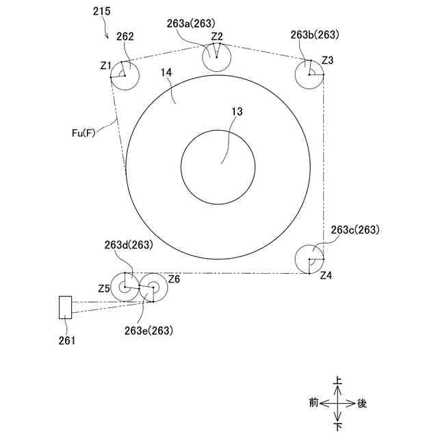
【解決手段】ボビン解舒装置15は、繊維束Fが巻かれたボビン14を回転自在に支持するボビンホルダ13と、ボビン14から解舒された繊維束Fが掛けられるとともに繊維束Fが左右方向にトラバースされるときの支点となる支点ガイド61と、左右方向と平行な軸心を有し、ボビン14と支点ガイド61との間に形成された繊維束Fの走行経路の途中に配置された捻転抑制ローラ62と、左右方向と平行な軸心を有し、捻転抑制ローラ62と支点ガイド61との間に形成された繊維束Fの走行経路の途中に配置された2つのガイドローラ63(63a、63b)と、を含む。
【選択図】図4
特許請求の範囲
【請求項1】
繊維束が巻かれたボビンを回転自在に支持するボビン支持軸と、
前記ボビンから解舒された前記繊維束が掛けられるとともに、前記繊維束が前記ボビン支持軸の軸方向にトラバースされるときの支点となる支点ガイドと、
前記軸方向と平行な軸心を有し、前記ボビンと前記支点ガイドとの間に形成された前記繊維束の走行経路の途中に配置された捻転抑制ローラと、
前記軸方向と平行な軸心を有し、前記捻転抑制ローラと前記支点ガイドとの間に形成された前記繊維束の走行経路の途中に配置された少なくとも1つのガイドローラと、
を備え、
前記ガイドローラは、前記繊維束が前記ガイドローラの周面上を前記軸方向にトラバースされるように構成されるとともに、前記軸方向から見たときに、前記捻転抑制ローラと前記支点ガイドとを結ぶ最短経路上から外れた位置に配置されているボビン解舒装置。
続きを表示(約 900 文字)
【請求項2】
前記捻転抑制ローラの前記軸方向における長さは、前記ボビンのうちの前記繊維束が巻かれている領域の前記軸方向における長さの1倍以上1.5倍以下である請求項1に記載のボビン解舒装置。
【請求項3】
前記支点ガイドは、前記軸方向と直交する軸心を有するローラ部材である請求項1又は2に記載のボビン解舒装置。
【請求項4】
前記繊維束の走行する走行方向において前記支点ガイドのすぐ上流側に配置された前記ガイドローラである最下流ガイドローラと、前記支点ガイドとの間を走行する前記繊維束の最大経路長は、前記繊維束の幅の20倍以上100倍以下である請求項3に記載のボビン解舒装置。
【請求項5】
すべての前記ガイドローラについて、前記軸方向から見たとき、前記繊維束が前記ガイドローラに巻き付けられている巻付角度は45度以上240度以下である請求項1又は2に記載のボビン解舒装置。
【請求項6】
すべての前記ガイドローラについて、前記軸方向から見たとき、前記繊維束が前記ガイドローラに巻き付けられている巻付角度は70度以上200度以下である請求項5に記載のボビン解舒装置。
【請求項7】
前記軸方向から見たとき、前記繊維束が前記捻転抑制ローラに巻き付けられている巻付角度は70度以上200度以下である請求項1又は2に記載のボビン解舒装置。
【請求項8】
前記軸方向から見たとき、前記繊維束が前記捻転抑制ローラに巻き付けられている巻付角度は70度以上200度以下である請求項3に記載のボビン解舒装置。
【請求項9】
前記軸方向から見たとき、前記繊維束が前記捻転抑制ローラに巻き付けられている巻付角度は70度以上200度以下である請求項4に記載のボビン解舒装置。
【請求項10】
前記軸方向から見たとき、前記繊維束が前記捻転抑制ローラに巻き付けられている巻付角度は70度以上200度以下である請求項5に記載のボビン解舒装置。
(【請求項11】以降は省略されています)
発明の詳細な説明
【技術分野】
【0001】
本発明は、ボビンから繊維束を解舒するボビン解舒装置に関する。
続きを表示(約 1,800 文字)
【背景技術】
【0002】
特許文献1には、ライナーの外周面に帯状の繊維束を巻き付けるフィラメントワインディング装置が開示されている。フィラメントワインディング装置には、繊維束が巻かれたボビンが複数配置されたクリールスタンドが設けられており、それぞれのボビンから解舒された繊維束がライナーの外周面に供給される。
【0003】
このようなフィラメントワインディング装置には、クリールスタンドに配置されたボビンから繊維束を解舒するためのボビン解舒装置が設けられている。ボビン解舒装置は、ボビンを回転自在に支持するボビン支持軸と、ボビンから解舒された繊維束が掛けられる支点ガイド(特許文献1の固定ガイド)と、を有する。支点ガイドに掛けられた繊維束は、支点ガイドを支点として、ボビンの軸方向にトラバースされながらボビンから解舒される(特許文献1の図2の矢印Tを参照)。
【0004】
さらに、ボビン支持軸と支点ガイドとの間には、繊維束が巻き付けられるとともに、巻き付けられた繊維束がトラバースに伴って捻転することを抑制する捻転抑制ローラ(特許文献1の補助ローラ)が配置されている。捻転抑制ローラは、ボビン支持軸の軸方向と平行な軸心を有し、繊維束が捻転抑制ローラの周面上を捻転抑制ローラの軸方向にトラバースされるように構成されている。ボビンから解舒されて支点ガイドに向かう繊維束は、捻転抑制ローラに巻き付けられた状態でトラバースされる。これによって、繊維束の張力が繊維束を捻転抑制ローラに押し付ける方向に作用し、繊維束の捻転が抑制される。
【先行技術文献】
【特許文献】
【0005】
特開2013-063822号公報
【発明の概要】
【発明が解決しようとする課題】
【0006】
しかしながら、特許文献1のようなボビン解舒装置の構成では、ボビンから解舒される繊維束の幅が変動するという問題がある。本願発明者らは、このような問題が生じる理由を鋭意検討し、捻転抑制ローラの軸方向と直交する方向から見たときに、ボビンの端部付近から支点ガイドに向かう繊維束の走行方向と捻転抑制ローラの周方向(回転方向)とのなす角度(以下、引き出し角度)が大きくなることに起因しているとの見解を得るに至った。以下、具体的に説明する。
【0007】
捻転抑制ローラに巻き付けられた繊維束は、捻転抑制ローラの周方向に沿った摩擦力を受ける。この摩擦力は、繊維束の走行方向に作用する力と繊維束の幅方向に作用する力とに分けられる。ここで、上述した引き出し角度が大きいほど、繊維束に付与される摩擦力のうちの繊維束の幅方向に作用する力が大きくなる。その結果、繊維束は幅方向に変動してしまう。
【0008】
例えば、支点ガイドをボビンから遠く離れた位置に配置し、ボビンから解舒されて支点ガイドに至る繊維束の経路長を長くすれば、引き出し角度を小さくできる。しかし、そうすると、ボビン解舒装置が大型化するという別の問題が生じてしまう。
【0009】
本発明の目的は、ボビン解舒装置の大型化を抑制しつつ、ボビンから解舒される繊維束の幅が変動することを抑制することである。
【課題を解決するための手段】
【0010】
本発明のボビン解舒装置は、繊維束が巻かれたボビンを回転自在に支持するボビン支持軸と、前記ボビンから解舒された前記繊維束が掛けられるとともに、前記繊維束が前記ボビン支持軸の軸方向にトラバースされるときの支点となる支点ガイドと、前記軸方向と平行な軸心を有し、前記ボビンと前記支点ガイドとの間に形成された前記繊維束の走行経路の途中に配置された捻転抑制ローラと、前記軸方向と平行な軸心を有し、前記捻転抑制ローラと前記支点ガイドとの間に形成された前記繊維束の走行経路の途中に配置された少なくとも1つのガイドローラと、を備え、前記ガイドローラは、前記繊維束が前記ガイドローラの周面上を前記軸方向にトラバースされるように構成されるとともに、前記軸方向から見たときに、前記捻転抑制ローラと前記支点ガイドとを結ぶ最短経路上から外れた位置に配置されている。
(【0011】以降は省略されています)
この特許をJ-PlatPat(特許庁公式サイト)で参照する
関連特許
村田機械株式会社
紡績機
1か月前
村田機械株式会社
搬送車
7日前
村田機械株式会社
自動倉庫
1か月前
村田機械株式会社
自動倉庫
1か月前
村田機械株式会社
天井搬送車
2か月前
村田機械株式会社
搬送システム
2か月前
村田機械株式会社
自動ワインダ
22日前
村田機械株式会社
紙管分離装置
24日前
村田機械株式会社
ボビン検査装置
今日
村田機械株式会社
搬送車システム
1か月前
村田機械株式会社
走行車システム
16日前
村田機械株式会社
走行車システム
1か月前
村田機械株式会社
ボビン解舒装置
1か月前
村田機械株式会社
スタッカクレーン
15日前
村田機械株式会社
有軌道台車システム
1か月前
村田機械株式会社
タスク管理システム
1日前
村田機械株式会社
天井走行車システム
17日前
村田機械株式会社
ピッキングシステム
2か月前
村田機械株式会社
玉揚装置及び自動ワインダ
15日前
村田機械株式会社
繊維束の合流方法及び繊維束合流装置
1か月前
村田機械株式会社
認証システム、およびゲートウェイ装置
1日前
村田機械株式会社
レーザ加工機、レーザ加工方法及びプログラム作成装置
1日前
住友理工株式会社
制振ストッパー及び自動倉庫のラック
2か月前
個人
収容箱
4か月前
個人
束ね具
10日前
個人
コンベア
6か月前
個人
容器
10か月前
個人
段ボール箱
7か月前
個人
段ボール箱
8か月前
個人
ゴミ収集器
7か月前
個人
バンド
2か月前
個人
土嚢運搬器具
9か月前
個人
テープ引出機
10日前
個人
宅配システム
7か月前
個人
楽ちんハンド
5か月前
個人
角筒状構造体
6か月前
続きを見る
他の特許を見る