TOP
|
特許
|
意匠
|
商標
特許ウォッチ
Twitter
他の特許を見る
10個以上の画像は省略されています。
公開番号
2025159934
公報種別
公開特許公報(A)
公開日
2025-10-22
出願番号
2024062816
出願日
2024-04-09
発明の名称
有軌道台車システム
出願人
村田機械株式会社
代理人
個人
,
個人
,
個人
,
個人
主分類
B61B
13/00 20060101AFI20251015BHJP(鉄道)
要約
【課題】有軌道台車の走行方向の変更をスムーズに行なうことが可能な有軌道台車システムを提供する。
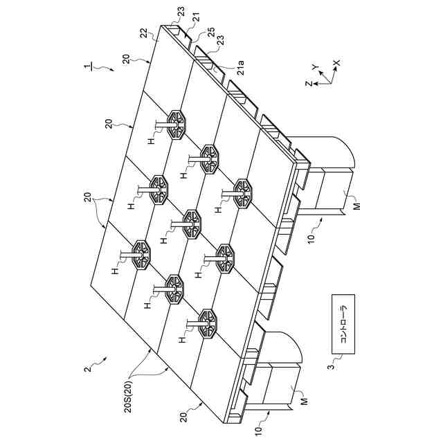
【解決手段】有軌道台車システム1は、交差部5Xを介して交差する複数の経路5を形成する軌道部2と、複数の経路5に沿って走行可能な天井走行車10と、を備え、交差部5Xにおいて天井走行車10が走行方向を選択して走行するシステムである。軌道部2は、複数の経路5に沿って配置された磁気プレート24を有する。天井走行車10は、磁気プレート24との間で走行又は停止のための磁力を発生させるリニアモータ31と、支持車輪33を含み、交差部5Xにて選択した走行方向に支持車輪33の転動方向を変更可能な車輪部32と、を有する。
【選択図】図7
特許請求の範囲
【請求項1】
交差部を介して交差する複数の経路を形成する軌道部と、複数の前記経路に沿って走行可能な有軌道台車と、を備え、前記交差部において前記有軌道台車が走行方向を選択して走行する有軌道台車システムであって、
前記軌道部は、複数の前記経路に沿って配置された磁石を有し、
前記有軌道台車は、
前記磁石との間で走行又は停止のための磁力を発生させるリニアモータと、
支持車輪を含み、前記交差部にて選択した走行方向に前記支持車輪の転動方向を変更可能な車輪部と、を有する、有軌道台車システム。
続きを表示(約 1,200 文字)
【請求項2】
前記車輪部は、全方向移動型車輪により構成される、請求項1に記載の有軌道台車システム。
【請求項3】
前記車輪部は、前記交差部にて選択した走行方向に前記支持車輪の転動方向を変更するステアリングモータを含む、請求項1に記載の有軌道台車システム。
【請求項4】
複数の前記経路の少なくとも一部は、格子状に延在するように前記交差部を介して交差する、請求項1又は2に記載の有軌道台車システム。
【請求項5】
前記有軌道台車は、天井走行車であって、前記リニアモータ及び前記車輪部を含む走行部と、前記軌道部よりも下方に配置されて前記走行部から懸垂される本体部と、を有する、請求項1又は2に記載の有軌道台車システム。
【請求項6】
前記軌道部は、
前記支持車輪が接触可能な走行面を上面に含む走行板部と、
前記走行板部の上方に配置され、前記天井に吊り下げられる天板部と、
前記走行板部と前記天板部とを連結する柱部と、を有し、
前記天板部の下面には、複数の前記経路に沿って前記磁石が配置され、
前記走行板部には、前記走行部と前記本体部とを連結する連結部が挿通される開口が、複数の前記経路に沿って延在するように形成されている、請求項5に記載の有軌道台車システム。
【請求項7】
前記有軌道台車は、
前記軌道部に対して第1水平方向に当接可能な第1ローラと、
前記軌道部に対して前記第1水平方向と交差する第2水平方向に当接可能な第2ローラと、を有し、
前記第1ローラ及び前記第2ローラは、前記交差部において前記有軌道台車が走行方向を変更して走行する場合に、前記第1ローラ及び前記第2ローラのうちの当該走行方向に応じた何れか一方が前記軌道部に対して当接するように昇降する、請求項1又は2に記載の有軌道台車システム。
【請求項8】
前記有軌道台車は、当該有軌道台車の向きを補正する電磁石を有し、
前記電磁石は、前記軌道部の経路に沿って配置された前記磁石を、当該経路の延在方向と直交する水平方向において挟む位置に配置される、請求項1又は2に記載の有軌道台車システム。
【請求項9】
前記車輪部は、フリーキャスタにより構成される、請求項1に記載の有軌道台車システム。
【請求項10】
前記軌道部は、前記フリーキャスタの前記支持車輪としてのボール部が接触可能な走行面を上面に含む走行板部を有し、
前記走行面において前記交差部に位置する前記有軌道台車の前記ボール部に対応する位置には、当該ボール部の一部が入り込む凹部が形成されている、請求項9に記載の有軌道台車システム。
(【請求項11】以降は省略されています)
発明の詳細な説明
【技術分野】
【0001】
本発明の一側面は、有軌道台車システムに関する。
続きを表示(約 1,300 文字)
【背景技術】
【0002】
交差部を介して交差する複数の経路を形成する軌道部と、複数の経路に沿って走行可能な有軌道台車と、を備え、交差部において有軌道台車が走行方向を選択して走行する有軌道台車システムが知られている(例えば、特許文献1参照)。このような有軌道台車システムでは、有軌道台車は、走行車輪を走行駆動モータにより回転駆動することにより、経路に沿って走行する。また、有軌道台車は、交差部において、複数の走行車輪を旋回させることで走行方向を変更する。
【先行技術文献】
【特許文献】
【0003】
国際公開第2018/037762号
【発明の概要】
【発明が解決しようとする課題】
【0004】
上記の有軌道台車システムでは、前述のように、各駆動輪を所定の向きに正確に旋回させることで有軌道台車の走行方向を変更することから、当該変更に時間がかかってしまう場合がある。
【0005】
そこで、本発明の一側面は、有軌道台車の走行方向の変更をスムーズに行なうことが可能な有軌道台車システムを提供することを目的とする。
【課題を解決するための手段】
【0006】
(1)本発明の一側面に係る有軌道台車システムは、交差部を介して交差する複数の経路を形成する軌道部と、複数の経路に沿って走行可能な有軌道台車と、を備え、交差部において有軌道台車が走行方向を選択して走行する有軌道台車システムであって、軌道部は、複数の経路に沿って配置された磁石を有し、有軌道台車は、磁石との間で走行又は停止のための磁力を発生させるリニアモータと、支持車輪を含み、交差部にて選択した走行方向に支持車輪の転動方向を変更可能な車輪部と、を有する。
【0007】
この有軌道台車システムでは、有軌道台車の走行方向を変更する場合、交差部において、リニアモータと磁石との間で発生させた磁力により、有軌道台車を選択した走行方向へ走行させる。このとき、車輪部では、選択した当該走行方向に応じて支持車輪の転動方向を変えて転動する。よって、駆動輪を所定の向きに正確に旋回させて有軌道台車の走行方向を変更する必要がなく、有軌道台車の走行方向の変更をスムーズに行なうことが可能となる。
【0008】
(2)上記(1)に記載の有軌道台車システムでは、車輪部は、全方向移動型車輪により構成されていてもよい。この場合、全方向移動型車輪を利用して車輪部を簡易に構成することができる。
【0009】
(3)上記(1)に記載の有軌道台車システムでは、車輪部は、交差部にて選択した走行方向に支持車輪の転動方向を変更するステアリングモータを含んでいてもよい。この場合、ステアリングモータを利用して車輪部を簡易に構成することができる。
【0010】
(4)上記(1)~(3)の何れかに記載の有軌道台車システムでは、複数の経路の少なくとも一部は、格子状に延在するように交差部を介して交差してもよい。この場合、多彩な走行ルートで有軌道台車を走行させることができる。
(【0011】以降は省略されています)
この特許をJ-PlatPat(特許庁公式サイト)で参照する
関連特許
村田機械株式会社
搬送車
7日前
村田機械株式会社
紡績機
1か月前
村田機械株式会社
自動倉庫
1か月前
村田機械株式会社
自動倉庫
1か月前
村田機械株式会社
天井搬送車
2か月前
村田機械株式会社
搬送システム
2か月前
村田機械株式会社
自動ワインダ
22日前
村田機械株式会社
紙管分離装置
24日前
村田機械株式会社
走行車システム
16日前
村田機械株式会社
ボビン解舒装置
1か月前
村田機械株式会社
搬送車システム
1か月前
村田機械株式会社
走行車システム
1か月前
村田機械株式会社
ボビン検査装置
今日
村田機械株式会社
スタッカクレーン
15日前
村田機械株式会社
天井走行車システム
17日前
村田機械株式会社
タスク管理システム
1日前
村田機械株式会社
有軌道台車システム
1か月前
村田機械株式会社
玉揚装置及び自動ワインダ
15日前
村田機械株式会社
繊維束の合流方法及び繊維束合流装置
1か月前
村田機械株式会社
認証システム、およびゲートウェイ装置
1日前
村田機械株式会社
レーザ加工機、レーザ加工方法及びプログラム作成装置
1日前
日本信号株式会社
検査装置
22日前
個人
車両及び走行システム
7か月前
日本信号株式会社
検査装置
11か月前
日本信号株式会社
ホーム柵
2か月前
日本信号株式会社
ホーム柵
3か月前
近畿車輌株式会社
耐火床構造
1か月前
日本車輌製造株式会社
鉄道車両
1か月前
日本信号株式会社
ホーム柵装置
7か月前
カヤバ株式会社
鉄道車両用制振装置
11か月前
近畿車輌株式会社
鉄道車両の床構造
11か月前
近畿車輌株式会社
鉄道車両の床構造
11か月前
ナブテスコ株式会社
ホームドア装置
3か月前
日本信号株式会社
列車接近警報装置
3か月前
川崎車両株式会社
鉄道車両用パネル
9か月前
近畿車輌株式会社
鉄道車両の床構造
11か月前
続きを見る
他の特許を見る