TOP
|
特許
|
意匠
|
商標
特許ウォッチ
Twitter
他の特許を見る
10個以上の画像は省略されています。
公開番号
2025178671
公報種別
公開特許公報(A)
公開日
2025-12-09
出願番号
2024085419
出願日
2024-05-27
発明の名称
レールユニット
出願人
村田機械株式会社
代理人
個人
,
個人
,
個人
,
個人
主分類
B61B
13/06 20060101AFI20251202BHJP(鉄道)
要約
【課題】一対の側壁部材から突出するレール部材の先端部の高さ位置を容易に調整することができるレールユニットを提供する。
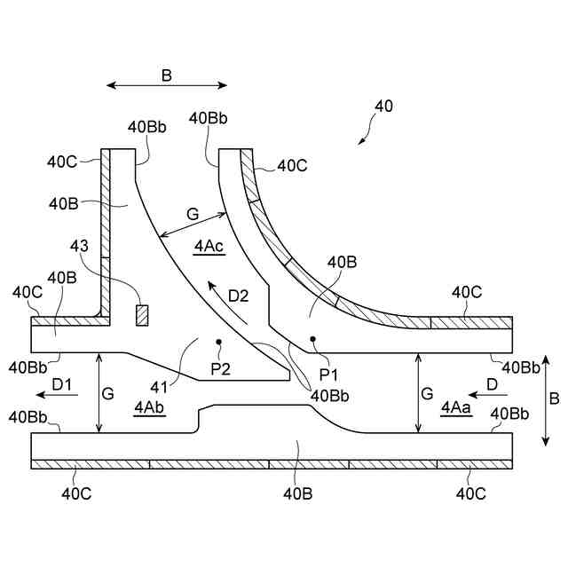
【解決手段】レールユニット40は、走行車6の走行方向Dに直交する幅方向Bに対向する一対の側壁部材40C,40Cと、走行車6の走行ローラ51が転動する一対のレール部材40B,40Bであって、基端部40Baが一対の側壁部材40C,40Cのそれぞれに接続され、先端部40Bbが対向する側壁部材40Cに向かって幅方向Bに突出する一対のレール部材40B,40Bと、一対の側壁部材40C,40C同士を連結する天板部材40Dと、一端43Aがレール部材40Bに取り付けられ、他端43Bが天板部材40Dに取り付けられ、レール部材40Bの先端部40Bbの高さ位置を調整する調整ポスト43と、を備える。
【選択図】図4
特許請求の範囲
【請求項1】
走行車が一方向に走行するレールユニットであって、
前記走行車の走行方向に直交する幅方向に対向する一対の側壁部材と、
前記走行車の車輪が転動する一対のレール部材であって、基端部が前記一対の側壁部材のそれぞれに接続され、先端部が対向する前記側壁部材に向かって前記幅方向に突出する前記一対のレール部材と、
前記一対の側壁部材同士を連結する天板部材と、
一端が前記レール部材に取り付けられ、他端が前記天板部材又は前記側壁部材に取り付けられ、前記レール部材の前記先端部の高さ位置を調整する調整ポストと、を備える、レールユニット。
続きを表示(約 980 文字)
【請求項2】
前記調整ポストの一端と前記レール部材との間には、着脱自在の高さ調整用のシム部材が配置されている、請求項1記載のレールユニット。
【請求項3】
一方向に進入する前記走行車を互いに異なる第一分岐方向及び第二分岐方向に進出させる分岐部を構成する前記レールユニットであって、
前記レール部材は、前記分岐部において前記第一分岐方向に進出する前記走行車の前記車輪及び前記第二分岐方向に進出する前記走行車の前記車輪の両方が転動する第一兼用部を有し、
前記調整ポストは、前記第一兼用部に設けられている、請求項1又は2記載のレールユニット。
【請求項4】
前記レール部材は、前記分岐部において一方向に進入する前記走行車の前記車輪が転動する進入部を有し、前記進入部と前記第一兼用部との間には、前記走行車の走行方向に沿って隙間が設けられると共に、
前記第一兼用部の前記レール部材における前記先端部の高さ位置が、前記進入部における前記先端部の高さ位置と同じ、又は、前記進入部における前記先端部の高さ位置よりも低くなるように、前記調整ポストによって調整されている、請求項3記載のレールユニット。
【請求項5】
互いに異なる第一合流方向及び第二合流方向から進入する前記走行車を一方向に進出させる合流部を構成する前記レールユニットであって、
前記レール部材は、前記合流部において前記第一合流方向から進入する前記走行車の前記車輪及び前記第二合流方向から進入する前記走行車の前記車輪の両方が転動する第二兼用部を有し、
前記調整ポストは、前記第二兼用部に設けられている、請求項1又は2記載のレールユニット。
【請求項6】
前記レール部材は、前記合流部において一方向に進出する前記走行車の前記車輪が転動する進出部を有し、前記第二兼用部と前記進出部との間には、前記走行車の走行方向に沿って隙間が設けられると共に、
前記第二兼用部の前記レール部材における前記先端部の高さ位置が、前記進出部における前記先端部の高さ位置と同じ、又は、前記進出部における前記先端部の高さ位置よりも高くなるように、前記調整ポストによって調整されている、請求項5記載のレールユニット。
発明の詳細な説明
【技術分野】
【0001】
本発明の一側面は、レールユニットに関する。
続きを表示(約 1,700 文字)
【背景技術】
【0002】
半導体製造工場等のクリーンルームにおいて、走行レールに沿って物品を搬送する無人搬送車を走行させる無人搬送車システムが知られている。この走行レールは、走行車の車輪が転動する走行面と、走行面に直交する側面と、側面を接続する天井面と、を有している。例えば、特許文献1には、走行面を構成するレール部材と、側面を構成する一対の側壁部材と、天井面を構成する天板部材とがボルトによって締結されることで一体化されたレールユニット(レール部材)が開示されている。
【先行技術文献】
【特許文献】
【0003】
特開2003-3405号公報
【発明の概要】
【発明が解決しようとする課題】
【0004】
しかしながら、上記従来のレールユニットは、レール部材が一対の側壁部材のそれぞれから突出するようにボルトによって取り付けられる構成のため、レール部材の突出先端側の位置が上下する場合がある。ところが、このような先端側の位置の上下によって、例えば隣り合うレールユニット間においてレール部材の走行面に段差が生じると、走行車の車輪が損傷したり、走行時の振動によって被搬送物に問題が生じたりするおそれがある。
【0005】
そこで、本発明の一側面の目的は、一対の側壁部材から突出するレール部材の先端部の高さ位置を容易に調整することができる、レールユニットを提供することにある。
【課題を解決するための手段】
【0006】
(1)本発明の一側面に係るレールユニットは、走行車が一方向に走行するレールユニットであって、走行車の走行方向に直交する幅方向に対向する一対の側壁部材と、走行車の車輪が転動する一対のレール部材であって、基端部が前記一対の側壁部材のそれぞれに接続され、先端部が対向する側壁部材に向かって幅方向に突出する一対のレール部材と、一対の側壁部材同士を連結する天板部材と、一端がレール部材に取り付けられ、他端が天板部材又は側壁部材に取り付けられ、レール部材の先端部の高さ位置を調整する調整ポストと、を備える。
【0007】
この構成のレールユニットは、レール部材と天板部材又は側壁部材との間に設けられる調整ポストの一端によってレール部材を押し下げたり、引っ張り上げたりすることができる。これにより、調整ポストの長さを変える(調整する)ことによって、一対の側壁部材から突出するレール部材の先端部の高さ位置を容易に調整することができる。
【0008】
(2)上記(1)のレールユニットにおいて、調整ポストの一端とレール部材との間には、着脱自在の高さ調整用のシム部材が配置されていてもよい。この構成では、レール部材の先端部の高さ位置を微調整することが容易となる。
【0009】
(3)上記(1)又は(2)のレールユニットにおいて、一方向に進入する走行車を互いに異なる第一分岐方向及び第二分岐方向に進出させる分岐部を構成するレールユニットであって、レール部材は、分岐部において第一分岐方向に進出する走行車の車輪及び第二分岐方向に進出する走行車の車輪の両方が転動する第一兼用部を有し、調整ポストは、第一兼用部に設けられていてもよい。この構成では、第一兼用部の先端部の高さ位置を容易に調整することができる。
【0010】
(4)上記(3)のレールユニットにおいて、レール部材は、分岐部において一方向に進入する走行車の車輪が転動する進入部を有し、進入部と第一兼用部との間には、走行車の走行方向に沿って隙間が設けられると共に、第一兼用部のレール部材における先端部の高さ位置が、進入部における先端部の高さ位置と同じ、又は、進入部における先端部の高さ位置よりも低くなるように、調整ポストによって調整されていてもよい。この構成では、車輪が隙間を介して進入部から第一兼用部に乗り移る場合であっても、スムーズに乗り移ることが可能となる。
(【0011】以降は省略されています)
この特許をJ-PlatPat(特許庁公式サイト)で参照する
関連特許
他の特許を見る