TOP
|
特許
|
意匠
|
商標
特許ウォッチ
Twitter
他の特許を見る
10個以上の画像は省略されています。
公開番号
2025176577
公報種別
公開特許公報(A)
公開日
2025-12-04
出願番号
2024082827
出願日
2024-05-21
発明の名称
搬送装置
出願人
伊東電機株式会社
代理人
個人
主分類
B65G
39/12 20060101AFI20251127BHJP(運搬;包装;貯蔵;薄板状または線条材料の取扱い)
要約
【課題】組み立てが容易である搬送装置を提供することを目的とするものである。
【解決手段】複数の搬送ローラ8と、当該搬送ローラ8を支持するフレーム6を有し、いずれかの搬送ローラ間に動力伝動部材7が設けられている。搬送ローラ8は取り付け軸20を有し、フレーム6には支持部があり、前記取り付け軸20が前記支持部に配置された状態で前記搬送ローラが前記フレーム6に取り付けられている。前記フレーム6に、前記支持部に繋がる誘導部40、41がある。
【選択図】 図7
特許請求の範囲
【請求項1】
複数の搬送ローラと、当該搬送ローラを支持するフレームを有し、いずれかの搬送ローラ間に動力伝動部材が設けられている搬送装置であって、前記搬送ローラは取り付け軸を有し、前記フレームには支持部があり、前記取り付け軸が前記支持部に配置された状態で前記搬送ローラが前記フレームに取り付けられた搬送装置において、
前記フレームに、前記支持部に繋がる誘導部があることを特徴とする搬送装置。
続きを表示(約 600 文字)
【請求項2】
前記誘導部は、水平成分を有する孔又は溝であることを特徴とする請求項1に記載の搬送装置。
【請求項3】
前記支持部を中心として、搬送方向の一方側に設けられた前側誘導部と、搬送方向の他方側に設けられた後側誘導部を有することを特徴とする請求項1に記載の搬送装置。
【請求項4】
前記フレームには前記誘導部と前記支持部を構成する貫通孔が設けられており、前記貫通孔は、前記誘導部を構成する水平方向成分を有していて搬送方向にのびる横孔部と、前記横孔部の一部から下方向にのびている縦孔部を有し、当該縦孔部が前記支持部として機能することを特徴とする請求項1に記載の搬送装置。
【請求項5】
動力伝動部材は心線を有する動力伝動ベルトであることを特徴とする請求項1に記載の搬送装置。
【請求項6】
搬送ローラには搬送物の搬送に寄与する搬送部と、プーリが設けられた動力伝動領域があり、前記動力伝動部材は動力伝動ベルトであり、いずれかの搬送ローラのプーリ間に動力伝動ベルトが巻回されており、
複数の搬送ローラの動力伝動領域を覆うカバー部材があり、当該カバー部材は、動力伝動領域の上を覆う天面部と、当該天面部から垂下された縦壁部を有し、当該縦壁部に搬送ローラの一部が入る切り欠きが設けられていることを特徴とする請求項1に記載の搬送装置。
発明の詳細な説明
【技術分野】
【0001】
本発明は搬送物を搬送する搬送装置に関するものであり、特に複数の搬送ローラを備えた搬送装置に関するものである。
続きを表示(約 2,000 文字)
【背景技術】
【0002】
ローラコンベヤと称される搬送装置が知られている。
代表的なローラコンベヤは、平行に配置された左右一対のフレーム片の間に、搬送物を搬送する複数の搬送ローラが搬送方向に所定間隔で軸支されたものである。
ローラコンベヤでは、多くの場合、いくつかの搬送ローラが動力によって回転し、搬送物を移動させる。
特許文献1に開示されたローラコンベヤは、一つの搬送ローラが駆動用モータを内蔵するモータ内蔵ローラであり、他の搬送ローラは空転ローラである。
特許文献1に開示されたローラコンベヤでは、隣接する搬送ローラ同士の間に動力伝動ベルトが巻回されており、隣接する搬送ローラ間で回転力が伝動される。
特許文献1では、全ての搬送ローラが動力伝動ベルトで係合しており、一つのモータ内蔵ローラの回転力が全ての搬送ローラに伝動され、全ての搬送ローラが回転する。
【先行技術文献】
【特許文献】
【0003】
特開2019-210100号公報
【発明の概要】
【発明が解決しようとする課題】
【0004】
従来技術の搬送装置は前記した様に隣接する搬送ローラ同士の間に動力伝動ベルト(以下 単にベルトと称する)が巻回されており、隣接する搬送ローラ間で回転力が伝動される。ここでベルトは摩擦伝動であり、すべりがある。そのため一対の搬送ローラ間の関係で、駆動側となるローラの回転と従動側となるローラの回転との間に速度差が生じる。もちろん、搬送ローラ間に速度差があることは好ましいことではない。
【0005】
ところで、一般に、ベルトの張りが弱いとすべりが大きく、ベルトの張りが強いとすべりが少ない。そのためベルトのすべりを少なくすることを目的として、ベルトを高張力で巻回する場合がある。この場合、ベルトは高張力に耐える構造のものが選定される。
例えば丸ベルトは心線を有しないので高張力に耐えない。これに対して、例えばVリブドベルトは、心線を有しており、伸び率が小さく、高張力に耐える。即ちVリブドベルトは、引っ張り力を受けても伸びにくい。Vリブドベルトは、高張力で巻回することができるので動力伝動効率が高い。
その反面、Vリブドベルトは伸びにくいので、軸間距離が短いプーリに巻回するのは容易ではない。そのため伸びにくいベルトを使用する搬送装置は、組み立てが困難であるという問題がある。
本発明は、従来技術の上記した問題を解決するものであり、組み立てが容易である搬送装置を提供することを目的とするものである。
【課題を解決するための手段】
【0006】
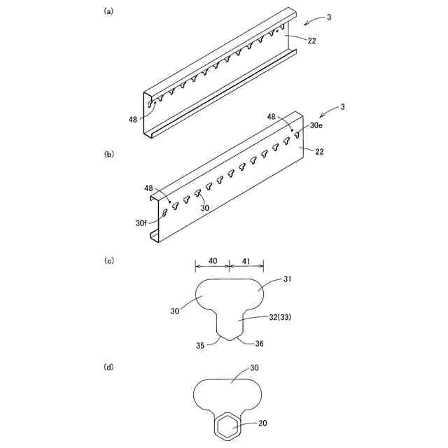
上記した課題を解決するための態様は、複数の搬送ローラと、当該搬送ローラを支持するフレームを有し、いずれかの搬送ローラ間に動力伝動部材が設けられている搬送装置であって、前記搬送ローラは取り付け軸を有し、前記フレームには支持部があり、前記取り付け軸が前記支持部に配置された状態で前記搬送ローラが前記フレームに取り付けられた搬送装置において、前記フレームに、前記支持部に繋がる誘導部があることを特徴とする搬送装置である。
【0007】
本態様の搬送装置は、いずれかの搬送ローラ間に動力伝動部材が設けられており、当該動力伝動部材によって回転力が伝動される。
本態様の搬送装置では、搬送ローラに取り付け軸があり、フレームには支持部がある。そして取り付け軸が支持部と係合した状態で搬送ローラがフレームに取り付けられる。即ち本態様の搬送装置においては、各搬送ローラの取り付け軸が、フレームの対応する支持部に配置された状態のときに、各搬送ローラ間が適正な距離となる。
本態様の搬送装置では、フレームに、支持部に繋がる誘導部がある。そのため、本態様の搬送装置では、各搬送ローラの取り付け軸を対応する支持部に至らせる前に、誘導部に仮置きすることができる。そしていずれかの搬送ローラの取り付け軸を対応する支持部に係合させ、当該搬送ローラの横方向の移動を阻止した状態で、他の搬送ローラの取り付け軸を対応する支持部に押し入れることができる。
【0008】
上記した態様において、前記誘導部は、水平成分を有する孔又は溝であることが望ましい。
【0009】
本態様によると、搬送ローラの取り付け軸を誘導部に係合し、誘導部に沿って取り付け軸を移動して当該取り付け軸を支持部に導くことができる。
【0010】
上記した各態様において、前記支持部を中心として、搬送方向の一方側に設けられた前側誘導部と、搬送方向の他方側に設けられた後側誘導部を有することが望ましい。
(【0011】以降は省略されています)
この特許をJ-PlatPat(特許庁公式サイト)で参照する
関連特許
伊東電機株式会社
搬送装置
5日前
伊東電機株式会社
搬送装置
1か月前
伊東電機株式会社
搬送装置
2か月前
伊東電機株式会社
コンベヤ装置
11日前
伊東電機株式会社
コンベヤ装置
1か月前
伊東電機株式会社
コンベヤユニット
11日前
伊東電機株式会社
作業車両用アタッチメント
5日前
個人
収容箱
4か月前
個人
束ね具
28日前
個人
コンベア
6か月前
個人
ゴミ収集器
8か月前
個人
段ボール箱
8か月前
個人
容器
10か月前
個人
段ボール箱
8か月前
個人
角筒状構造体
7か月前
個人
楽ちんハンド
6か月前
個人
宅配システム
8か月前
個人
土嚢運搬器具
9か月前
個人
バンド
3か月前
個人
テープ引出機
28日前
個人
お薬の締結装置
7か月前
個人
包装容器
2か月前
個人
コード類収納具
9か月前
個人
廃棄物収容容器
4か月前
個人
棒状体収容容器
1か月前
株式会社和気
包装用箱
10か月前
個人
積み重ね用補助具
4か月前
個人
ゴミ処理機
10か月前
個人
蓋閉止構造
5か月前
株式会社コロナ
梱包材
7か月前
株式会社和気
包装用箱
1か月前
株式会社バンダイ
物品
2か月前
個人
貯蔵サイロ
8か月前
個人
把手付米袋
6か月前
個人
蓋閉止構造
5か月前
個人
輸送積荷用動吸振器
7か月前
続きを見る
他の特許を見る