TOP
|
特許
|
意匠
|
商標
特許ウォッチ
Twitter
他の特許を見る
公開番号
2025176241
公報種別
公開特許公報(A)
公開日
2025-12-04
出願番号
2024082251
出願日
2024-05-21
発明の名称
前後進判定装置、前後進判定方法及び前後進判定プログラム
出願人
三菱電機株式会社
代理人
弁理士法人クロスボーダー特許事務所
主分類
G08G
1/04 20060101AFI20251127BHJP(信号)
要約
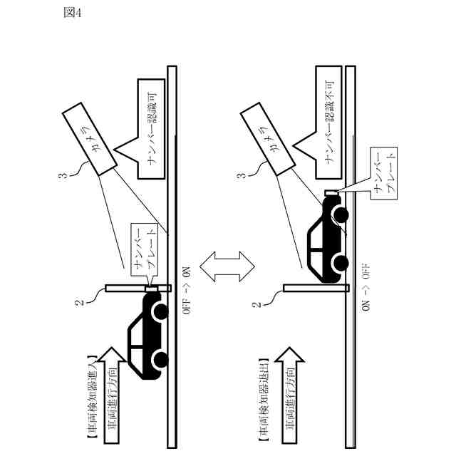
【課題】複数の車両検知器を用いることなく、車両が前進しているか後進しているかを判定可能にする。
【解決手段】前後進判定装置10は、車両検知器2による検知状態がOFF状態からON状態に変化したONタイミングに得られた画像データからナンバープレートが検知されたか否かを示すON時結果を取得する。前後進判定装置10は、車両検知器2による検知状態がON状態からOFF状態に変化したOFFタイミングに得られた画像データからナンバープレートが検知されたか否かを示すOFF時結果を取得する。前後進判定装置10は、ON時結果とOFF時結果との組合せから、車両が前進しているか後進しているかを判定する。
【選択図】図1
特許請求の範囲
【請求項1】
通行レーンにおける検知領域に存在する車両を検知する車両検知器による検知状態が検知していないOFF状態から検知しているON状態に変化したONタイミングに撮影領域を撮影して得られた画像データから前記車両のナンバープレートが検知されたか否かを示すON時結果を取得するとともに、前記検知状態が前記ON状態から前記OFF状態に変化したOFFタイミングに前記撮影領域を撮影して得られた画像データから前記車両のナンバープレートが検知されたか否かを示すOFF時結果を取得する検知結果取得部と、
前記検知結果取得部によって取得された前記ON時結果と前記OFF時結果との組合せから、前記車両が前進しているか後進しているかを判定する前後進判定部と
を備える前後進判定装置。
続きを表示(約 1,100 文字)
【請求項2】
前記撮影領域は、前記検知領域に前進して進入した車両と、前記検知領域から後進して退出した車両とのナンバープレートは含まれ、前記検知領域から前進して退出した車両と前記検知領域に後進して進入した車両とのナンバープレートが含まれないように設定されている
請求項1に記載の前後進判定装置。
【請求項3】
前記前後進判定部は、前記ON時結果がナンバープレートが検知されたことを示し、前記OFF時結果がナンバープレートが検知されなかったことを示す場合に、前記車両が前進して前記通行レーンに進入して前進して前記通行レーンから退出したと判定する
請求項2に記載の前後進判定装置。
【請求項4】
前記前後進判定装置は、さらに、
前記前後進判定部によって判定された結果を用いて、前記通行レーンに進入した車両の台数を特定する台数特定部
を備える請求項1に記載の前後進判定装置。
【請求項5】
前記通行レーンは、電子料金収受システムが設置されたレーンである
請求項1に記載の前後進判定装置。
【請求項6】
コンピュータが、通行レーンにおける検知領域に存在する車両を検知する車両検知器による検知状態が検知していないOFF状態から検知しているON状態に変化したONタイミングに撮影領域を撮影して得られた画像データから前記車両のナンバープレートが検知されたか否かを示すON時結果を取得するとともに、前記検知状態が前記ON状態から前記OFF状態に変化したOFFタイミングに前記撮影領域を撮影して得られた画像データから前記車両のナンバープレートが検知されたか否かを示すOFF時結果を取得し、
コンピュータが、前記ON時結果と前記OFF時結果との組合せから、前記車両が前進しているか後進しているかを判定する前後進判定方法。
【請求項7】
通行レーンにおける検知領域に存在する車両を検知する車両検知器による検知状態が検知していないOFF状態から検知しているON状態に変化したONタイミングに撮影領域を撮影して得られた画像データから前記車両のナンバープレートが検知されたか否かを示すON時結果を取得するとともに、前記検知状態が前記ON状態から前記OFF状態に変化したOFFタイミングに前記撮影領域を撮影して得られた画像データから前記車両のナンバープレートが検知されたか否かを示すOFF時結果を取得する検知結果取得処理と、
前記検知結果取得処理によって取得された前記ON時結果と前記OFF時結果との組合せから、前記車両が前進しているか後進しているかを判定する前後進判定処理と
を行う前後進判定装置としてコンピュータを機能させる前後進判定プログラム。
発明の詳細な説明
【技術分野】
【0001】
本開示は、車両が前進しているか後進しているかを判定する技術に関する。
続きを表示(約 2,300 文字)
【背景技術】
【0002】
電子料金収受システムでは、通行レーンに滞在している車両の台数を常時管理し、課金済の台数と照合することで課金漏れが発生していないか確認している。
現在は、車両を検知するセンサーである車両検知器が、通行レーンの入口付近に2台設置されている。2台の車両検知器によって車両が検知された順序により、車両が前進しているか後進しているかが判定される。車両が前進しているか後進しているかによって、通行レーンに車両が進入したか退出したかが判定される。これにより、通行レーンに滞在している車両の台数が特定される。
【先行技術文献】
【特許文献】
【0003】
特開2021-002212号公報
【発明の概要】
【発明が解決しようとする課題】
【0004】
コスト削減等のために、車両検知器を1台としたいという要望がある。車両検知器を1台にしてしまうと、現在用いている、車両が前進しているか後進しているかの判定方法は使えなくなる。車両が前進しているか後進しているかが判定できないと、通行レーンに滞在している車両の台数を特定できなくなる。その結果、電子料金収受システムにおいて重要な事項である、課金漏れの発生有無を適切に確認できなくなる。
本開示は、複数の車両検知器を用いることなく、車両が前進しているか後進しているかを判定可能にすることを目的とする。
【課題を解決するための手段】
【0005】
本開示に係る前後進判定装置は、
通行レーンにおける検知領域に存在する車両を検知する車両検知器による検知状態が検知していないOFF状態から検知しているON状態に変化したONタイミングに撮影領域を撮影して得られた画像データから前記車両のナンバープレートが検知されたか否かを示すON時結果を取得するとともに、前記検知状態が前記ON状態から前記OFF状態に変化したOFFタイミングに前記撮影領域を撮影して得られた画像データから前記車両のナンバープレートが検知されたか否かを示すOFF時結果を取得する検知結果取得部と、
前記検知結果取得部によって取得された前記ON時結果と前記OFF時結果との組合せから、前記車両が前進しているか後進しているかを判定する前後進判定部と
を備える。
【発明の効果】
【0006】
本開示では、ONタイミングにおいてナンバープレートが検知されたか否かと、OFFタイミングにおいてナンバープレートが検知されたか否かとの組合せから、車両が前進しているか後進しているかが判定される。これにより、車両検知器を1台にした場合にも、車両が前進しているか後進しているかを判定可能である。
【図面の簡単な説明】
【0007】
実施の形態1に係る電子料金収受システム1の構成図。
実施の形態1に係る前後進判定装置10の構成図。
実施の形態1に係る前後進判定装置10の動作を示すフローチャート。
実施の形態1に係る撮影領域の説明図。
実施の形態1に係るON時結果とOFF時結果との組合せの説明図。
【発明を実施するための形態】
【0008】
実施の形態1.
***構成の説明***
図1を参照して、実施の形態1に係る電子料金収受システム1の構成を説明する。
電子料金収受システム1は、車両検知器2と、カメラ3と、路側アンテナ4と、NP装置5と、前後進判定装置10といった装置を備える。
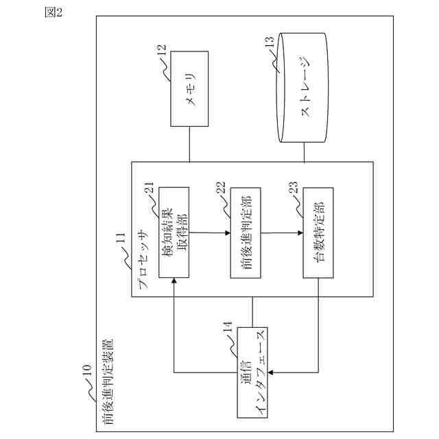
車両検知器2は、通行レーン6の入口付近における通行レーン6の両側に設けられた一対の機器によって構成される。車両検知器2は、一対の機器の間の検知領域7に存在する車両を検知する。カメラ3は、車両の進行方向の前方から通行レーン6における撮影領域を撮像するように設けられている。撮影領域は、検知領域7の辺りに設定されている。カメラ3は、通行レーン6に存在する車両のナンバーを認識するために利用される。路側アンテナ4は、車両に搭載された車載器と通信して、料金の収受を行うために利用される。NP装置5は、カメラ3によって得られた画像データから、車両のナンバープレートを検知し、ナンバーを認識するコンピュータである。前後進判定装置10は、NP装置5の検知結果から、車両が前進しているか後進しているかを判定するコンピュータである。
【0009】
図2を参照して、実施の形態1に係る前後進判定装置10の構成を説明する。
前後進判定装置10は、コンピュータである。
前後進判定装置10は、プロセッサ11と、メモリ12と、ストレージ13と、通信インタフェース14とのハードウェアを備える。プロセッサ11は、信号線を介して他のハードウェアと接続され、これら他のハードウェアを制御する。
【0010】
プロセッサ11は、プロセッシングを行うICである。ICはIntegrated Circuitの略である。プロセッサ11は、具体例としては、CPU、DSP、GPUである。CPUは、Central Processing Unitの略である。DSPは、Digital Signal Processorの略である。GPUは、Graphics Processing Unitの略である。
(【0011】以降は省略されています)
この特許をJ-PlatPat(特許庁公式サイト)で参照する
関連特許
三菱電機株式会社
換気扇
1か月前
三菱電機株式会社
増幅器
1か月前
三菱電機株式会社
換気扇
1か月前
三菱電機株式会社
換気扇
1か月前
三菱電機株式会社
冷蔵庫
19日前
三菱電機株式会社
扇風機
1か月前
三菱電機株式会社
冷蔵庫
1か月前
三菱電機株式会社
換気扇
12日前
三菱電機株式会社
電子機器
1か月前
三菱電機株式会社
送風装置
今日
三菱電機株式会社
送風装置
今日
三菱電機株式会社
照明器具
13日前
三菱電機株式会社
換気装置
11日前
三菱電機株式会社
電気機器
19日前
三菱電機株式会社
照明装置
1か月前
三菱電機株式会社
収集装置
1か月前
三菱電機株式会社
半導体装置
今日
三菱電機株式会社
半導体装置
6日前
三菱電機株式会社
半導体装置
6日前
三菱電機株式会社
回路遮断器
27日前
三菱電機株式会社
半導体装置
19日前
三菱電機株式会社
半導体装置
4日前
三菱電機株式会社
保護リレー
1か月前
三菱電機株式会社
加熱調理器
27日前
三菱電機株式会社
半導体装置
1か月前
三菱電機株式会社
電動送風機
11日前
三菱電機株式会社
半導体装置
2か月前
三菱電機株式会社
半導体装置
今日
三菱電機株式会社
冷凍冷蔵庫
4日前
三菱電機株式会社
空気調和機
1か月前
三菱電機株式会社
車両制御装置
11日前
三菱電機株式会社
貯湯式給湯機
1か月前
三菱電機株式会社
電力変換装置
6日前
三菱電機株式会社
ねじ締め装置
1か月前
三菱電機株式会社
貯湯式給湯機
1か月前
三菱電機株式会社
空調システム
1か月前
続きを見る
他の特許を見る