TOP
|
特許
|
意匠
|
商標
特許ウォッチ
Twitter
他の特許を見る
10個以上の画像は省略されています。
公開番号
2025175638
公報種別
公開特許公報(A)
公開日
2025-12-03
出願番号
2024081845
出願日
2024-05-20
発明の名称
劣化診断システム、劣化診断方法及び劣化診断プログラム
出願人
三菱電機株式会社
代理人
個人
主分類
G01M
99/00 20110101AFI20251126BHJP(測定;試験)
要約
【課題】複数の設備機器の劣化度合いを相対的に評価することができる劣化診断システムを得ること。
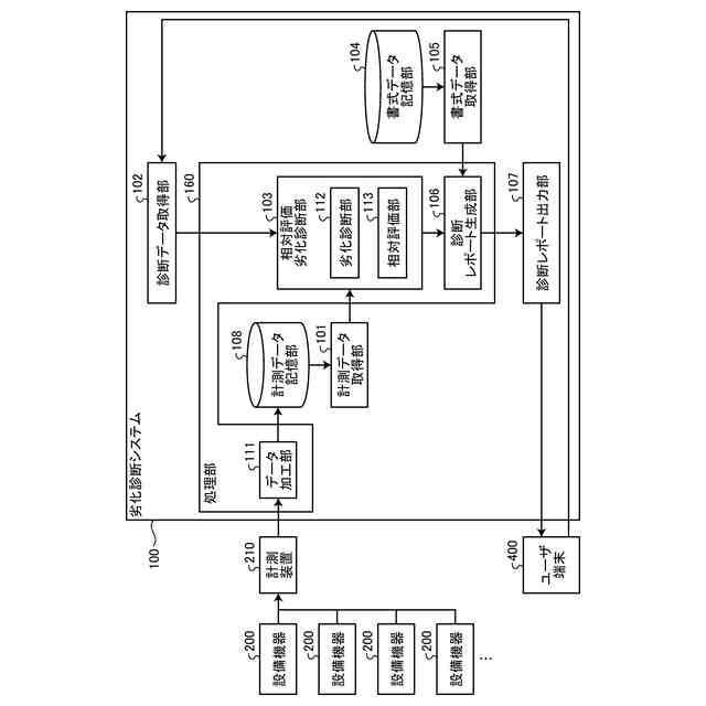
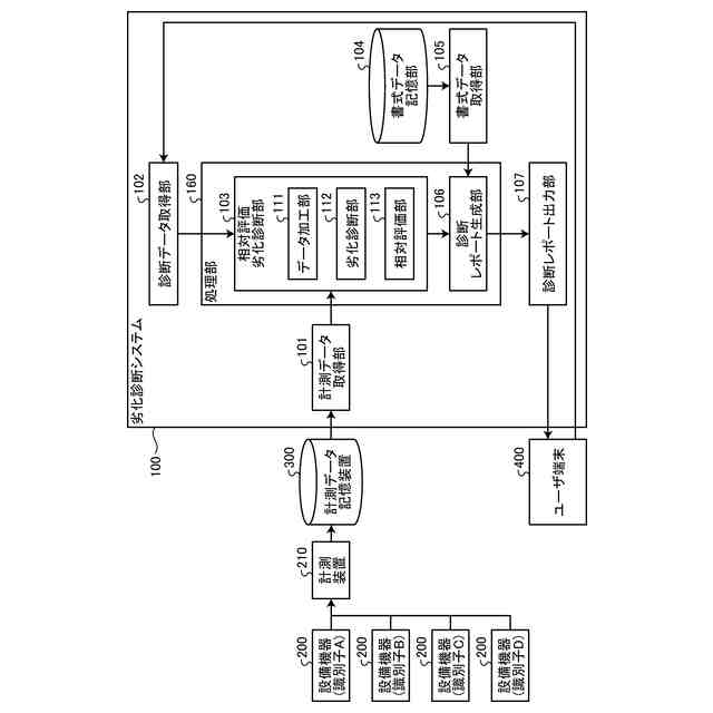
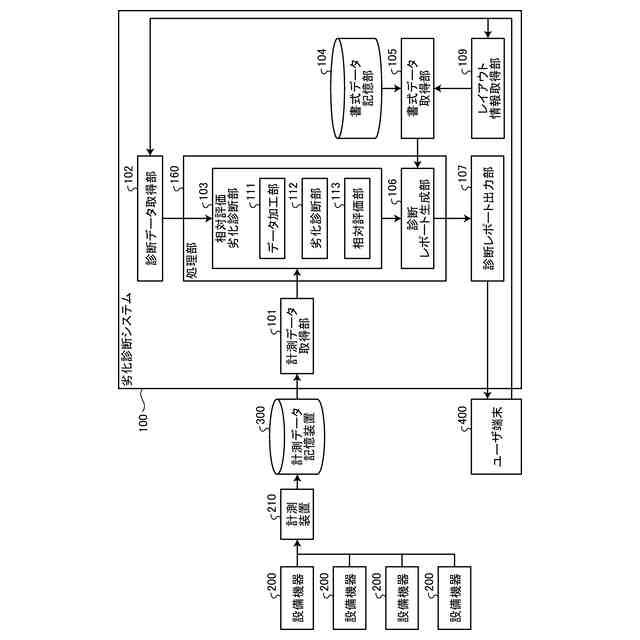
【解決手段】劣化診断システム100は、複数の診断対象の設備機器200の各々において計測された計測データを取得する計測データ取得部101と、複数の設備機器200の仕様の情報を含む診断データを取得する診断データ取得部102と、計測データ及び診断データに基づいて複数の設備機器200の劣化度合いを診断する劣化診断部112と、複数の設備機器200の劣化度合いを順位付けすることにより複数の設備機器200の相対的な劣化度合いを評価する相対評価部113と、複数の設備機器200の相対的な劣化度合いを含む診断レポートを生成する診断レポート生成部106と、診断レポートを出力する診断レポート出力部107とを備える。
【選択図】図1
特許請求の範囲
【請求項1】
複数の診断対象の設備機器の各々において計測された計測データを取得する計測データ取得部と、
複数の前記設備機器の仕様の情報を含む診断データを取得する診断データ取得部と、
前記計測データ及び前記診断データに基づいて複数の前記設備機器の劣化度合いを診断する劣化診断部と、
複数の前記設備機器の劣化度合いを順位付けすることにより複数の前記設備機器の相対的な劣化度合いを評価する相対評価部と、
複数の前記設備機器の相対的な劣化度合いを含む診断レポートを生成する診断レポート生成部と、
前記診断レポートを出力する診断レポート出力部とを備えることを特徴とする劣化診断システム。
続きを表示(約 1,400 文字)
【請求項2】
前記計測データに対して、前記劣化診断部が前記計測データに基づいた劣化診断を行う上で必要となる前処理を行うデータ加工部を備え、
前記劣化診断部は、前記前処理済の前記計測データを用いて、複数の前記設備機器の劣化度合いを診断することを特徴とする請求項1に記載の劣化診断システム。
【請求項3】
前記計測データに対して、前記劣化診断部が前記計測データに基づいた劣化診断を行う上で必要となる前処理を行うデータ加工部と、
前記前処理済の前記計測データを記憶する計測データ記憶部とを備え、
前記計測データ取得部は、前記計測データ記憶部から前記前処理済の前記計測データを取得し、
前記劣化診断部は、前記前処理済の前記計測データを用いて、複数の前記設備機器の劣化度合いを診断することを特徴とする請求項1に記載の劣化診断システム。
【請求項4】
前記診断レポートにおけるオブジェクトの配置を示すレイアウト情報を取得するレイアウト情報取得部を備え、
前記診断レポート生成部は、前記レイアウト情報に基づいた前記オブジェクトを配置して前記診断レポートを生成することを特徴とする請求項1に記載の劣化診断システム。
【請求項5】
前記劣化診断部は、複数の前記設備機器の各々の劣化度合いの値を出力し、
前記相対評価部は、複数の前記設備機器の各々の劣化度合いの値をソートすることにより、複数の前記設備機器の劣化度合いを順位付けすることを特徴とする請求項1から4のいずれか1項に記載の劣化診断システム。
【請求項6】
前記劣化診断部は、複数の前記設備機器のうちの二つの全ての組み合わせについて劣化度合いの大小を判定し、
前記相対評価部は、複数の前記設備機器のうちの二つの組み合わせにおける劣化度合いの大小の判定に基づいて、複数の前記設備機器の劣化度合いを順位付けすることを特徴とする請求項1から4のいずれか1項に記載の劣化診断システム。
【請求項7】
複数の診断対象の設備機器の各々において計測された計測データを取得するステップと、
複数の前記設備機器の仕様の情報を含む診断データを取得するステップと、
前記計測データ及び前記診断データに基づいて複数の前記設備機器の劣化度合いを診断するステップと、
複数の前記設備機器の劣化度合いを順位付けすることにより複数の前記設備機器の相対的な劣化度合いを評価するステップと、
複数の前記設備機器の相対的な劣化度合いを含む診断レポートを生成するステップと、
前記診断レポートを出力するステップとを備えることを特徴とする劣化診断方法。
【請求項8】
複数の診断対象の設備機器の各々において計測された計測データを取得するステップと、
複数の前記設備機器の仕様の情報を含む診断データを取得するステップと、
前記計測データ及び前記診断データに基づいて複数の前記設備機器の劣化度合いを診断するステップと、
複数の前記設備機器の劣化度合いを順位付けすることにより複数の前記設備機器の相対的な劣化度合いを評価するステップと、
複数の前記設備機器の相対的な劣化度合いを含む診断レポートを生成するステップと、
前記診断レポートを出力するステップとをコンピュータに実行させることを特徴とする劣化診断プログラム。
発明の詳細な説明
【技術分野】
【0001】
本開示は、複数の診断対象機器間の相対的な劣化度合いを示す診断結果が得られる劣化診断システム、劣化診断方法及び劣化診断プログラムに関する。
続きを表示(約 1,300 文字)
【背景技術】
【0002】
従来、水処理施設などのプラント及び工場などの工業施設では、モータ、ポンプ及び加工機械などの複数の設備機器が用いられる。プラント及び工場などの工業施設を稼働するにあたっては、施設内の設備機器を定期的に点検し、施設の稼働に支障を来さないように劣化した設備機器を交換する必要がある。
【0003】
特許文献1には、複数の設備機器から得た情報に基づいて設備機器の劣化度合いを診断する劣化診断システムが開示されている。
【先行技術文献】
【特許文献】
【0004】
特開2009-215010号公報
【発明の概要】
【発明が解決しようとする課題】
【0005】
工業施設に用いられる設備機器は、全てが一様に劣化するのではなく、個々の設備機器の劣化度合いには差が生じる。例えば、主に使用される運用系の設備機器と、運用系の停止時にのみ用いられる予備系の設備機器とでは、劣化度合いが異なってくる。一般的には使用頻度が高い運用系の設備機器の方が短期間で劣化が進むが、摺動部分の油ぎれなどにより使用頻度が低い予備系の設備機器の方が短期間で劣化が進むこともある。
【0006】
工業施設内の全ての設備機器を一度に更新しようとすると、工業施設全体を停止させることになることに加え、劣化度合いの小さい設備機器を交換することはコストの増大に繋がる。このため、複数の設備機器の劣化度合いを相対的に評価し、劣化度合いの高い設備機器を優先して交換することが求められている。
【0007】
上記特許文献1に開示される劣化診断システムは、複数の設備機器の劣化度合いを相対的に評価することはできないため、ユーザは、診断結果を参照してもどの設備機器を優先的に交換する必要があるかを容易に判断することができなかった。
【0008】
本開示は、上記に鑑みてなされたものであって、複数の設備機器の劣化度合いを相対的に評価することができる劣化診断システムを得ることを目的とする。
【課題を解決するための手段】
【0009】
上述した課題を解決し、目的を達成するために、本開示に係る劣化診断システムは、複数の診断対象の設備機器の各々において計測された計測データを取得する計測データ取得部と、複数の設備機器の仕様の情報を含む診断データを取得する診断データ取得部と、計測データ及び診断データに基づいて複数の設備機器の劣化度合いを診断する劣化診断部と、複数の設備機器の劣化度合いを順位付けすることにより複数の設備機器の相対的な劣化度合いを評価する相対評価部とを備える。劣化診断システムは、複数の設備機器の相対的な劣化度合いを含む診断レポートを生成する診断レポート生成部と、診断レポートを出力する診断レポート出力部とを備える。
【発明の効果】
【0010】
本開示によれば、複数の設備機器の劣化度合いを相対的に評価することできる劣化診断システムを得られるという効果を奏する。
【図面の簡単な説明】
(【0011】以降は省略されています)
この特許をJ-PlatPat(特許庁公式サイト)で参照する
関連特許
三菱電機株式会社
冷蔵庫
18日前
三菱電機株式会社
増幅器
1か月前
三菱電機株式会社
冷蔵庫
1か月前
三菱電機株式会社
換気扇
11日前
三菱電機株式会社
扇風機
1か月前
三菱電機株式会社
換気扇
1か月前
三菱電機株式会社
換気扇
1か月前
三菱電機株式会社
換気扇
1か月前
三菱電機株式会社
電子機器
1か月前
三菱電機株式会社
照明装置
1か月前
三菱電機株式会社
収集装置
1か月前
三菱電機株式会社
照明器具
12日前
三菱電機株式会社
換気装置
10日前
三菱電機株式会社
電気機器
18日前
三菱電機株式会社
冷凍冷蔵庫
3日前
三菱電機株式会社
回路遮断器
26日前
三菱電機株式会社
半導体装置
18日前
三菱電機株式会社
空気調和機
1か月前
三菱電機株式会社
半導体装置
1か月前
三菱電機株式会社
保護リレー
1か月前
三菱電機株式会社
電動送風機
10日前
三菱電機株式会社
加熱調理器
26日前
三菱電機株式会社
半導体装置
5日前
三菱電機株式会社
半導体装置
2か月前
三菱電機株式会社
半導体装置
5日前
三菱電機株式会社
半導体装置
3日前
三菱電機株式会社
空調システム
1か月前
三菱電機株式会社
位置算出装置
11日前
三菱電機株式会社
空調システム
1か月前
三菱電機株式会社
貯湯式給湯機
1か月前
三菱電機株式会社
貯湯式給湯機
1か月前
三菱電機株式会社
車両制御装置
10日前
三菱電機株式会社
照明システム
2か月前
三菱電機株式会社
空気清浄装置
26日前
三菱電機株式会社
調理システム
1か月前
三菱電機株式会社
ねじ締め装置
1か月前
続きを見る
他の特許を見る