TOP
|
特許
|
意匠
|
商標
特許ウォッチ
Twitter
他の特許を見る
公開番号
2025175495
公報種別
公開特許公報(A)
公開日
2025-12-03
出願番号
2024081636
出願日
2024-05-20
発明の名称
表示ユニット及び表示装置
出願人
三菱電機株式会社
代理人
個人
,
個人
,
個人
,
個人
,
個人
,
個人
主分類
G09F
9/40 20060101AFI20251126BHJP(教育;暗号方法;表示;広告;シール)
要約
【課題】ケースの外周壁の強度を従来よりも高めることができる表示ユニットと、その表示ユニットを備える表示装置とを提供する。
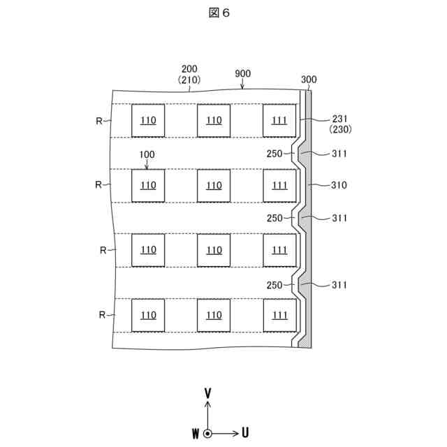
【解決手段】表示ユニット500Aにおいては、第1中間帯状仮想領域RAbに内包される発光素子列における、端辺部231に最も近い発光素子112が、始端帯状仮想領域RAaに内包される発光素子列における、端辺部231に最も近い縁部発光素子111よりも、X軸方向に関して内方にずらされている。切り欠き250は、始端帯状仮想領域RAaと第1中間帯状仮想領域RAbとの間の位置を底部とする始端切り欠き部分250aのみならず、第1中間帯状仮想領域RAbの端部の位置を底部とする中間切り欠き部分250bも有する。突出部311は、始端切り欠き部分250aとX軸方向に対向している始端突出部分311aのみならず、中間切り欠き部分250bとX軸方向に対向している中間突出部分311bも有する。
【選択図】図3
特許請求の範囲
【請求項1】
各々可視光を放射する複数の発光素子を含む発光素子群と、
前記発光素子群が表面に配置されている回路基板と、
前記回路基板の周縁を取り囲む外周壁を有し、前記回路基板を保持するケースと、
を備え、
前記発光素子群は、
前記回路基板の前記表面において、前記回路基板の前記表面に平行なX軸方向に1列に並ぶ複数の前記発光素子で構成された発光素子列が、前記回路基板の前記表面に平行で且つ前記X軸方向に直角なY軸方向に並んだ構成を有し、
前記回路基板の前記周縁は、
前記Y軸方向に延在する端辺部であって、前記X軸方向に深さを有する切り欠きが形成されている前記端辺部を有し、
前記ケースの前記外周壁に、
前記切り欠きに向かって前記外周壁から前記X軸方向に突出している突出部であって、前記切り欠きに収まる前記突出部が設けられている、
表示ユニットであって、
前記発光素子列の各々に対し、前記回路基板に対する平面視で該発光素子列を内包し且つ前記X軸方向に連続して帯状に延在する帯状仮想領域を、前記回路基板の前記表面に定義したとき、
前記Y軸方向に並ぶ複数の前記帯状仮想領域に、
それら複数の前記帯状仮想領域から選択される第1中間帯状仮想領域であって、前記第1中間帯状仮想領域に内包される前記発光素子列における、前記端辺部に最も近い前記発光素子が、前記第1中間帯状仮想領域の隣の前記帯状仮想領域である始端帯状仮想領域に内包される前記発光素子列における、前記端辺部に最も近い前記発光素子である縁部発光素子よりも、前記X軸方向に関して前記端辺部から遠い内方に位置している前記第1中間帯状仮想領域、
が含まれており、
前記切り欠きは、
前記始端帯状仮想領域と前記第1中間帯状仮想領域との間の位置を底部とする始端切り欠き部分のみならず、前記始端切り欠き部分と前記Y軸方向に連続している中間切り欠き部分であって、前記第1中間帯状仮想領域の端部の位置を底部とする中間切り欠き部分も有し、
前記突出部は、
前記始端切り欠き部分と前記X軸方向に対向している始端突出部分のみならず、前記始端突出部分と前記Y軸方向に連続している中間突出部分であって、前記中間切り欠き部分と前記X軸方向に対向している中間突出部分も有する、
表示ユニット。
続きを表示(約 1,800 文字)
【請求項2】
前記第1中間帯状仮想領域の、前記Y軸方向に関して前記始端帯状仮想領域とは反対側の隣に、前記縁部発光素子と前記X軸方向の位置が同じ前記発光素子を内包する前記帯状仮想領域である終端帯状仮想領域が位置しており、
前記切り欠きは、
前記終端帯状仮想領域と前記第1中間帯状仮想領域との間の位置を底部とする終端切り欠き部分をさらに有し、前記始端切り欠き部分から前記終端切り欠き部分にわたって前記Y軸方向に連続して延在しており、
前記突出部は、
前記終端切り欠き部分と前記X軸方向に対向している終端突出部分をさらに有し、前記始端突出部分から前記終端突出部分にわたって前記Y軸方向に連続して延在している、
請求項1に記載の表示ユニット。
【請求項3】
前記第1中間帯状仮想領域の、前記Y軸方向に関して前記始端帯状仮想領域とは反対側に、少なくとも1つの前記帯状仮想領域を介して、前記縁部発光素子と前記X軸方向の位置が同じ前記発光素子を内包する前記帯状仮想領域である終端帯状仮想領域が位置しており、
前記第1中間帯状仮想領域と前記終端帯状仮想領域との間に介在する前記帯状仮想領域を第2中間帯状仮想領域としたとき、前記第2中間帯状仮想領域に内包される前記発光素子列における、前記端辺部に最も近い前記発光素子は、前記縁部発光素子よりも前記内方にずらされており、
前記切り欠きは、
前記終端帯状仮想領域と該終端帯状仮想領域の隣の前記第2中間帯状仮想領域との間の位置を底部とする終端切り欠き部分をさらに有し、前記始端切り欠き部分から前記終端切り欠き部分にわたって前記Y軸方向に連続して延在しており、
前記突出部は、
前記終端切り欠き部分と前記X軸方向に対向している終端突出部分をさらに有し、前記始端突出部分から前記終端突出部分にわたって前記Y軸方向に連続して延在している、
請求項1に記載の表示ユニット。
【請求項4】
前記Y軸方向に並ぶすべての前記発光素子列において、前記発光素子の前記X軸方向の配列ピッチが等しい、
請求項1から3のいずれか1項に記載の表示ユニット。
【請求項5】
前記Y軸方向に並ぶ複数の前記発光素子列には、
第1配列ピッチで前記発光素子が前記X軸方向に並ぶ前記発光素子列と、
前記第1配列ピッチとは異なる第2配列ピッチで前記発光素子が前記X軸方向に並ぶ前記発光素子列と、
が含まれる、請求項1から3のいずれか1項に記載の表示ユニット。
【請求項6】
前記発光素子群を構成する各々の前記発光素子は、
前記回路基板に対する平面視で、一方向を長手方向とする形状を有し、且つ前記長手方向が前記X軸方向と一致する向きに配置されている、
請求項1から3のいずれか1項に記載の表示ユニット。
【請求項7】
前記縁部発光素子と前記端辺部との前記X軸方向の距離は、前記切り欠きの前記X軸方向の前記深さよりも小さい、
請求項1から3のいずれか1項に記載の表示ユニット。
【請求項8】
請求項1から3のいずれか1項に記載の表示ユニットを複数備え、
複数の前記表示ユニットが組み合わされて構成されている、
表示装置。
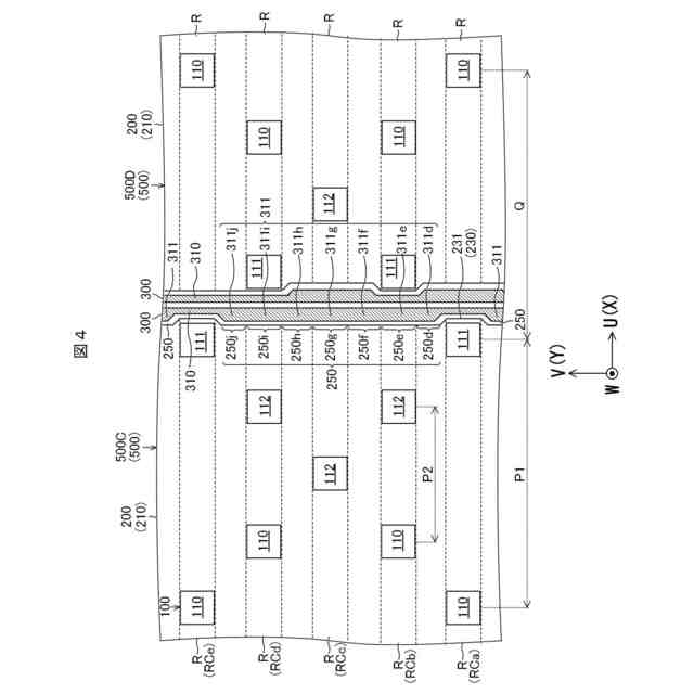
【請求項9】
前記表示装置を構成する複数の前記表示ユニットから選択される第1表示ユニットと、該第1表示ユニットと前記X軸方向に隣り合う前記表示ユニットである第2表示ユニットとで、前記発光素子列の前記Y軸方向の位置が揃えられており、
前記第1表示ユニットの、複数の前記発光素子列から選択される第1発光素子列における、前記第2表示ユニットに最も近い前記発光素子を第1発光素子とし、
前記第2表示ユニットの、前記第1発光素子列と前記X軸方向の位置が同じ前記発光素子列である第2発光素子列における、前記第1表示ユニットに最も近い前記発光素子を第2発光素子としたとき、
前記第1発光素子と前記第2発光素子との前記X軸方向の距離は、前記第1発光素子列における前記発光素子の前記X軸方向の配列ピッチ、及び前記第2発光素子列における前記発光素子の前記X軸方向の配列ピッチと等しい、
請求項8に記載の表示装置。
発明の詳細な説明
【技術分野】
【0001】
本開示は、表示ユニット及び表示装置に関する。
続きを表示(約 1,200 文字)
【背景技術】
【0002】
特許文献1に開示されているように、複数の発光素子が表面に配置されている回路基板と、その回路基板を保持するケースとを備える表示ユニットが知られている。ケースは、回路基板の周縁を取り囲む外周壁を有する。
【0003】
回路基板の表面においては、X軸方向に1列に並ぶ複数の発光素子で構成された発光素子列が、X軸方向に直角なY軸方向に並んでいる。回路基板の周縁は、Y軸方向に延在する端辺部を有し、その端辺部には、X軸方向に深さを有する切り欠きが形成されている。
【0004】
一方、ケースの外周壁には、回路基板の切り欠きに向かってX軸方向に突出した突出部が設けられている。突出部は、外周壁の強度を高めるリブの役割を果たす。突出部が回路基板の切り欠きに収まるので、ケースのX軸方向の外寸を増すことなく、外周壁の強度を高めることができる。
【先行技術文献】
【特許文献】
【0005】
特開2015-141311号公報
【発明の概要】
【発明が解決しようとする課題】
【0006】
回路基板の表面において、各々の発光素子列は、X軸方向に連続して帯状に延在する仮想領域である帯状仮想領域に配置されている。各々の帯状仮想領域は、発光素子列を内包する。発光素子列がY軸方向に並んでいることに対応して、間隔をおいてY軸方向に並ぶ複数の帯状仮想領域が回路基板の表面に想定される。
【0007】
回路基板の、発光素子が配置される領域は切り欠くことができない。特許文献1に係る表示ユニットでは、発光素子が邪魔になるため、回路基板における切り欠きを形成する位置が、Y軸方向に隣り合う帯状仮想領域と帯状仮想領域との間に制限される。このため、切り欠きと、その切り欠きに収まる突出部との、Y軸方向の寸法を大きく確保し、突出部によってケースの外周壁の強度を高めることに限界があった。
【0008】
そこで、本開示は、ケースの外周壁の強度を従来よりも高めることができる表示ユニットと、その表示ユニットを備える表示装置とを提供することを第1の目的とする。
【0009】
また、ケースを、金型を用いた樹脂の成形によって製造する場合、突出部のY軸方向の寸法が大きいほど、ウェルドラインその他の成形不良が生じ難い。このため、突出部のY軸方向の寸法をより大きく確保することで歩留まりの向上を図り得る構成が望まれる。
【0010】
そこで、本開示は、ケースを樹脂の成形によって製造する場合であっても、ケースを歩留まりよく製造することができる表示ユニットと、その表示ユニットを備える表示装置とを提供することを第2の目的とする。
【課題を解決するための手段】
(【0011】以降は省略されています)
この特許をJ-PlatPat(特許庁公式サイト)で参照する
関連特許
三菱電機株式会社
換気扇
11日前
三菱電機株式会社
扇風機
1か月前
三菱電機株式会社
冷蔵庫
18日前
三菱電機株式会社
増幅器
1か月前
三菱電機株式会社
冷蔵庫
1か月前
三菱電機株式会社
収集装置
1か月前
三菱電機株式会社
照明器具
12日前
三菱電機株式会社
電気機器
18日前
三菱電機株式会社
換気装置
10日前
三菱電機株式会社
照明装置
1か月前
三菱電機株式会社
電動送風機
10日前
三菱電機株式会社
半導体装置
18日前
三菱電機株式会社
回路遮断器
26日前
三菱電機株式会社
加熱調理器
26日前
三菱電機株式会社
半導体装置
5日前
三菱電機株式会社
冷凍冷蔵庫
3日前
三菱電機株式会社
半導体装置
5日前
三菱電機株式会社
半導体装置
1か月前
三菱電機株式会社
空気調和機
1か月前
三菱電機株式会社
保護リレー
1か月前
三菱電機株式会社
半導体装置
3日前
三菱電機株式会社
位置算出装置
11日前
三菱電機株式会社
ねじ締め装置
1か月前
三菱電機株式会社
空調システム
1か月前
三菱電機株式会社
貯湯式給湯機
1か月前
三菱電機株式会社
調理システム
1か月前
三菱電機株式会社
空気清浄装置
26日前
三菱電機株式会社
点検管理装置
1か月前
三菱電機株式会社
炊飯システム
1か月前
三菱電機株式会社
電力変換装置
5日前
三菱電機株式会社
電力変換装置
5日前
三菱電機株式会社
貯湯式給湯機
1か月前
三菱電機株式会社
光源デバイス
1か月前
三菱電機株式会社
車両制御装置
10日前
三菱電機株式会社
制御システム
1か月前
三菱電機株式会社
空調システム
1か月前
続きを見る
他の特許を見る