TOP
|
特許
|
意匠
|
商標
特許ウォッチ
Twitter
他の特許を見る
10個以上の画像は省略されています。
公開番号
2025174867
公報種別
公開特許公報(A)
公開日
2025-11-28
出願番号
2025061318
出願日
2025-04-02
発明の名称
半導体装置及び電力変換装置
出願人
三菱電機株式会社
代理人
弁理士法人高田・高橋国際特許事務所
主分類
H10D
12/00 20250101AFI20251120BHJP()
要約
【課題】IGBTの構造において電磁ノイズを十分に抑制する。
【解決手段】トレンチ8の内部で中間絶縁膜16により上段電極14と下段電極12が分離されている。第1の抵抗R1が上段電極14と入力端子10の間に接続されている。第2の抵抗R2が下段電極12と入力端子10の間に接続されている。下段電極12のゲート・エミッタ間容量が上段電極14のゲート・エミッタ間容量より小さい。
【選択図】図1
特許請求の範囲
【請求項1】
第1導電型のドリフト層と、前記ドリフト層の上に形成された第2導電型のベース層と、前記ベース層の上に形成された第1導電型のソース層と、前記ドリフト層の下に形成された第2導電型のコレクタ層とを有する半導体基板と、
前記半導体基板の上面に形成され前記ベース層及び前記ソース層に接続されたエミッタ電極と、
前記半導体基板の下面に形成され前記コレクタ層に接続されたコレクタ電極と、
前記半導体基板の前記上面から前記ソース層及び前記ベース層を貫通するトレンチの内部に下段ゲート絶縁膜を介して形成された下段電極と、
前記トレンチの内部に上段ゲート絶縁膜を介して形成され、前記下段電極の上に配置され、中間絶縁膜により前記下段電極とは分離された上段電極と、
入力端子と、
前記上段電極と前記入力端子の間に接続された第1の抵抗と、
前記下段電極と前記入力端子の間に接続された第2の抵抗とを備え、
前記下段電極のゲート・エミッタ間容量が前記上段電極のゲート・エミッタ間容量より小さいことを特徴とする半導体装置。
続きを表示(約 820 文字)
【請求項2】
前記入力端子は、前記半導体基板の前記上面に形成されたゲート電極であることを特徴とする請求項1に記載の半導体装置。
【請求項3】
前記入力端子、前記第1の抵抗及び前記第2の抵抗は前記半導体基板の外側に形成されていることを特徴とする請求項1に記載の半導体装置。
【請求項4】
ターンオン時の電流増加期間において前記下段電極の電圧が前記上段電極の電圧よりも高い期間があることを特徴とする請求項1~3の何れか1項に記載の半導体装置。
【請求項5】
ターンオン時のゲート電圧増加開始期間において前記下段電極の電流が前記上段電極の電流よりも高い期間があることを特徴とする請求項1~3の何れか1項に記載の半導体装置。
【請求項6】
前記上段電極のゲート・エミッタ間容量に対する前記下段電極のゲート・エミッタ間容量の比率が0.5以下であることを特徴とする請求項1~3の何れか1項に記載の半導体装置。
【請求項7】
前記上段電極のゲート・エミッタ間容量に対する前記下段電極のゲート・エミッタ間容量の比率が0.2以下であることを特徴とする請求項1~3の何れか1項に記載の半導体装置。
【請求項8】
ターンオン時のミラー期間において前記下段電極の電圧が前記上段電極の電圧より低い期間があることを特徴とする請求項1~3の何れか1項に記載の半導体装置。
【請求項9】
前記下段電極の側面及び底部を覆う前記下段ゲート絶縁膜の厚みは前記上段電極の側面を覆う前記上段ゲート絶縁膜の厚みよりも厚いことを特徴とする請求項1~3の何れか1項に記載の半導体装置。
【請求項10】
前記下段ゲート絶縁膜の厚みは前記上段ゲート絶縁膜の厚みの1.5倍以上であることを特徴とする請求項9に記載の半導体装置。
(【請求項11】以降は省略されています)
発明の詳細な説明
【技術分野】
【0001】
本開示は、半導体装置及び電力変換装置に関する。
続きを表示(約 3,400 文字)
【背景技術】
【0002】
絶縁ゲート型バイポーラトランジスタ(IGBT: Insulated Gate Bipolar Transistor)のスイッチング損失低減にはスイッチング速度の高速化が有効である。高速化の課題として電磁ノイズの発生がある。ノイズは低電流時のIcピークと相関があることが報告されている(例えば、非特許文献1参照)。Icピークはターンオン時のゲート電圧Vgeのオーバーシュートに依存し、Vgeは変位電流(Idis=Cgc×dV/dt)が大きいほど、Cgeが小さいほど増加する。ここで、Cgcはゲート-コレクタ間容量、Cgeはゲート-エミッタ間容量である。従って、電磁ノイズを抑制するにはCgc/Cge比を小さくする必要がある。
【先行技術文献】
【非特許文献】
【0003】
K. Nishi, T. Takahashi, and A. Narazaki, “Analysis the complex tradeoff among Eon-VCEsat-SCSOA and EMI noise through the single chip evaluation method,” in Proc. 31st Int. Symp. Power Semiconductor Devices ICs (ISPSD), May 2019, pp. 475-478
【発明の概要】
【発明が解決しようとする課題】
【0004】
しかし、電磁ノイズを十分に抑制することができるIGBTの構造については提案されていない。
【0005】
本開示は、上述のような課題を解決するためになされたもので、その目的は電磁ノイズを十分に抑制することができる半導体装置及び電力変換装置を得るものである。
【課題を解決するための手段】
【0006】
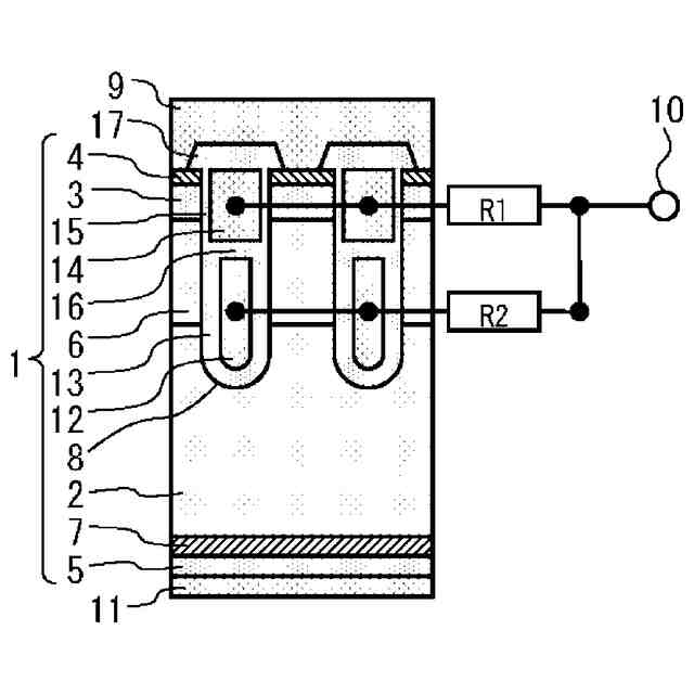
本開示に係る半導体装置は、第1導電型のドリフト層と、前記ドリフト層の上に形成された第2導電型のベース層と、前記ベース層の上に形成された第1導電型のソース層と、前記ドリフト層の下に形成された第2導電型のコレクタ層とを有する半導体基板と、前記半導体基板の上面に形成され前記ベース層及び前記ソース層に接続されたエミッタ電極と、前記半導体基板の下面に形成され前記コレクタ層に接続されたコレクタ電極と、前記半導体基板の前記上面から前記ソース層及び前記ベース層を貫通するトレンチの内部に下段ゲート絶縁膜を介して形成された下段電極と、前記トレンチの内部に上段ゲート絶縁膜を介して形成され、前記下段電極の上に配置され、中間絶縁膜により前記下段電極とは分離された上段電極と、入力端子と、前記上段電極と前記入力端子の間に接続された第1の抵抗と、前記下段電極と前記入力端子の間に接続された第2の抵抗とを備え、前記下段電極のゲート・エミッタ間容量が前記上段電極のゲート・エミッタ間容量より小さいことを特徴とする。
【発明の効果】
【0007】
本開示では、トレンチの内部で中間絶縁膜により上段電極と下段電極が分離されている。第1の抵抗が上段電極と入力端子の間に接続されている。第2の抵抗が下段電極と入力端子の間に接続されている。下段電極のゲート・エミッタ間容量が上段電極のゲート・エミッタ間容量より小さい。これにより、IGBTの構造において電磁ノイズを十分に抑制することができる。
【図面の簡単な説明】
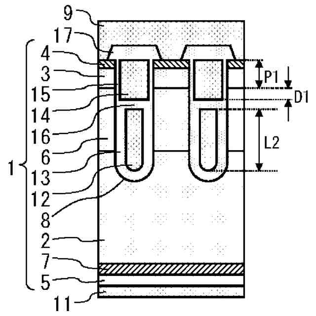
【0008】
実施の形態1に係る半導体装置を示す断面図である。
実施の形態1に係る半導体装置のターンオン時のVce、Ic、Vgeの時間変化を示す図である。
Cge2/Cge1とIcピークの関係を示す図である。
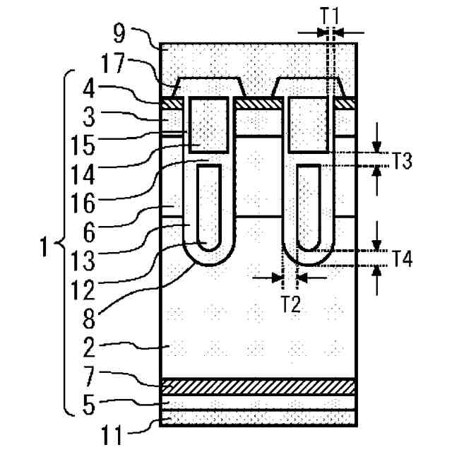
実施の形態1に係る半導体装置の絶縁膜の厚みの関係を示す断面図である。
下段ゲート絶縁膜の厚み/上段ゲート絶縁膜の厚みと下段電極のCge/上段電極のCgeの関係を示す図である。
下段ゲート絶縁膜の厚み/上段ゲート絶縁膜の厚みとIcピークの関係を示す図である。
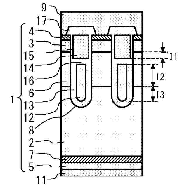
実施の形態1に係る半導体装置のキャリア蓄積層とドリフト層の長さの関係を示す断面図である。
実施の形態1に係る半導体装置の下段電極及び上段電極の長さとベース層の深さの関係を示す断面図である。
実施の形態2に係る半導体装置を示す断面図である。
実施の形態3に係る半導体装置を示す上面図である。
図10のI-IIに沿った断面とIII-IVに沿った断面を示す断面図である。
実施の形態3に係る半導体装置の変形例を示す上面図である。
図12のI-IIに沿った断面とIII-IVに沿った断面を示す断面図である。
実施の形態4に係る半導体装置を示す図である。
実施の形態5に係る半導体装置を示す断面図である。
実施の形態6に係る半導体装置を示す断面図である。
実施の形態7に係る半導体装置を示す断面図である。
実施の形態7に係る半導体装置の変形例を示す断面図である。
実施の形態8に係る半導体装置を示す断面図である。
実施の形態8に係る半導体装置を示す上面図である。
実施の形態9に係る半導体装置を示す断面図である。
実施の形態9に係る半導体装置の変形例を示す断面図である。
実施の形態10に係る半導体装置を示す断面図である。
実施の形態10に係る半導体装置の変形例を示す断面図である。
実施の形態11に係る半導体装置を示す断面図である。
実施の形態11に係る半導体装置の変形例を示す断面図である。
実施の形態12に係る半導体装置を示す断面図である。
実施の形態12に係る半導体装置の変形例を示す断面図である。
実施の形態13に係る半導体装置を示す断面図である。
実施の形態14に係る半導体装置を示す上面図である。
図29のI-IIに沿った断面とIII-IVに沿った断面を示す断面図である。
実施の形態15に係る半導体装置を示す上面図である。
実施の形態16に係る半導体装置を示す断面図である。
実施の形態16に係る半導体装置の変形例を示す断面図である。
CgeのVce依存性を示す図である。
上段電極のゲート・エミッタ間容量と第1の抵抗の積であるCR時定数に対する、下段電極のゲート・エミッタ間容量と第2の抵抗の積であるCR時定数の比率とIcピークの関係を示す図である。
第1の抵抗の抵抗値に対する第2の抵抗の抵抗値の比率とIcピークの関係を示す図である。
ターンオン時における下段電極と上段電極の電流・電圧を示す図である。
実施の形態17に係る電力変換装置を適用した電力変換システムの構成を示すブロック図である。
【発明を実施するための形態】
【0009】
実施の形態に係る半導体装置及び電力変換装置について図面を参照して説明する。同じ又は対応する構成要素には同じ符号を付し、説明の繰り返しを省略する場合がある。
【0010】
実施の形態1
図1は、実施の形態1に係る半導体装置を示す断面図である。半導体基板1は、少なくとも、第1導電型のドリフト層2と、ドリフト層2の上に形成された第2導電型のベース層3と、ベース層3の上の一部に形成された第1導電型のソース層4と、ドリフト層2の下に形成された第2導電型のコレクタ層5とを有する。第1導電型のキャリア蓄積層6がドリフト層2とベース層3の間に形成されている。第1導電型のバッファ層7がドリフト層2とコレクタ層5の間に形成されている。キャリア蓄積層6及びバッファ層7はドリフト層2よりも不純物濃度が高い。例えば、第1導電型はn型、第2導電型はp型であるが、その逆でもよい。半導体基板1の上面からソース層4及びベース層3を貫通する複数のトレンチ8が並んで形成されている。
(【0011】以降は省略されています)
この特許をJ-PlatPat(特許庁公式サイト)で参照する
関連特許
三菱電機株式会社
冷蔵庫
11日前
三菱電機株式会社
扇風機
1か月前
三菱電機株式会社
冷蔵庫
1か月前
三菱電機株式会社
換気扇
4日前
三菱電機株式会社
換気扇
1か月前
三菱電機株式会社
換気扇
1か月前
三菱電機株式会社
換気扇
1か月前
三菱電機株式会社
増幅器
1か月前
三菱電機株式会社
収集装置
1か月前
三菱電機株式会社
換気装置
3日前
三菱電機株式会社
照明器具
5日前
三菱電機株式会社
電気機器
11日前
三菱電機株式会社
照明装置
25日前
三菱電機株式会社
電子機器
1か月前
三菱電機株式会社
電動送風機
3日前
三菱電機株式会社
空気調和機
1か月前
三菱電機株式会社
半導体装置
11日前
三菱電機株式会社
半導体装置
1か月前
三菱電機株式会社
半導体装置
1か月前
三菱電機株式会社
回路遮断器
19日前
三菱電機株式会社
保護リレー
1か月前
三菱電機株式会社
加熱調理器
19日前
三菱電機株式会社
炊飯システム
1か月前
三菱電機株式会社
貯湯式給湯機
1か月前
三菱電機株式会社
調理システム
1か月前
三菱電機株式会社
ねじ締め装置
1か月前
三菱電機株式会社
空気清浄装置
19日前
三菱電機株式会社
貯湯式給湯機
1か月前
三菱電機株式会社
貯湯式給湯機
25日前
三菱電機株式会社
空調システム
1か月前
三菱電機株式会社
制御システム
25日前
三菱電機株式会社
空調システム
27日前
三菱電機株式会社
光源デバイス
25日前
三菱電機株式会社
点検管理装置
1か月前
三菱電機株式会社
車両制御装置
3日前
三菱電機株式会社
位置算出装置
4日前
続きを見る
他の特許を見る