TOP
|
特許
|
意匠
|
商標
特許ウォッチ
Twitter
他の特許を見る
10個以上の画像は省略されています。
公開番号
2025174594
公報種別
公開特許公報(A)
公開日
2025-11-28
出願番号
2024081071
出願日
2024-05-17
発明の名称
空気調和装置及び衣類乾燥方法
出願人
三菱電機株式会社
,
三菱電機ホーム機器株式会社
代理人
弁理士法人高田・高橋国際特許事務所
主分類
F24F
11/79 20180101AFI20251120BHJP(加熱;レンジ;換気)
要約
【課題】除湿機能と空気清浄機能とを備えた空気調和装置において、衣類乾燥運転時に衣類に付着する汚れを抑制すること。
【解決手段】本開示に係る空気調和装置は、吸込口と吹出口とが形成された筐体と、吸込口から吹出口へ至る気流を発生させる送風手段と、吸込口から取り込まれた空気を清浄化する空気清浄部と、吸込口から取り込まれた空気中に含まれる水分を除去する除湿部と、吹出口からの風向を変更する風向変更部と、を備え、空気清浄部を通過させた空気を吹出口から吹き出させる第一風向制御を行う第一工程と、第一工程の後に実行され、第一風向制御と異なる第二風向制御で衣類の乾燥を行う第二工程とを有し、第一風向制御は、第二風向制御よりも衣類に当たる空気の量が少ない風向となるように制御される衣類乾燥モードを備える。
【選択図】図1
特許請求の範囲
【請求項1】
吸込口と吹出口とが形成された筐体と、
前記吸込口から前記吹出口へ至る気流を発生させる送風手段と、
前記吸込口から取り込まれた空気を清浄化する空気清浄部と、
前記吸込口から取り込まれた空気中に含まれる水分を除去する除湿部と、
前記吹出口からの風向を変更する風向変更部と、
を備え、
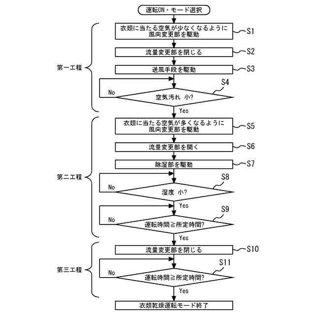
前記空気清浄部を通過させた空気を前記吹出口から吹き出させる第一風向制御を行う第一工程と、前記第一工程の後に実行され、前記第一風向制御と異なる第二風向制御で衣類の乾燥を行う第二工程とを有し、前記第一風向制御は、前記第二風向制御よりも衣類に当たる空気の量が少ない風向となるように制御される衣類乾燥モードを備える空気調和装置。
続きを表示(約 650 文字)
【請求項2】
前記第一風向制御の風向と、前記第二風向制御の風向とを、使用者が任意に設定可能である請求項1に記載の空気調和装置。
【請求項3】
前記衣類乾燥モードは、前記第二工程の後に実行され、前記空気清浄部を通過させた空気を前記吹出口から吹き出させる前記第二風向制御を行う第三工程を備える請求項1または請求項2に記載の空気調和装置。
【請求項4】
前記吸込口から入った空気が、前記空気清浄部、前記除湿部、及び前記送風手段を通過して、前記吹出口から吹き出される第一の風路と、
前記吸込口から入った空気が、前記空気清浄部を通過せずに、前記除湿部及び前記送風手段を通過して、前記吹出口から吹き出される第二の風路と、
前記第二の風路の流量を変更する流量変更手段と、
をさらに備え、
前記第一工程では前記流量変更手段を閉じ、前記第二工程では前記流量変更手段を開く請求項1または請求項2に記載の空気調和装置。
【請求項5】
空気を清浄化する空気清浄部と、空気中に含まれる水分を除去する除湿部とを備えた空気調和装置を利用し、前記空気調和装置が設置された空間に干された衣類を乾燥させる衣類乾燥方法であって、
前記空気清浄部で清浄化された空気を、前記衣類を避ける方向に吹き出す第一工程と、
前記第一工程の後に実行され、前記除湿部で水分が除去された空気を、前記衣類に向かう方向に吹き出す第二工程と、を行う衣類乾燥方法。
発明の詳細な説明
【技術分野】
【0001】
本開示は、空気調和装置及び衣類乾燥方法に関する。
続きを表示(約 1,900 文字)
【背景技術】
【0002】
除湿機能を備える空気調和装置は、室内に干した衣類を乾燥させることに利用できる。除湿手段によって空気中に含まれる水分を除去して、衣類に向かって空気を送ることで、衣類の乾燥にかかる時間を短くすることができる。特許文献1には、除湿運転、空気清浄運転、衣類乾燥運転の各運転モードを備えた除湿機が開示されている。
【先行技術文献】
【特許文献】
【0003】
特開2001-221496号公報
【発明の概要】
【発明が解決しようとする課題】
【0004】
特許文献1に記載の技術においては、各運転モードはそれぞれ独立した制御で動作する。そのため、空気清浄がされていない室内で衣類乾燥運転を選択すると、衣類に向かって室内の清浄化されていない空気が送風されてしまい、衣類に空気中の汚れが多く付着してしまうおそれがある。
【0005】
本開示は、上述のような課題を解決するためになされた。本開示の目的は、除湿機能と空気清浄機能とを備えた空気調和装置において、衣類乾燥運転時に衣類に付着する汚れを抑制することである。
【課題を解決するための手段】
【0006】
本開示に係る空気調和装置は、吸込口と吹出口とが形成された筐体と、吸込口から吹出口へ至る気流を発生させる送風手段と、吸込口から取り込まれた空気を清浄化する空気清浄部と、吸込口から取り込まれた空気中に含まれる水分を除去する除湿部と、吹出口からの風向を変更する風向変更部と、を備え、空気清浄部を通過させた空気を吹出口から吹き出させる第一風向制御を行う第一工程と、第一工程の後に実行され、第一風向制御と異なる第二風向制御で衣類の乾燥を行う第二工程とを有し、第一風向制御は、第二風向制御よりも衣類に当たる空気の量が少ない風向となるように制御される衣類乾燥モードを備えるものである。
また、本開示に係る衣類乾燥方法は、空気を清浄化する空気清浄部と、空気中に含まれる水分を除去する除湿部とを備えた空気調和装置を利用し、空気調和装置が設置された空間に干された衣類を乾燥させる衣類乾燥方法であって、空気清浄部で清浄化された空気を、衣類を避ける方向に吹き出す第一工程と、第一工程の後に実行され、除湿部で水分が除去された空気を、衣類に向かう方向に吹き出す第二工程と、を行うものである。
【発明の効果】
【0007】
本開示によれば、除湿機能と空気清浄機能とを備えた空気調和装置において、衣類乾燥運転時に衣類に付着する汚れを抑制することが可能となる。
【図面の簡単な説明】
【0008】
実施の形態1に係る空気調和装置の外観斜視図である。
実施の形態1に係る空気調和装置の背面側から見た外観斜視図である。
実施の形態1に係る空気調和装置の分解斜視図である。
実施の形態1に係る図1のA-A線断面図である。
実施の形態1に係る図1のB-B線断面図である。
実施の形態1に係る吸込口から空気を吸い込む流路を示す断面図である。
実施の形態1に係る空気調和装置の空気清浄運転モードのフローチャートである。
実施の形態1に係る空気調和装置の空気清浄運転モードが第三工程を備える場合のフローチャートである。
実施の形態1における制御基板の機能を実現する構成の一例を示す図である。
【発明を実施するための形態】
【0009】
以下、図面を参照して実施の形態について説明する。各図において共通または対応する要素には、同一の符号を付して、説明を簡略化または省略する。なお、以下に示す実施の形態に示した構成は、本開示による技術的思想の一例を示すものであり、別の公知の技術と組み合わせることも可能であるし、本開示に記載の複数の技術的思想を組み合わせることも可能である。また、以下の実施の形態によって開示される構成は、本開示の要旨を逸脱しない範囲で、一部を省略または変更することも可能である。
【0010】
実施の形態1.
図1は、実施の形態1に係る空気調和装置1の外観斜視図である。図2は、実施の形態1に係る空気調和装置1の背面側から見た外観斜視図である。図3は、実施の形態1に係る空気調和装置1の分解斜視図である。図4は、図1のA-A線断面図である。図5は、図1のB-B線断面図である。
(【0011】以降は省略されています)
この特許をJ-PlatPat(特許庁公式サイト)で参照する
関連特許
三菱電機株式会社
換気扇
1か月前
三菱電機株式会社
換気扇
12日前
三菱電機株式会社
増幅器
1か月前
三菱電機株式会社
扇風機
1か月前
三菱電機株式会社
冷蔵庫
19日前
三菱電機株式会社
冷蔵庫
1か月前
三菱電機株式会社
換気扇
1か月前
三菱電機株式会社
換気扇
1か月前
三菱電機株式会社
換気装置
11日前
三菱電機株式会社
電気機器
19日前
三菱電機株式会社
電子機器
1か月前
三菱電機株式会社
送風装置
今日
三菱電機株式会社
照明装置
1か月前
三菱電機株式会社
収集装置
1か月前
三菱電機株式会社
照明器具
13日前
三菱電機株式会社
送風装置
今日
三菱電機株式会社
空気調和機
1か月前
三菱電機株式会社
半導体装置
6日前
三菱電機株式会社
半導体装置
2か月前
三菱電機株式会社
回路遮断器
27日前
三菱電機株式会社
半導体装置
4日前
三菱電機株式会社
半導体装置
6日前
三菱電機株式会社
保護リレー
1か月前
三菱電機株式会社
加熱調理器
27日前
三菱電機株式会社
半導体装置
1か月前
三菱電機株式会社
半導体装置
19日前
三菱電機株式会社
冷凍冷蔵庫
4日前
三菱電機株式会社
半導体装置
今日
三菱電機株式会社
半導体装置
今日
三菱電機株式会社
電動送風機
11日前
三菱電機株式会社
光源デバイス
1か月前
三菱電機株式会社
貯湯式給湯機
1か月前
三菱電機株式会社
調理システム
1か月前
三菱電機株式会社
炊飯システム
1か月前
三菱電機株式会社
照明システム
2か月前
三菱電機株式会社
制御システム
1か月前
続きを見る
他の特許を見る