TOP
|
特許
|
意匠
|
商標
特許ウォッチ
Twitter
他の特許を見る
公開番号
2025173957
公報種別
公開特許公報(A)
公開日
2025-11-28
出願番号
2024079861
出願日
2024-05-16
発明の名称
ヒートシンク、及び照明器具
出願人
三菱電機株式会社
,
三菱電機照明株式会社
代理人
個人
,
個人
,
個人
主分類
F21V
29/75 20150101AFI20251120BHJP(照明)
要約
【課題】総表面積を大きくする際にトング比の最大値が高くなることを抑制できる構成のヒートシンクを得ることを目的とする。
【解決手段】第1面1311及び第1面1311と並行する裏面である第2面1312を有し上下方向Zに延在する板状の第1土台131と、第1土台131の第1面1311に設けられて上下方向Zに延在する複数の板状の放熱フィン134と、第1土台131の第2面1312に設けられて上下方向に延在する板状の連結部133と、第1土台131の第2面1312と対向するとともに一部が連結部133と連結する第3面1321を有し上下方向Zに延在する板状の第2土台132とによりヒートシンクを構成する。
【選択図】図4
特許請求の範囲
【請求項1】
第1面及び前記第1面と並行する裏面である第2面を有し、第1方向に延在する板状の第1土台と、
前記第1土台の前記第1面に設けられ、前記第1方向に延在する複数の板状の放熱フィンと、
前記第1土台の前記第2面に設けられ、前記第1方向に延在する板状の連結部と、
前記第1土台の前記第2面と対向するとともに一部が前記連結部と連結する第3面を有し、前記第1方向に延在する板状の第2土台と、
を備えたヒートシンク。
続きを表示(約 550 文字)
【請求項2】
複数の前記放熱フィンは、前記第1土台の前記第1面に隣り合って配置されている請求項1に記載のヒートシンク。
【請求項3】
前記隣り合って配置されている複数の放熱フィンは、それぞれの放熱フィンの前記第1面から先端までの長さに対応した間隔で配置されていることを特徴とする請求項2に記載のヒートシンク。
【請求項4】
発光部と、
円板状であり、前記発光部が一方側の面に取り付けられ、前記一方側の面の反対側である他方側の面を有する配置板と、
前記配置板の前記他方側の面に取付られた請求項1から3のいずれか1項に記載のヒートシンクと、
を備えた照明器具。
【請求項5】
前記ヒートシンクの前記放熱フィンは、先端が前記第1土台の前記第1面から前記配置板の外縁まで突出する長さに形成されていることを特徴とする請求項4に記載の照明器具。
【請求項6】
前記配置板の前記他方側の面には2つの前記ヒートシンクが取り付けられ、
前記2つのヒートシンクは、互いの前記第2土台の前記第3面と並行する裏面である第4面同士が離間して対向した状態で前記配置板に取り付けられることを特徴とする請求項4に記載の照明器具。
発明の詳細な説明
【技術分野】
【0001】
本開示は、照明器具等に用いられるヒートシンク、及びヒートシンクを有する照明器具に関する。
続きを表示(約 2,500 文字)
【背景技術】
【0002】
照明器具の光源が発光動作によって発熱し、この熱が照明装置の他の部分に影響することを抑えるため、従来の照明装置では、光源が発生した熱を吸収して外部に放出するヒートシンク等の放熱部材が設けられている。例えば、特許文献1には、光源を実装面に実装した基板と、基板の実装面の裏側である裏面に配置されたヒートシンクを設けた照明装置が開示されている。このヒートシンクは、基板の裏面から鉛直方向に延びる円柱形状の軸部と、軸部から側方に突出する複数の放熱フィンを有する。このヒートシンクのように、円柱の軸方向と直交する断面が軸方向のどの位置でも同じ断面形状である形状のものは、押出成形法を用いて成形することができる。
【先行技術文献】
【特許文献】
【0003】
特開2020―13640号公報
【発明の概要】
【発明が解決しようとする課題】
【0004】
ヒートシンクの放熱性能は、放熱面積が大きいほど高くなるので、上記のような構成のヒートシンクにおいて放熱性能を高くするためにヒートシンクの総表面積を大きくするには、各放熱フィンの面積を大きくすること、あるいは放熱フィンの数を増やすことが必要になる。
このようなヒートシンクにおいて各放熱フィンの面積を大きくするには、放熱フィンの縦と横の長さ、すなわち軸部の軸方向の長さ、及び放熱フィンの軸部から突出する方向の長さを長くする必要があり、放熱フィンの軸部の長さが制限されている場合は放熱フィンの軸部から突出する方向の長さを長くする必要がある。また、このようなヒートシンクにおいて放熱フィンの数を増やすと、隣り合う放熱フィン同士の間隙は小さくなる。
一方、上記のような構成のヒートシンクを押出成形法で成形する場合、放熱フィンの軸部から突出した部分の長さを、隣り合う放熱フィンとの間隙の長さで割った比であるトング比が高くなるにつれて加工の難易度が増加する。すなわち、トング比が大きい場合、押出成形において材料と金型との摩擦抵抗が大きくなるために加工の難易度が増加する。押出成形法で不具合なく成形するために決められるトング比の適正値は、押出成形を行う際の各種条件、あるいはヒートシンクの材料等に依存して決められる。
上記のような構成のヒートシンクにおいては、総表面積を大きくするために、軸部から突出する部分の放熱フィンの長さを大きくすると、あるいは放熱フィンの数を増やすため隣り合う放熱フィン同士の間隙を小さくすると、トング比の最大値が大きくなってしまうという課題があった。
【0005】
本開示は、上記した課題を解決するためになされたものであり、総表面積を大きくする際にトング比の最大値が高くなることを抑制できる構成のヒートシンクを得ることを目的とするものである。
【課題を解決するための手段】
【0006】
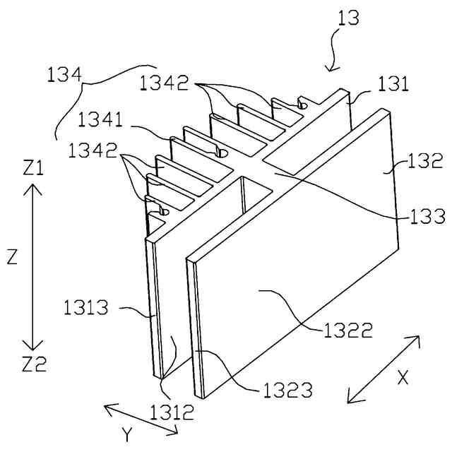
本開示のヒートシンクは、第1面及び第1面と並行する裏面である第2面を有し第1方向に延在する板状の第1土台と、第1土台の第1面に設けられ第1方向に延在する複数の板状の放熱フィンと、第1土台の第2面に設けられ第1方向に延在する板状の連結部と、第1土台の第2面と対向するとともに一部が連結部と連結する第3面を有し第1方向に延在する板状の第2土台と、を備えるものである。
【発明の効果】
【0007】
本開示のヒートシンクは、複数の放熱フィンが設けられた第1面及び第1面と並行する裏面である第2面を有する第1土台と、第1土台の第2面と対向するとともに連結部によって第1土台と連結された第2土台と、を有することによって、第2土台の表面積の分だけ総表面積が増え、総表面積を大きくする際に、隣り合う放熱フィンにおけるトング比の最大値が高くなることを抑制できる。
【図面の簡単な説明】
【0008】
実施の形態1に係る照明器具を斜め下から視た斜視図である。
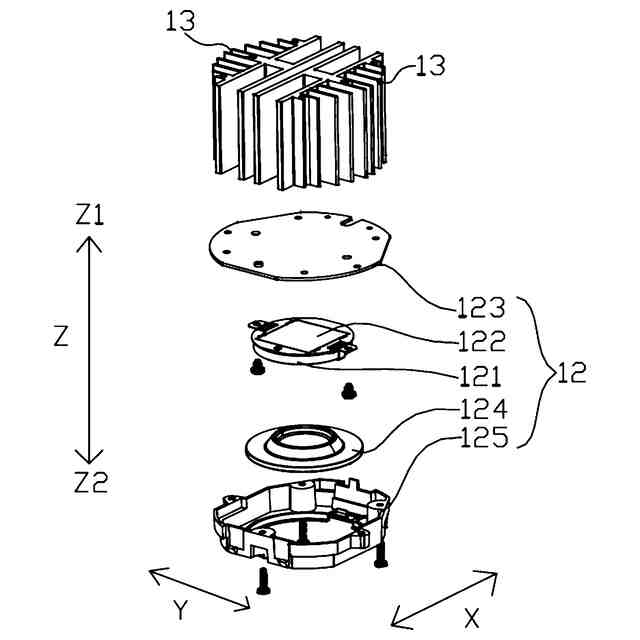
実施の形態1に係る発光部とヒートシンクを分解して示す分解斜視図である。
実施の形態1に係るヒートシンクを斜め上から視た斜視図である。
実施の形態1に係るヒートシンクを上から視た上面図である。
実施の形態1に係るヒートシンクの配置板とヒートシンクを上から視た上面図である。
【発明を実施するための形態】
【0009】
実施の形態1.
以下、実施の形態1に係るヒートシンク、及び照明器具について、図面を参照しながら説明する。以下の図面において、同一の符号を付したものは、同一又は相当するものである。また、明細書の全文において、方向を表す用語を適宜用いるが、これは説明のためのものであって、これらの用語は、照明器具を限定するものでは無い。
方向を表す用語としては、例えば、上下方向Z、奥行方向X、幅方向Y、であり、本実施の形態においては、第1方向は上下方向Z、第2方向は奥行方向X、第3方向は幅方向Yある。上下方向Z、奥行方向X、幅方向Yは互いに直交する方向である。上下方向Zは、図1に示すZ軸の方向であり、照明器具1の上下方向を示す。また、天井などの被取付部に向かう方向を上方向Z1と呼び、床面に向かう方向を下方向Z2と呼ぶ。奥行方向Xは、図1に示すX軸の方向であり、照明器具1の奥行方向を示す。幅方向Yは、図1に示すY軸の方向であり、照明器具1の幅方向を示す。また、奥行方向Xと幅方向Yとで成す平面を平面XYと呼ぶ。
【0010】
実施の形態1の照明器具1の構成について図1から図4を用いて説明する。図1は、実施の形態1に係る照明器具1を斜め下から視た斜視図である。図2は、図1の照明器具1の後述する発光部12と後述するヒートシンク13を上から視た分解斜視図である。図3は、図2のヒートシンク13を斜め上から視た斜視図である。図4は、図2のヒートシンク13を上から視た上面図である。
(【0011】以降は省略されています)
この特許をJ-PlatPat(特許庁公式サイト)で参照する
関連特許
三菱電機株式会社
換気扇
12日前
三菱電機株式会社
換気扇
1か月前
三菱電機株式会社
冷蔵庫
1か月前
三菱電機株式会社
冷蔵庫
19日前
三菱電機株式会社
増幅器
1か月前
三菱電機株式会社
換気扇
1か月前
三菱電機株式会社
換気扇
1か月前
三菱電機株式会社
扇風機
1か月前
三菱電機株式会社
収集装置
1か月前
三菱電機株式会社
照明器具
13日前
三菱電機株式会社
電子機器
1か月前
三菱電機株式会社
電気機器
19日前
三菱電機株式会社
換気装置
11日前
三菱電機株式会社
照明装置
1か月前
三菱電機株式会社
電動送風機
11日前
三菱電機株式会社
半導体装置
6日前
三菱電機株式会社
半導体装置
19日前
三菱電機株式会社
回路遮断器
27日前
三菱電機株式会社
加熱調理器
27日前
三菱電機株式会社
冷凍冷蔵庫
4日前
三菱電機株式会社
半導体装置
6日前
三菱電機株式会社
半導体装置
4日前
三菱電機株式会社
半導体装置
1か月前
三菱電機株式会社
保護リレー
1か月前
三菱電機株式会社
空気調和機
1か月前
三菱電機株式会社
位置算出装置
12日前
三菱電機株式会社
ねじ締め装置
1か月前
三菱電機株式会社
空調システム
1か月前
三菱電機株式会社
貯湯式給湯機
1か月前
三菱電機株式会社
空気清浄装置
27日前
三菱電機株式会社
調理システム
1か月前
三菱電機株式会社
車両制御装置
11日前
三菱電機株式会社
貯湯式給湯機
1か月前
三菱電機株式会社
炊飯システム
1か月前
三菱電機株式会社
貯湯式給湯機
1か月前
三菱電機株式会社
光源デバイス
1か月前
続きを見る
他の特許を見る