TOP
|
特許
|
意匠
|
商標
特許ウォッチ
Twitter
他の特許を見る
10個以上の画像は省略されています。
公開番号
2025168810
公報種別
公開特許公報(A)
公開日
2025-11-12
出願番号
2024073583
出願日
2024-04-30
発明の名称
燃料電池用電力供給システム、燃料電池システム、および燃料電池用電力供給方法
出願人
株式会社東芝
,
東芝エネルギーシステムズ株式会社
代理人
弁理士法人サクラ国際特許事務所
主分類
H01M
8/043 20160101AFI20251105BHJP(基本的電気素子)
要約
【課題】外部電源の停電時に燃料電池装置起動用電力の供給を可能とする。
【解決手段】実施形態によれば、燃料電池用電力供給システム200は、燃料電池装置10の補機13への電力を、外部電源1から供給する外部電力供給モード、バックアップ電源2から供給するバックアップ電力供給モード、燃料電池装置10の自立電力を供給する自立運転モードのいずれでも供給可能な電力切替え装置20と、電源制御装置100とを具備する。電力切替え装置20は、外部電力供給モードとバックアップ電力供給モードを切替える外部電源切替えスイッチ33と、外部電力供給モードまたはバックアップ電力供給モードと自立運転モードを切替える自立電源切替えスイッチ35と、複数の開閉スイッチ30bを有する。電源制御装置100は、外部電源1の停電の際に、複数の開閉スイッチ30bおよび燃料電池装置10を制御する。
【選択図】図1
特許請求の範囲
【請求項1】
複数の燃料電池装置のそれぞれの補機への交流電力を、外部電源から受電して供給する外部電力供給モード、前記外部電源に代替するバックアップ電源から受電して供給するバックアップ電力供給モード、および複数の前記燃料電池装置の少なくとも一つからの自立電力により供給する自立運転モードのいずれによっても供給可能に構成された電力切替え装置と、
電源制御装置と、
を具備する燃料電池用電力供給システムであって、
前記電力切替え装置は、前記外部電力供給モードと前記バックアップ電力供給モードとの切替えのための外部電源切替えスイッチと、前記外部電力供給モードまたは前記バックアップ電力供給モードと前記自立運転モードとの切替えのための自立電源切替えスイッチと、複数の開閉スイッチと、を有し、
前記電源制御装置は、前記外部電源の停電の際に、前記電力切替え装置の複数の前記開閉スイッチおよび複数の前記燃料電池装置を制御する、
ことを特徴とする燃料電池用電力供給システム。
続きを表示(約 1,200 文字)
【請求項2】
前記電源制御装置は、前記外部電源の停電の際の複数の前記燃料電池装置についての起動の優先度を設定する燃料電池装置優先度設定部を有することを特徴とする請求項1に記載の燃料電池用電力供給システム。
【請求項3】
前記燃料電池装置優先度設定部は、複数の前記燃料電池装置のそれぞれに関する燃料電池装置情報および複数の前記燃料電池装置のそれぞれの負荷に関する負荷情報に基づいて、前記優先度を設定することを特徴とする請求項2に記載の燃料電池用電力供給システム。
【請求項4】
前記外部電源切替えスイッチおよび前記自立電源切替えスイッチは、双投型電源切替え開閉器であることを特徴とする請求項1に記載の燃料電池用電力供給システム。
【請求項5】
複数の前記燃料電池装置と、
請求項1ないし請求項4のいずれか一項に記載の燃料電池用電力供給システムと、
を備えることを特徴とする燃料電池システム。
【請求項6】
複数の燃料電池装置のそれぞれの補機への交流電力を、外部電源から受電して供給する外部電力供給モード、前記外部電源に代替するバックアップ電源から受電して供給するバックアップ電力供給モード、および複数の前記燃料電池装置の少なくとも一つからの自立電力により供給する自立運転モードのいずれによっても供給可能に構成された電力切替え装置と、前記電力切替え装置および複数の前記燃料電池装置の制御を行う電源制御装置と、を具備する燃料電池用電力供給システムを用いた燃料電池用電力供給方法であって、
少なくとも1つの前記燃料電池装置が前記外部電力供給モードにより運転している場合に、
前記電源制御装置が、前記外部電源が停電したか否かを判定するステップと、
前記外部電源が停電したと判定された場合に、前記電源制御装置が前記電力切替え装置を、前記外部電力供給モードから前記自立運転モードに切替えるステップと、
を有することを特徴とする燃料電池用電力供給方法。
【請求項7】
前記電力切替え装置は前記外部電力供給モードにあり、複数の前記燃料電池装置のいずれもが運転状態にない場合に、
前記外部電源が停電したか否かを判定するステップの前に、前記電源制御装置が、複数の前記燃料電池装置のうちに起動すべき前記燃料電池装置が有るか否かを判定するステップをさらに有し、
前記外部電源が停電したと判定された場合に、前記電源制御装置が、前記バックアップ電源が使用可能か否かを判定するステップと、
前記バックアップ電源が使用可能と判定された場合に、前記電源制御装置が前記電力切替え装置を、前記外部電力供給モードから前記バックアップ電力供給モードに切替えるステップと、
をさらに有する、
ことを特徴とする請求項6に記載の燃料電池用電力供給方法。
発明の詳細な説明
【技術分野】
【0001】
本発明の実施形態は、燃料電池用電力供給システム、燃料電池システム、および燃料電池用電力供給方法に関する。
続きを表示(約 2,000 文字)
【背景技術】
【0002】
燃料電池は、水素を高効率で電力に変換できるクリーンな電力源である。また、分散型電源として、商用の電力系統が利用できない環境における電源としても有用である。
【0003】
このため、近年、燃料電池が注目され、広く開発、利用されるようになっている。
【先行技術文献】
【特許文献】
【0004】
特開2016-110820号公報
【発明の概要】
【発明が解決しようとする課題】
【0005】
燃料電池の運転には、ポンプ、ブロワ、弁などの補機の運転が必要である。このため、燃料電池の運転には、これらの補機のための電力が必要となる。ここで、燃料電池と補機を総称して燃料電池装置と呼ぶものとする。
【0006】
この燃料電池装置の補機用の電力には、通常、運転コスト上の理由から、商用電力などの外部電源が用いられるが、外部電源が停電した場合においての起動手段の確保、起動方法の確立が必要である。
【0007】
本発明が解決しようとする課題は、外部電源の停電時に燃料電池装置へ電力の供給を可能とする燃料電池用電力供給システム、燃料電池システム、および燃料電池用電力供給方法を提供することである。
【課題を解決するための手段】
【0008】
上述の目的を達成するため、本実施形態に係る燃料電池用電力供給システムは、複数の燃料電池装置のそれぞれの補機への交流電力を、外部電源から受電して供給する外部電力供給モード、前記外部電源に代替するバックアップ電源から受電して供給するバックアップ電力供給モード、および複数の前記燃料電池装置の少なくとも一つからの自立電力により供給する自立運転モードのいずれによっても供給可能に構成された電力切替え装置と、電源制御装置と、を具備する燃料電池用電力供給システムであって、前記電力切替え装置は、前記外部電力供給モードと前記バックアップ電力供給モードとの切替えのための外部電源切替えスイッチと、前記外部電力供給モードまたは前記バックアップ電力供給モードと前記自立運転モードとの切替えのための自立電源切替えスイッチと、複数の開閉スイッチと、を有し、前記電源制御装置は、前記外部電源の停電の際に、前記電力切替え装置の複数の前記開閉スイッチおよび複数の前記燃料電池装置を制御する、ことを特徴とする。
【図面の簡単な説明】
【0009】
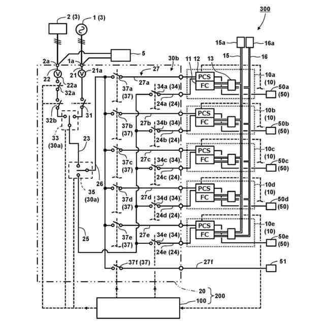
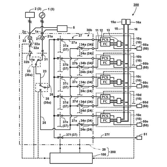
実施形態に係る燃料電池システムの構成を示すブロック図である。
実施形態に係る燃料電池用電力供給システムの電源制御装置の構成を示すブロック図である。
実施形態に係る燃料電池用電力供給システムの電源制御装置における燃料電池装置優先度設定部による優先度設定用テーブルの例を示す図である。
実施形態に係る燃料電池用電力供給方法におけるFC運転中停電ケースの手順を示すフロー図である。
実施形態に係る燃料電池用電力供給方法におけるFC運転中停電ケースでの当該燃料電池装置の自立運転への移行手順の詳細を示すフロー図である。
実施形態に係る燃料電池用電力供給方法におけるFC運転中停電ケースでの他の燃料電池装置の運転への移行手順の詳細を示すフロー図である。
実施形態に係る燃料電池用電力供給方法におけるFC運転中停電ケースでの初期状態である外部電力供給モードの状態を示すブロック図である。
実施形態に係る燃料電池用電力供給方法におけるFC運転中停電ケースでの燃料電池装置の自立運転への移行を終了した自立電力供給モードの状態を示すブロック図である。
実施形態に係る燃料電池用電力供給方法におけるFC運転中停電ケースでの燃料電池装置の自立運転で他の燃料電池装置の運転への移行を終了した自立電力供給モードの状態を示すブロック図である。
実施形態に係る燃料電池用電力供給方法におけるFC停止中停電ケースの手順を示すフロー図である。
実施形態に係る燃料電池用電力供給方法におけるFC停止中停電ケースの初期状態を示すブロック図である。
実施形態に係る燃料電池用電力供給方法におけるFC運転中停電ケースでのバックアップ電源からの受電状態に移行したバックアップ電力供給モードの状態を示すブロック図である。
【発明を実施するための形態】
【0010】
以下、図面を参照して、本発明の実施形態に係る電源切替え装置、燃料電池システム、および電源切替え方法について説明する。ここで、互いに同一または類似の部分には、共通の符号を付して、重畳する説明は省略する。
(【0011】以降は省略されています)
この特許をJ-PlatPat(特許庁公式サイト)で参照する
関連特許
株式会社東芝
端子台
20日前
株式会社東芝
電子回路
29日前
株式会社東芝
電子装置
1か月前
株式会社東芝
電子装置
1か月前
株式会社東芝
除去装置
13日前
株式会社東芝
半導体装置
1か月前
株式会社東芝
半導体装置
29日前
株式会社東芝
半導体装置
1か月前
株式会社東芝
真空バルブ
28日前
株式会社東芝
半導体装置
29日前
株式会社東芝
半導体装置
29日前
株式会社東芝
高周波回路
29日前
株式会社東芝
半導体装置
1か月前
株式会社東芝
半導体装置
29日前
株式会社東芝
半導体装置
29日前
株式会社東芝
半導体装置
1か月前
株式会社東芝
半導体装置
1か月前
株式会社東芝
真空バルブ
1か月前
株式会社東芝
半導体装置
1か月前
株式会社東芝
半導体装置
1か月前
株式会社東芝
半導体装置
1か月前
株式会社東芝
半導体装置
1か月前
株式会社東芝
半導体装置
1か月前
株式会社東芝
超電導コイル
1か月前
株式会社東芝
補修システム
26日前
株式会社東芝
重量測定装置
1か月前
株式会社東芝
コントローラ
29日前
株式会社東芝
音響制御装置
1か月前
株式会社東芝
ディスク装置
12日前
株式会社東芝
台車搬送装置
1か月前
株式会社東芝
電気車制御装置
15日前
株式会社東芝
半導体集積回路
28日前
株式会社東芝
アーク溶接方法
1か月前
株式会社東芝
半導体スイッチ
27日前
株式会社東芝
磁気ディスク装置
29日前
株式会社東芝
パワーモジュール
5日前
続きを見る
他の特許を見る