TOP
|
特許
|
意匠
|
商標
特許ウォッチ
Twitter
他の特許を見る
公開番号
2025144880
公報種別
公開特許公報(A)
公開日
2025-10-03
出願番号
2024044783
出願日
2024-03-21
発明の名称
アーク溶接方法
出願人
株式会社東芝
,
東芝産業機器システム株式会社
代理人
弁理士法人iX
主分類
B23K
9/095 20060101AFI20250926BHJP(工作機械;他に分類されない金属加工)
要約
【課題】穴あき欠陥の発生を抑制しつつ、補修による不具合の発生を抑制できるアーク溶接方法を提供する。
【解決手段】実施形態に係るアーク溶接方法は、平板状の第1被溶接材料に、平板状の第1部分を有する第2被溶接材料の前記第1部分を重ね合わせてアーク溶接を行う方法である。実施形態に係るアーク溶接方法は、取得工程と、調整工程と、を含む。前記取得工程では、前記第1被溶接材料に前記第2被溶接材料を重ね合わせてアーク溶接を行っている間に溶融池に生じた穴の状態を示すパラメータの変化率を取得する。前記調整工程では、前記変化率に基づいて、前記アーク溶接の条件を調整する。前記調整工程では、前記変化率の絶対値が第1閾値以上の場合には、前記条件を変更せず、前記変化率の絶対値が前記第1閾値未満の場合には、前記条件を変更する。
【選択図】図5
特許請求の範囲
【請求項1】
平板状の第1被溶接材料に、平板状の第1部分を有する第2被溶接材料の前記第1部分を重ね合わせてアーク溶接を行う方法であって、
前記第1被溶接材料に前記第2被溶接材料を重ね合わせてアーク溶接を行っている間に溶融池に生じた穴の状態を示すパラメータの変化率を取得する取得工程と、
前記変化率に基づいて、前記アーク溶接の条件を調整する調整工程と、
を備え、
前記調整工程において、
前記変化率の絶対値が第1閾値以上の場合には、前記条件を変更せず、
前記変化率の絶対値が前記第1閾値未満の場合には、前記条件を変更する、アーク溶接方法。
続きを表示(約 1,300 文字)
【請求項2】
前記パラメータは、前記穴の面積である、請求項1記載のアーク溶接方法。
【請求項3】
前記取得工程において、溶接箇所の画像を取得し、前記画像において輝度が所定値以下の部分を前記穴と判定することにより、前記穴の面積の変化率を取得する、請求項2記載のアーク溶接方法。
【請求項4】
前記取得工程において、溶接箇所の画像を取得し、機械学習により作成したモデルに基づいて前記画像における前記穴を判定することにより、前記穴の面積の変化率を取得する、請求項2記載のアーク溶接方法。
【請求項5】
前記条件は、前記アーク溶接における電流値、電圧値、及び通電時間の少なくともいずれかを含む、請求項1記載のアーク溶接方法。
【請求項6】
前記条件は、前記アーク溶接における溶接棒の位置を含む、請求項1記載のアーク溶接方法。
【請求項7】
前記条件は、前記アーク溶接における溶接棒の移動速度を含む、請求項1記載のアーク溶接方法。
【請求項8】
前記調整工程において、
前記変化率の絶対値が前記第1閾値以上の場合、かつ、前記パラメータが第2閾値未満の場合には、前記条件を変更せず、
前記変化率の絶対値が前記第1閾値以上の場合、かつ、前記パラメータが第2閾値以上の場合には、前記条件を変更する、請求項1記載のアーク溶接方法。
【請求項9】
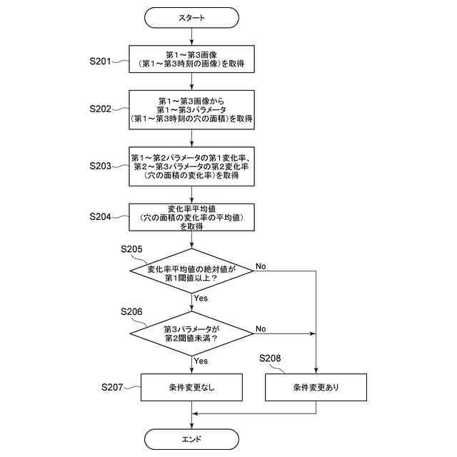
前記取得工程において、前記パラメータを連続的に取得し、第1時刻における前記パラメータである第1パラメータ、前記第1時刻よりも後の第2時刻における前記パラメータである第2パラメータ、及び前記第2時刻よりも後の第3時刻における前記パラメータである第3パラメータに基づいて、前記第1パラメータから前記第2パラメータへの変化率である第1変化率及び前記第2パラメータから前記第3パラメータへの変化率である第2変化率を取得するとともに、前記第1変化率及び前記第2変化率の平均値である変化率平均値を取得し、
前記調整工程において、
前記変化率平均値の絶対値が前記第1閾値以上の場合には、前記条件を変更せず、
前記変化率平均値の絶対値が前記第1閾値未満の場合には、前記条件を変更する、請求項1~8のいずれか1つに記載のアーク溶接方法。
【請求項10】
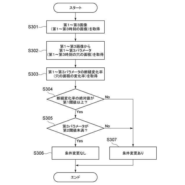
前記取得工程において、前記パラメータを連続的に取得し、第1時刻における前記パラメータである第1パラメータ、前記第1時刻よりも後の第2時刻における前記パラメータである第2パラメータ、及び前記第2時刻よりも後の第3時刻における前記パラメータである第3パラメータに基づいて、前記第1パラメータから前記第3パラメータへの変化率である断続変化率を取得し、
前記調整工程において、
前記断続変化率の絶対値が前記第1閾値以上の場合には、前記条件を変更せず、
前記断続変化率の絶対値が前記第1閾値未満の場合には、前記条件を変更する、請求項1~8のいずれか1つに記載のアーク溶接方法。
(【請求項11】以降は省略されています)
発明の詳細な説明
【技術分野】
【0001】
本発明の実施形態は、アーク溶接方法に関する。
続きを表示(約 1,700 文字)
【背景技術】
【0002】
例えば、放熱板とフィンとをアーク溶接により接合する場合に、溶接後のビードに穴あき欠陥が生じる場合がある。穴あき欠陥の発生を抑制する手段として、溶接中の溶融池に生じた穴を補修することが考えられる。しかし、溶接中の溶融池に生じたすべての穴を補修すると、品質のばらつきや歩留まりの低下などの補修による不具合が生じるという問題がある。
【先行技術文献】
【非特許文献】
【0003】
特開2022-105404号公報
【発明の概要】
【発明が解決しようとする課題】
【0004】
本発明が解決しようとする課題は、穴あき欠陥の発生を抑制しつつ、補修による不具合の発生を抑制できるアーク溶接方法を提供することである。
【課題を解決するための手段】
【0005】
実施形態に係るアーク溶接方法は、平板状の第1被溶接材料に、平板状の第1部分を有する第2被溶接材料の前記第1部分を重ね合わせてアーク溶接を行う方法である。実施形態に係るアーク溶接方法は、取得工程と、調整工程と、を含む。前記取得工程では、前記第1被溶接材料に前記第2被溶接材料を重ね合わせてアーク溶接を行っている間に溶融池に生じた穴の状態を示すパラメータの変化率を取得する。前記調整工程では、前記変化率に基づいて、前記アーク溶接の条件を調整する。前記調整工程では、前記変化率の絶対値が第1閾値以上の場合には、前記条件を変更せず、前記変化率の絶対値が前記第1閾値未満の場合には、前記条件を変更する。
【図面の簡単な説明】
【0006】
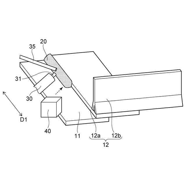
実施形態に係るアーク溶接方法を模式的に表す斜視図である。
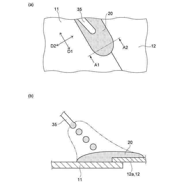
図2(a)及び図2(b)は、実施形態に係るアーク溶接方法において溶融池に穴が生じない場合を模式的に表す平面図及び断面図である。
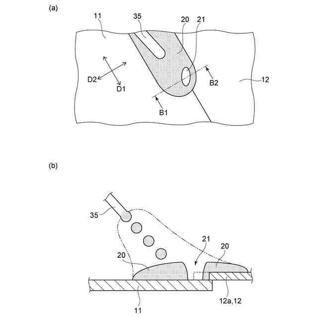
図3(a)及び図3(b)は、実施形態に係るアーク溶接方法において溶融池に穴が生じる場合を模式的に表す平面図及び断面図である。
図4(a)~図4(c)は、実施形態に係るアーク溶接方法において溶融池に生じた穴の状態の変化を模式的に表す平面図である。
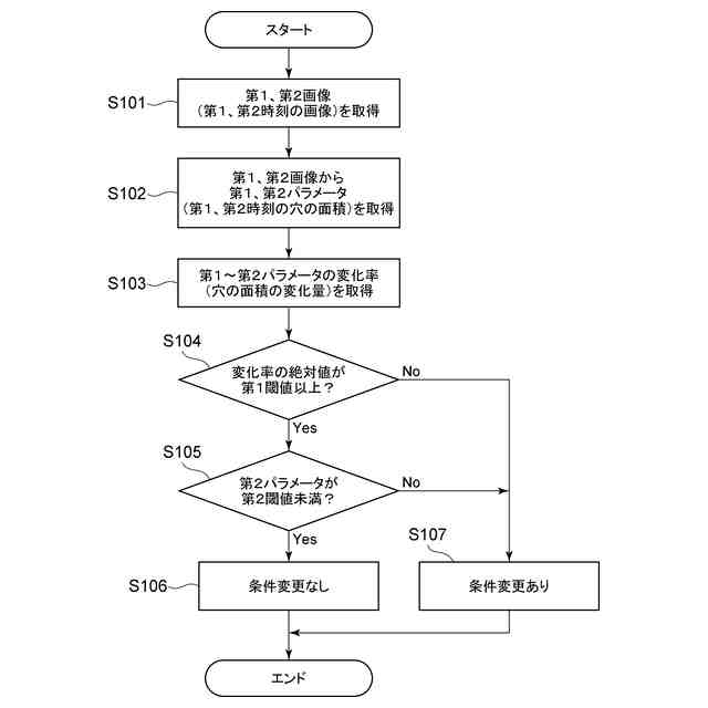
第1実施形態に係るアーク溶接方法の一例を表すフローチャートである。
第2実施形態に係るアーク溶接方法の一例を表すフローチャートである。
第3実施形態に係るアーク溶接方法の一例を表すフローチャートである。
第4実施形態に係るアーク溶接方法の一例を表すフローチャートである。
【発明を実施するための形態】
【0007】
以下に、本発明の各実施形態について図面を参照しつつ説明する。
図面は模式的または概念的なものであり、各部分の厚さと幅との関係、部分間の大きさの比率などは、必ずしも現実のものと同一とは限らない。同じ部分を表す場合であっても、図面により互いの寸法や比率が異なって表される場合もある。
本願明細書と各図において、既出の図に関して前述したものと同様の要素には同一の符号を付して詳細な説明は適宜省略する。
【0008】
図1は、実施形態に係るアーク溶接方法を模式的に表す斜視図である。
図1に表したように、実施形態に係るアーク溶接方法は、第1被溶接材料11に第2被溶接材料12を重ね合わせてアーク溶接を行う方法である。以下では、第1被溶接材料11と第2被溶接材料12とをまとめて、溶接対象Sと称する。
【0009】
実施形態に係るアーク溶接方法は、例えば、TIG(Tungsten Inert Gas)溶接、MIG(Metal Inert Gas)溶接、MAG(Metal Active Gas)溶接、及び炭酸ガスアーク溶接などによるアーク溶接方法を含む。
【0010】
第1被溶接材料11は、平板状である。第1被溶接材料11は、例えば、放熱板である。第1被溶接材料11は、例えば、フィンに接合されるパネルである。
(【0011】以降は省略されています)
この特許をJ-PlatPat(特許庁公式サイト)で参照する
関連特許
株式会社東芝
端子台
1か月前
株式会社東芝
電子源
3日前
株式会社東芝
モータ
2か月前
株式会社東芝
除去装置
1か月前
株式会社東芝
吸音装置
2か月前
株式会社東芝
電子装置
2か月前
株式会社東芝
電子装置
1か月前
株式会社東芝
電子回路
1か月前
株式会社東芝
半導体装置
1か月前
株式会社東芝
半導体装置
1か月前
株式会社東芝
半導体装置
1か月前
株式会社東芝
半導体装置
10日前
株式会社東芝
半導体装置
1か月前
株式会社東芝
半導体装置
1か月前
株式会社東芝
真空バルブ
1か月前
株式会社東芝
半導体装置
1か月前
株式会社東芝
真空バルブ
1か月前
株式会社東芝
半導体装置
1か月前
株式会社東芝
高周波回路
1か月前
株式会社東芝
半導体装置
1か月前
株式会社東芝
半導体装置
1か月前
株式会社東芝
半導体装置
1か月前
株式会社東芝
半導体装置
18日前
株式会社東芝
半導体装置
1か月前
株式会社東芝
半導体装置
1か月前
株式会社東芝
半導体装置
1か月前
株式会社東芝
半導体装置
1か月前
株式会社東芝
半導体装置
3日前
株式会社東芝
半導体装置
1か月前
株式会社東芝
半導体装置
4日前
株式会社東芝
半導体装置
3日前
株式会社東芝
半導体装置
4日前
株式会社東芝
粒子加速器
2か月前
株式会社東芝
真空バルブ
4日前
株式会社東芝
重量測定装置
2か月前
株式会社東芝
熱電変換装置
2か月前
続きを見る
他の特許を見る