TOP
|
特許
|
意匠
|
商標
特許ウォッチ
Twitter
他の特許を見る
10個以上の画像は省略されています。
公開番号
2025145661
公報種別
公開特許公報(A)
公開日
2025-10-03
出願番号
2024045954
出願日
2024-03-22
発明の名称
音響制御装置
出願人
株式会社東芝
,
東芝デジタルソリューションズ株式会社
代理人
弁理士法人鈴榮特許綜合事務所
主分類
G10K
11/175 20060101AFI20250926BHJP(楽器;音響)
要約
【課題】出力装置を通してリアルタイムに聴こえてくる対象音を聴こえにくくできる音響制御装置を提供する。
【解決手段】音響制御装置は、音取得部と、音響処理部と、再生制御部とを備える。音取得部は、聴取者が聴き取っている対象音の聴き取りを妨害するためのノイズとして振る舞う妨害音の情報を含む妨害音データ及び/又は対抗音データを取得する。音響処理部は、取得された妨害音データ及び/又は対抗音データに対し、対象音の聴き取りを妨害するための音響処理を実施する。再生制御部は、音響処理がされた妨害音データ及び/又は対抗音データをシステムの出力装置から再生する。
【選択図】図1
特許請求の範囲
【請求項1】
聴取者が聴き取っている対象音の聴き取りを妨害するためのノイズとして振る舞う妨害音の情報を含む妨害音データを取得する音取得部と、
取得された前記妨害音データに対し、前記対象音の聴き取りを妨害するための音響処理を実施する音響処理部と、
前記音響処理がされた前記妨害音データを出力装置から再生する再生制御部と、
を具備する音響制御装置。
続きを表示(約 970 文字)
【請求項2】
前記音響処理部は、前記音響処理として、前記妨害音データにおける音量の調整処理、周波数帯域の調整処理、前記妨害音データの音像定位処理の少なくとも何れかを実施する、
請求項1に記載の音響制御装置。
【請求項3】
前記音響処理部は、
前記妨害音データを複製し、
複製することにより得られた複数の前記妨害音データに対して異なる位相を付与するとともに異なる方向の音像定位処理を実施する、
請求項1に記載の音響制御装置。
【請求項4】
前記音響処理部は、
同一の前記妨害音データに対して異なる方向の音像定位処理を実施することを逐次に行う、
請求項1に記載の音響制御装置。
【請求項5】
対象音に対するカウンターとして聴取者に聴き取らせる内容を含む対抗音データを取得する音取得部と、
取得された前記対抗音データに対し、聴取者が聴き取っている対象の聴き取りを妨害するための音響処理を実施する音響処理部と、
前記音響処理がされた前記対抗音データを出力装置から再生する再生制御部と、
を具備する音響制御装置。
【請求項6】
前記音響処理部は、前記音響処理として、前記対抗音データにおける音量の調整処理、周波数帯域の調整処理、前記対抗音データの音像定位処理の少なくとも何れかを実施する、
請求項5に記載の音響制御装置。
【請求項7】
前記音響処理部は、さらに、前記対抗音データに対して前記聴取者に向けた指向性を付与する処理を実施する、
請求項5に記載の音響制御装置。
【請求項8】
聴取者が聴き取っている対象音の聴き取りを妨害するためのノイズとして振る舞う妨害音の情報を含む妨害音データ及び前記対象音に対するカウンターとして聴取者に聴き取らせる内容を含む対抗音データを取得する音取得部と、
取得された前記妨害音データ及び前記対抗音データに対し、前記対象音の聴き取りを妨害するための音響処理を実施する音響処理部と、
前記音響処理がされた前記妨害音データ及び前記対抗音データを出力装置から再生する再生制御部と、
を具備する音響制御装置。
発明の詳細な説明
【技術分野】
【0001】
本発明の実施形態は、音響制御装置に関する。
続きを表示(約 2,300 文字)
【背景技術】
【0002】
特定の音を聴きとりにくくする技術として、特定の音を再生している音源の周囲の空間においてその特定の音とは別のマスキング音を再生する技術が知られている。このようなマスキング音の再生により、対象となる特定の音を第三者が聴き取ることが困難になる。
【先行技術文献】
【特許文献】
【0003】
特許第5732937号公報
【発明の概要】
【発明が解決しようとする課題】
【0004】
マスキング音の再生は、主に第三者による音の聴き取り防止に用いられる。一方で、昨今、携帯電話機からの音によって、不正行為を指示したり、詐欺行為の一環として犯人口座への金銭振り込みやプリペイドカードの購入といった誤った行動を指示したりといったことが頻発している。このような不正な行為等に繋がる音は、携帯電話機からリアルタイムに音を聴いている聴取者にとっても聴こえにくくなることが望ましい。このように、何らかの出力装置を通してリアルタイムに聴こえてくる音の聴こえやすさが適切に制御されれば、より安心して有効に音を活用することが可能になると考えられる。
【0005】
実施形態は、出力装置を通してリアルタイムに聴こえてくる対象音を聴こえにくくできる音響制御装置を提供する。
【課題を解決するための手段】
【0006】
一態様の音響制御装置は、音取得部と、音響処理部と、再生制御部とを備える。音取得部は、聴取者が聴き取っている対象音の聴き取りを妨害するためのノイズとして振る舞う妨害音の情報を含む妨害音及び/又は対抗音データを取得する。音響処理部は、取得された妨害音データ及び/又は対抗音データに対し、対象音の聴き取りを妨害するための音響処理を実施する。再生制御部は、音響処理がされた妨害音データ及び/又は対抗音データを出力装置から再生する。
【図面の簡単な説明】
【0007】
図1は、各実施形態に係る音響制御装置の構成を示す機能ブロック図である。
図2は、第1の実施形態の音響制御装置の一例のハードウェア構成を示す図である。
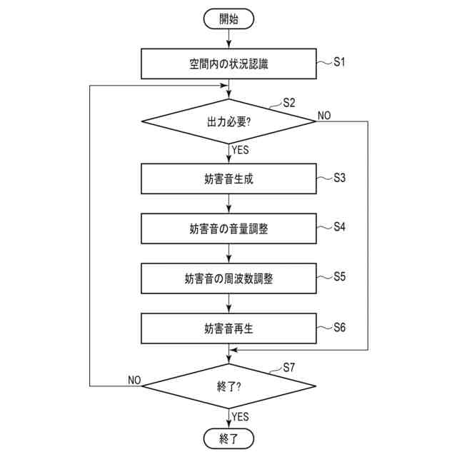
図3は、第1の実施形態の音響制御装置の動作を示すフローチャートである。
図4は、第2の実施形態の音響制御装置の一例のハードウェア構成を示す図である。
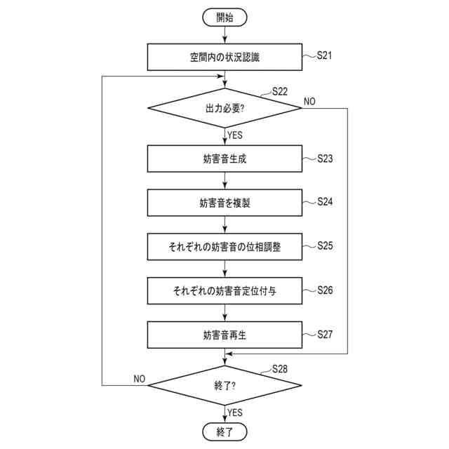
図5は、第2の実施形態の音響制御装置の動作を示すフローチャートである。
図6は、第2の実施形態における聴取者の状態を示す図である。
図7は、第3の実施形態の音響制御装置の動作を示すフローチャートである。
図8は、第3の実施形態における聴取者の状態を示す図である。
図9は、第4の実施形態の音響制御装置の動作を示すフローチャートである。
図10は、第4の実施形態における聴取者の状態を示す図である。
図11は、第5の実施形態の音響制御装置の動作を示すフローチャートである。
図12は、第5の実施形態における聴取者の状態を示す図である。
図13は、第5の実施形態の変形例を示す図である。
【発明を実施するための形態】
【0008】
以下、図面を参照して実施形態を説明する。
(第1の実施形態)
まず、第1の実施形態について説明される。図1は、各実施形態に係る音響制御装置の構成を示す機能ブロック図である。図1に示すように、音響制御装置1は、音取得部10と、音響処理部20と、再生制御部30とを有している。音響制御装置1は、携帯電話機、スマートフォン、タブレット端末といった各種の端末装置の他、聴取者に対する各種の音案内をする音案内システム等の、音を発する各種の機器に搭載され、或いはその周辺に併設され得る。
【0009】
音取得部10は、処理対象となる音データを取得する。音データは、妨害音データを含む。妨害の対象となる対象音データは、聴取者がリアルタイムで聴き取ろうとしている音の情報を含むデータである。ここでの音は、人の音声である場合が多いが、必ずしも人の音声に限定されるものではない。妨害音データは、対象音の聴き取りを妨害するためのノイズとして振る舞う妨害音の情報を含むデータである。妨害音は、例えば小川のせせらぎ音といったマスキング音、人の喧騒音及び数字の読み上げ音といった無意味な音を含む音であり得る。ここで、妨害音データの種類及び周波数帯域は、妨害したい対象音と共通する帯域をもち、かつ、人にとって極度に不快ではないものであることが望ましい。周波数帯域については、後で説明する周波数帯域調整処理によって調整されてもよい。妨害音データは、例えば音響制御装置1の図示しない記憶装置に予め記憶されていてもよいし、リアルタイムで生成されてもよい。
【0010】
音響処理部20は、音取得部10で取得された音データに対して音響処理を実施する。音響処理は、例えば音量調整処理及び周波数帯域調整処理といった処理を含む。音量調整処理は、入力された音データにおける音量を増加又は減少させる処理である。周波数帯域調整処理は、入力された音データにおける特定の周波数帯域を強調する又は弱める処理である。特に、音響処理部20は、妨害音データに対して音量調整処理及び周波帯域調整を単独で又は組み合わせて実施することにより、聴取者の意識を妨害音に向けさせることを行う。なお、聴取者の意識を妨害音に向けさせるための処理は、音量調整処理及び周波数帯域調整処理に限るものではない。
(【0011】以降は省略されています)
この特許をJ-PlatPat(特許庁公式サイト)で参照する
関連特許
株式会社東芝
モータ
1か月前
株式会社東芝
センサ
1か月前
株式会社東芝
センサ
1か月前
株式会社東芝
端子台
20日前
株式会社東芝
金型構造
1か月前
株式会社東芝
電子回路
29日前
株式会社東芝
電子装置
1か月前
株式会社東芝
吸音装置
1か月前
株式会社東芝
除去装置
13日前
株式会社東芝
電子装置
1か月前
株式会社東芝
半導体装置
2か月前
株式会社東芝
半導体装置
1か月前
株式会社東芝
半導体装置
1か月前
株式会社東芝
半導体装置
1か月前
株式会社東芝
半導体装置
1か月前
株式会社東芝
半導体装置
1か月前
株式会社東芝
半導体装置
1か月前
株式会社東芝
半導体装置
1か月前
株式会社東芝
半導体装置
1か月前
株式会社東芝
真空バルブ
28日前
株式会社東芝
半導体装置
1か月前
株式会社東芝
半導体装置
2か月前
株式会社東芝
半導体装置
1か月前
株式会社東芝
半導体装置
29日前
株式会社東芝
半導体装置
29日前
株式会社東芝
高周波回路
29日前
株式会社東芝
粒子加速器
1か月前
株式会社東芝
真空バルブ
1か月前
株式会社東芝
半導体装置
1か月前
株式会社東芝
半導体装置
1か月前
株式会社東芝
半導体装置
1か月前
株式会社東芝
半導体装置
29日前
株式会社東芝
半導体装置
1か月前
株式会社東芝
半導体装置
1か月前
株式会社東芝
半導体装置
29日前
株式会社東芝
半導体装置
29日前
続きを見る
他の特許を見る