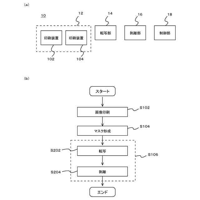
TOP
|
特許
|
意匠
|
商標
特許ウォッチ
Twitter
他の特許を見る
公開番号
2025163450
公報種別
公開特許公報(A)
公開日
2025-10-29
出願番号
2024066713
出願日
2024-04-17
発明の名称
画像転写方法、非転写領域形成装置、印刷システム、及び転写媒体管理方法
出願人
株式会社ミマキエンジニアリング
代理人
個人
,
個人
主分類
B44C
1/17 20060101AFI20251022BHJP(装飾技術)
要約
【課題】転写媒体から被転写媒体への画像の転写をより適切に行う。
【解決手段】転写媒体50へ印刷した画像を被転写媒体60へ転写する画像転写方法であって、転写を実行する転写時に転写媒体50に対して圧力が加わる部分に対応する領域である転写対象領域に対し、被転写媒体60に転写されない領域である非転写領域206を形成する非転写領域形成段階と、転写媒体50に印刷されている画像の少なくとも一部を被転写媒体60へ転写する段階であり、転写媒体50を被転写媒体60に重ね合わせて圧力を加える転写段階とを備え、転写媒体50は、転写媒体50の基材となる層であるベース層と、ベース層の少なくとも一部に形成され、転写時に少なくとも一部が被転写媒体60へ移る層状の部分である転写層とを有する。
【選択図】図2
特許請求の範囲
【請求項1】
転写媒体へ印刷した画像を被転写媒体へ転写する画像転写方法であって、
非転写領域形成段階と、
前記転写媒体に印刷されている前記画像の少なくとも一部を前記被転写媒体へ転写する段階であり、前記転写媒体を前記被転写媒体に重ね合わせて圧力を加える転写段階と
を備え、
前記転写媒体は、
前記転写媒体の基材となる層であるベース層と、
前記ベース層の少なくとも一部に形成され、前記転写を実行する転写時に少なくとも一部が前記被転写媒体へ移る層状の部分である転写層と
を有し、
前記非転写領域形成段階において、前記転写時に前記転写媒体に対して圧力が加わる部分に対応する領域である転写対象領域に対し、前記被転写媒体に転写されない領域である非転写領域を形成することを特徴とする画像転写方法。
続きを表示(約 1,800 文字)
【請求項2】
前記非転写領域形成段階において、前記転写対象領域の一部を覆うマスクを形成することで、前記非転写領域を前記転写媒体に形成することを特徴とする請求項1に記載の画像転写方法。
【請求項3】
前記非転写領域形成段階において、インクジェットヘッドから紫外線硬化型インクを前記転写媒体へ吐出し、かつ、グロス調の印刷条件で前記紫外線硬化型インクを硬化させることで、前記転写媒体上に前記マスクを形成することを特徴とする請求項2に記載の画像転写方法。
【請求項4】
前記転写媒体へ前記画像を印刷する印刷段階を更に備え、
前記印刷段階において、前記被転写媒体へ転写すべき前記画像である転写画像以外の事項である非転写事項を更に前記転写媒体へ印刷し、
前記非転写領域形成段階において、前記非転写事項が印刷されている範囲を含む前記非転写領域を前記転写媒体に形成することで、
前記転写段階において、前記非転写事項を前記転写媒体へ転写せずに、前記転写画像を前記転写媒体へ転写することを特徴とする請求項1に記載の画像転写方法。
【請求項5】
前記印刷段階において、前記転写画像の位置を示すマークである位置基準マークを前記非転写事項として前記転写媒体へ印刷することを特徴とする請求項4に記載の画像転写方法。
【請求項6】
前記印刷段階において、前記転写媒体の管理に用いる管理情報を示す前記非転写事項を前記転写媒体へ印刷することを特徴とする請求項4に記載の画像転写方法。
【請求項7】
非転写領域形成装置であって、
転写を実行する転写時に転写媒体に対して圧力が加わる部分に対応する領域である転写対象領域に対し、前記転写媒体に印刷されている画像の少なくとも一部を被転写媒体へ転写する転写時に前記被転写媒体に転写されない領域である非転写領域を形成し、
前記転写媒体は、
前記転写媒体の基材となる層であるベース層と、
前記ベース層の少なくとも一部に形成され、前記転写時に少なくとも一部が前記被転写媒体へ移る層状の部分である転写層と
を有することを特徴とする非転写領域形成装置。
【請求項8】
転写媒体へ印刷した画像を被転写媒体へ転写することで印刷を行う印刷システムであって、
前記転写媒体に対して画像を印刷する印刷装置と、
前記転写を実行する転写時に前記転写媒体に対して圧力が加わる部分に対応する領域である転写対象領域に対し、前記被転写媒体に転写されない領域である非転写領域を形成する非転写領域形成装置と、
前記転写媒体を前記被転写媒体に重ね合わせて圧力を加えることで、前記転写媒体に印刷されている前記画像の少なくとも一部を前記被転写媒体へ転写する転写部と
を備え、
前記転写媒体は、
前記転写媒体の基材となる層であるベース層と、
前記ベース層の少なくとも一部に形成され、前記転写時に少なくとも一部が前記被転写媒体へ移る層状の部分である転写層と
を有することを特徴とする印刷システム。
【請求項9】
被転写媒体へ転写すべき画像が印刷された転写媒体を管理する転写媒体管理方法であって、
前記転写媒体へ前記画像を印刷したタイミングである印刷タイミングを記録する印刷タイミング記録段階と、
前記画像が印刷されている前記転写媒体に対して前記印刷タイミングから経過した期間である経過期間を確認する経過期間確認段階と
を備え、
前記転写媒体は、
転写時に少なくとも一部が前記被転写媒体へ移る層状の部分である転写層と、
前記転写媒体の基材となる紙の層であるベース層と
を有し、
前記経過期間が予め設定された期間を超える前に前記転写媒体から前記被転写媒体への前記画像の転写が実行されるように、前記転写媒体を管理することを特徴とする転写媒体管理方法。
【請求項10】
前記経過期間確認段階において、コンピュータを用いて、前記経過期間を確認し、前記経過期間が予め設定された期間を超えている場合、ユーザへの警告を行うことを特徴とする請求項9に記載の転写媒体管理方法。
(【請求項11】以降は省略されています)
発明の詳細な説明
【技術分野】
【0001】
本発明は、画像転写方法、非転写領域形成装置、印刷システム、及び転写媒体管理方法に関する。
続きを表示(約 4,000 文字)
【背景技術】
【0002】
従来、転写方式で印刷を行う方法として、アイロン転写(アイロン印刷、ラバー転写)方式の方法が広く用いられている(例えば、特許文献1参照)。アイロン転写方式で転写を行う場合、例えば、接着層となるラバーシートを有する転写媒体に画像を印刷し、ラバーシートを被転写媒体に付着させることで、転写媒体から被転写媒体へ画像を転写する。
【先行技術文献】
【特許文献】
【0003】
実登3048934号公報
【発明の概要】
【発明が解決しようとする課題】
【0004】
アイロン転写によって画像を転写する場合、ラバーシートが被転写媒体に付着することで、被転写媒体の風合い等に影響が生じる場合がある。例えば、布の被転写媒体を用いる場合、被転写媒体の生地特性(例えば、布帛の光沢等)の消失を招く場合もある。また、この場合、ラバーシートが被転写媒体に付着することで、例えば、被転写媒体の通気性が低下すること等も考えられる。
【0005】
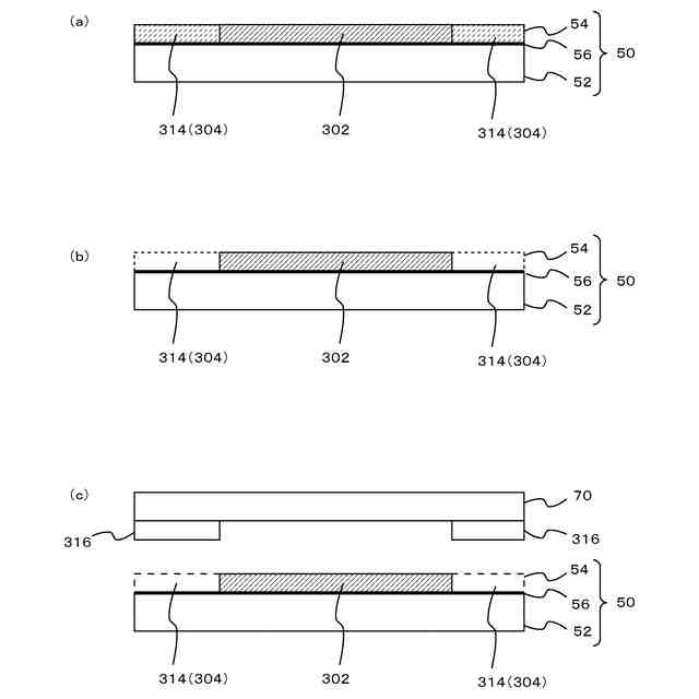
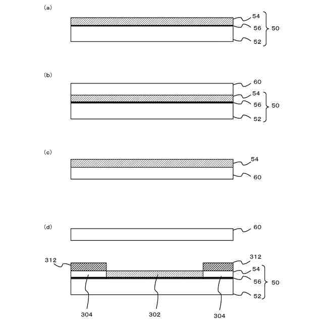
これに対し、例えば、転写媒体における余白部分を予めカットして取り除くことで、被転写媒体へ転写される転写領域の範囲を制御すること等も考えられる。このように構成すれば、例えば、ラバーシートの余分な部分が被転写媒体へ付着することを防止しつつ、画像が描かれている転写の必要部分(必要領域)を適切に転写できる。また、この場合、例えば画像が単純な図柄等のみを含むのであれば、比較的簡単に転写媒体の余白部分をカットできる。しかし、細かい図柄や複雑な図柄を画像が含む場合、転写媒体のカットに要する手間が大きく増大することや、転写媒体を適切にカットすることが難しくなる場合がある。更に、転写媒体をカットする場合、例えば、その後の工程において、転写媒体の取り扱いがしにくくなること等も考えられる。また、このような問題については、例えば、アイロン転写以外の方法で転写を行う場合にも同様に生じる場合がある。そのため、従来、より適切な方法で画像の転写を行うことが望まれていた。そこで、本発明は、上記の課題を解決できる画像転写方法、非転写領域形成装置、印刷システム、及び転写媒体管理方法を提供することを目的とする。
【課題を解決するための手段】
【0006】
本願の発明者は、転写方式での印刷に関し、より適切に転写を行う方法について、鋭意研究を行った。そして、媒体等における転写対象領域に対し、被転写媒体に転写されない非転写領域を形成することで、転写対象領域における必要な部分のみを被転写媒体へ転写することを考えた。このように構成すれば、例えば、転写媒体のカット等を行わなくても、転写対象領域における必要領域を被転写媒体へ適切に転写できる。
【0007】
また、本願の発明者は、更なる鋭意研究により、このような効果を得るために必要な特徴を見出し、本発明に至った。上記の課題を解決するために、本発明は、転写媒体へ印刷した画像を被転写媒体へ転写する画像転写方法であって、非転写領域形成段階と、前記転写媒体に印刷されている前記画像の少なくとも一部を前記被転写媒体へ転写する段階であり、前記転写媒体を前記被転写媒体に重ね合わせて圧力を加える転写段階とを備え、前記転写媒体は、前記転写媒体の基材となる層であるベース層と、前記ベース層の少なくとも一部に形成され、前記転写を実行する転写時に少なくとも一部が前記被転写媒体へ移る層状の部分である転写層とを有し、前記非転写領域形成段階において、前記転写時に前記転写媒体に対して圧力が加わる部分に対応する領域である転写対象領域に対し、前記被転写媒体に転写されない領域である非転写領域を形成することを特徴とする。
【0008】
このように構成した場合、例えば、転写対象領域に対し、被転写媒体に転写されない非転写領域を適切に設定できる。また、これにより、例えば、転写媒体において画像が描かれていない余白部分等の影響が被転写媒体に生じることを適切に防止できる。そのため、このように構成すれば、例えば、転写媒体から被転写媒体への画像の転写をより適切に行うことができる。また、この場合、非転写領域を形成することで、例えば、転写媒体から被転写媒体への画像の転写のされ方について、より多様な制御を行うことができる。また、これにより、例えば、より多様な意匠を表現すること等も可能になる。この構成において、非転写領域形成段階では、例えば、転写対象領域の一部を覆うマスクを形成することで、非転写領域を転写媒体に形成する。このように構成すれば、例えば、転写対象領域に非転写領域を適切に形成できる。非転写領域形成段階では、例えば、インクジェットプリンタ等の印刷装置を用いて、マスクを形成することが考えられる。この場合、例えば、転写する画像を示す画像データ及び転写媒体に関する情報等に基づいてマスク用のデータを生成し、このデータに基づく印刷を印刷装置に行わせることで、転写媒体にマスクを形成する。転写媒体に関する情報としては、例えば、転写媒体のサイズ等に関する情報を用いることが考えられる。
【0009】
また、この構成において、画像転写方法は、例えば、転写媒体へ画像を印刷する印刷段階を更に備える。印刷段階では、例えば、インクジェットプリンタ等の印刷装置を用いて、転写媒体へ画像を印刷する。この場合、転写媒体にマスクを形成するために用いる印刷装置であるマスク形成用印刷装置として、例えば、転写媒体へ画像を印刷する印刷装置である画像用印刷装置と別の装置を用いることが考えられる。このように構成すれば、例えば、マスク形成用印刷装置及び画像用印刷装置において、装置の目的に合わせたインク等をより適切に用いることができる。また、印刷装置の構成等によっては、マスク形成用印刷装置及び画像用印刷装置として、共通の印刷装置を用いることも考えられる。また、マスクの形成に用いるインクとしては、例えば、紫外線硬化型インクを好適に用いることができる。この場合、非転写領域形成段階において、例えば、インクジェットヘッドから紫外線硬化型インクを転写媒体へ吐出することで、転写媒体上にマスクを形成する。また、この場合、紫外線硬化型インクについて、例えば、グロス調の印刷条件で硬化させることが好ましい。グロス調の印刷条件については、例えば、転写媒体にインクが着弾した後、転写媒体上でインクのドットを平坦化させてインクを硬化させる条件等と考えることができる。また、グロス調の印刷条件について、例えば、印刷装置において予め設定されているグロス調の印刷条件等と考えることもできる。このように構成した場合、例えば、マット調の印刷条件で紫外線硬化型インクを硬化させる場合等と比べて、マスクの表面を平坦かつ均一な状態にできる。また、これにより、例えば、硬化後のインクの層をより適切にマスクとして使用できる。マスクの形成に用いるインクとしては、紫外線硬化型インク以外のインクを用いてもよい。この場合、例えば、熱硬化型のインク等用いることが考えられる。
【0010】
また、この構成において、印刷段階では、例えば、被転写媒体へ転写すべき画像である転写画像以外の事項である非転写事項を更に転写媒体へ印刷すること等も考えられる。この場合、非転写領域形成段階において、例えば、非転写事項を覆うマスクを形成することで、非転写事項が印刷されている範囲を含む非転写領域を転写媒体に形成する。また、このような非転写領域を転写媒体に形成することで、転写段階において、例えば、非転写事項を被転写媒体へ転写せずに、転写画像を被転写媒体へ転写する。このように構成すれば、例えば、転写画像以外の非転写事項を転写媒体に印刷しつつ、転写画像のみを選択的に被転写媒体へ転写できる。また、より具体的に、この場合、印刷段階において、例えば、転写画像の位置を示すマークである位置基準マークを非転写事項として、転写媒体へ印刷することが考えられる。位置基準マークとしては、例えば、公知のトンボ等を好適に用いることができる。このように構成すれば、例えば、転写媒体における転写画像の位置の基準として位置基準マークを用いつつ、位置基準マークが被転写媒体へ転写されることを適切に防止できる。位置基準マークについては、例えば、マスク形成用印刷装置でのマスクの形成時や、転写時の位置合わせに用いることが考えられる。マスク形成用印刷装置でのマスクの形成時については、例えば、非転写領域形成段階での非転写領域の形成時の一例等と考えることができる。また、非転写事項としては、位置基準マーク以外の事項を用いてもよい。この場合、例えば、転写媒体の管理に用いる管理情報を示す非転写事項を用いることが考えられる。転写媒体の管理に用いる管理情報としては、例えば、印刷を行った日時を示す情報や転写媒体の識別情報(管理情報)等を用いることが考えられる。また、非転写事項として、例えば、その後に行う工程の条件等を転写媒体に印刷してもよい。この場合、例えば、転写媒体から被転写媒体へ画像を転写する転写工程の条件等を非転写事項として転写媒体へ印刷しておくこと等が考えられる。また、本発明の構成として、例えば、上記と同様の特徴を有する非転写領域形成装置や印刷システムの構成等を考えることもできる。この場合、例えば、マスクの形成に用いるマスク形成用印刷装置について、非転写領域形成装置の一例と考えることができる。これらの場合も、例えば、上記と同様の効果を得ることができる。
(【0011】以降は省略されています)
この特許をJ-PlatPat(特許庁公式サイト)で参照する
関連特許
個人
粉末の清掃方法
5か月前
KLASS株式会社
壁紙糊付機
8か月前
株式会社電気印刷研究所
画像形成方法
10か月前
株式会社電気印刷研究所
箔転写物の製造方法
12か月前
株式会社タイカ
加飾物品
4か月前
個人
装飾装置
5か月前
マツダ紙工業株式会社
キャンバス
4か月前
ブラザー工業株式会社
画像形成方法
9か月前
ブラザー工業株式会社
画像形成方法
9か月前
株式会社継ぐ
装飾体及びその作製方法
10か月前
株式会社ファイン工業
透水性庭園の製造方法
13日前
大日本印刷株式会社
転写シートおよび加飾物品
7か月前
個人
立体組子構造
7か月前
日本クロージャー株式会社
接続具
3か月前
株式会社ミマキエンジニアリング
転写方法及び転写装置
2か月前
フジコピアン株式会社
紫外線レーザーによるマーク形成部材用転写シート
10か月前
京都ケミカル株式会社
装飾性小物を観賞する方法
21日前
株式会社ミマキエンジニアリング
転写方法及び被転写体
2か月前
株式会社ニッカテクノ
転写箔
5か月前
大日本印刷株式会社
転写シート、加飾成形体の製造方法および加飾成形体
8か月前
大日本印刷株式会社
転写シート、転写用基材付き樹脂成形品、及び樹脂成形品
5か月前
大日本印刷株式会社
加飾シート
27日前
株式会社タイカ
水圧転写方法、水圧転写フィルム用塗布剤及び水圧転写品
4か月前
TOPPANホールディングス株式会社
転写媒体および転写物の製造方法
3か月前
株式会社ミマキエンジニアリング
画像転写方法、非転写領域形成装置、印刷システム、及び転写媒体管理方法
1か月前
大日本印刷株式会社
転写シート、加飾成形品、及び加飾成形品の製造方法
8か月前
ローランドディー.ジー.株式会社
画像転写シートおよび画像転写方法
3か月前
クルツ スタンピング テクノロジー(ホーフェイ) カンパニー リミテッド
インサートシート、転写フィルムおよびインサートシートの製造方法
9か月前
学校法人 関西大学
錯視立体物、錯視立体物の展示装置、錯視立体物の展示方法、情報処理装置、および錯視立体物の製造方法
3か月前
レオンハード クルツ シュティフトゥング ウント コー. カーゲー
装飾箔、装飾箔の製造方法およびターゲット基板の装飾方法
1か月前
ソニーグループ株式会社
画像処理装置および方法
8か月前
パナソニックIPマネジメント株式会社
受信装置及び受信方法
7か月前
日本放送協会
符号化器、復号器、送信装置及び受信装置
1か月前
日本放送協会
送信装置およびプログラム
3か月前
クリスパー セラピューティクス アクチェンゲゼルシャフト
ユニバーサルドナー細胞
24日前
株式会社東芝
受信装置、受信方法、およびプログラム
10か月前
続きを見る
他の特許を見る