TOP
|
特許
|
意匠
|
商標
特許ウォッチ
Twitter
他の特許を見る
公開番号
2025137044
公報種別
公開特許公報(A)
公開日
2025-09-19
出願番号
2024036022
出願日
2024-03-08
発明の名称
転写方法及び転写装置
出願人
株式会社ミマキエンジニアリング
代理人
個人
,
個人
主分類
B44C
1/17 20060101AFI20250911BHJP(装飾技術)
要約
【課題】様々な布の被転写媒体に対し、適切に画像を転写する。
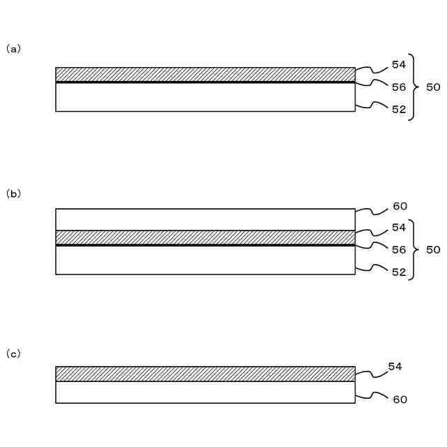
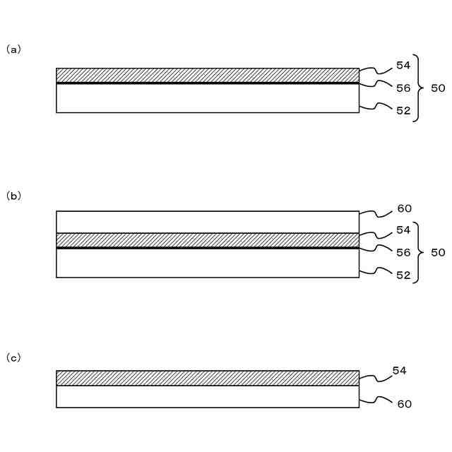
【解決手段】転写媒体50へ印刷した画像を布の被転写媒体60へ転写する転写方法であって、画像を転写する転写工程の条件である転写条件を決定する転写条件決定段階と、転写条件決定段階で決定する転写条件で転写工程を実行する転写実行段階とを備え、転写媒体50は、被転写媒体60への画像の転写時に少なくとも一部が被転写媒体60へ移る樹脂の層である転写層54と、転写媒体50の基材となる層であるベース層52とを有し、転写条件決定段階において、転写の品質を指定する転写品質条件と、被転写媒体60として用いる布の種類とに基づき、転写条件を決定し、かつ、転写品質条件として、予め設定された複数の条件から選ばれる条件を用いる。
【選択図】図2
特許請求の範囲
【請求項1】
転写媒体へ印刷した画像を布の被転写媒体へ転写する転写方法であって、
前記画像を転写する転写工程の条件である転写条件を決定する転写条件決定段階と、
前記転写条件決定段階で決定する前記転写条件で前記転写工程を実行する転写実行段階と
を備え、
前記転写媒体は、
前記被転写媒体への前記画像の転写時に少なくとも一部が前記被転写媒体へ移る樹脂の層である転写層と、
前記転写媒体の基材となる層であるベース層と
を有し、
前記転写条件決定段階において、転写の品質を指定する転写品質条件と、前記被転写媒体として用いる前記布の種類とに基づき、前記転写条件を決定し、かつ、前記転写品質条件として、予め設定された複数の条件から選ばれる条件を用いることを特徴とする転写方法。
続きを表示(約 2,700 文字)
【請求項2】
前記転写条件決定段階において、
前記複数の条件として、少なくとも、所定の基準の条件である基準品質条件と、前記基準品質条件よりも発色性を高める条件である高発色条件とを用い、
少なくとも一部の種類の前記布の前記被転写媒体に対し、前記基準品質条件で転写を行う場合の前記転写条件である基準転写条件と、前記高発色条件で転写を行う場合の前記転写条件である高発色転写条件との関係について、転写時に前記転写媒体を加熱する温度である加熱温度と、転写時に前記転写媒体へ圧力を加える時間である加圧時間とに関し、
前記基準転写条件と比べた場合の前記高発色転写条件が、
前記加熱温度がより高温で、かつ、前記加圧時間がより短時間な条件である高温短時間条件、又は、前記加熱温度がより低温で、かつ、前記加圧時間がより長時間な条件である低温長時間条件のいずれかになるように、前記転写条件を決定することを特徴とする請求項1に記載の転写方法。
【請求項3】
前記被転写媒体が第1の種類の布である場合、前記転写条件決定段階において、前記高発色転写条件として、前記高温短時間条件になる前記転写条件を決定し、
前記被転写媒体が前記第1の種類の布と異なる第2の種類の布である場合、前記転写条件決定段階において、前記高発色転写条件として、前記低温長時間条件になる前記転写条件を決定することを特徴とする請求項2に記載の転写方法。
【請求項4】
前記被転写媒体が綿帆布である場合、前記転写条件決定段階において、前記高発色転写条件として、前記高温短時間条件になる前記転写条件を決定し、
前記被転写媒体がポリエステル、レーヨン、又はナイロンを主成分とする化学繊維の布である場合、前記転写条件決定段階において、前記高発色転写条件として、前記低温長時間条件になる前記転写条件を決定することを特徴とする請求項2に記載の転写方法。
【請求項5】
前記転写条件は、前記加熱温度及び前記加圧時間を少なくとも指定する条件であり、
前記被転写媒体が前記綿帆布である場合に前記転写条件決定段階で決定される前記基準転写条件において、前記加熱温度は、150~210℃の範囲にある第1の温度であり、前記加圧時間は、20~60秒の範囲にある第1の加圧時間であり、
前記被転写媒体が前記綿帆布である場合に前記転写条件決定段階で決定される前記高発色転写条件において、前記加熱温度は、前記第1の温度よりも高い温度であり、前記加圧時間は、前記第1の加圧時間よりも短い時間であり、
前記被転写媒体が前記化学繊維の布である場合に前記転写条件決定段階で決定される前記基準転写条件において、前記加熱温度は、140~200℃の範囲にある第2の温度であり、前記加圧時間は、30~50秒の範囲にある第2の加圧時間であり、
前記被転写媒体が前記化学繊維の布である場合に前記転写条件決定段階で決定される前記高発色転写条件において、前記加熱温度は、前記第2の温度よりも低い温度であり、前記加圧時間は、前記第2の加圧時間よりも長い時間であることを特徴とする請求項4に記載の転写方法。
【請求項6】
前記転写条件決定段階において、
前記布の種類に関し、少なくとも、前記布の素材及び組織を考慮し、
前記被転写媒体として用いる前記布の素材が綿である場合において、少なくとも、前記被転写媒体が前記綿のブロード生地である場合の前記基準品質条件と、綿帆布である場合の前記基準品質条件とを異ならせ、
かつ、前記被転写媒体が前記綿帆布である場合の前記基準品質条件について、前記被転写媒体が前記綿のブロード生地である場合の前記基準品質条件と比べて、前記加熱温度がより高温な前記転写条件とすることを特徴とする請求項2に記載の転写方法。
【請求項7】
前記転写媒体として、Neenah Coldenhove社から提供される顔料転写紙であるTexcolを用いることを特徴とする請求項1に記載の転写方法。
【請求項8】
転写媒体へ印刷した画像を布の被転写媒体へ転写する転写装置であって、
前記画像を転写する転写工程を実行し、
前記転写工程の条件である転写条件として、転写の品質を指定する転写品質条件と、前記被転写媒体として用いる前記布の種類とに基づいて決定される条件を用い、
前記転写品質条件は、予め設定された複数の条件から選ばれる条件であり、
前記転写媒体は、
前記被転写媒体への前記画像の転写時に少なくとも一部が前記被転写媒体へ移る樹脂の層である転写層と、
前記転写媒体の基材となる層であるベース層と
を有することを特徴とする転写装置。
【請求項9】
転写媒体へ印刷した画像を布の被転写媒体へ転写する転写方法であって、
前記転写媒体から前記被転写媒体へ前記画像を転写する転写実行段階を備え、
前記転写実行段階において、前記転写媒体として、Neenah Coldenhove社から提供される顔料転写紙であるTexcolを用い、かつ、前記被転写媒体として用いる前記布の種類に応じて、前記転写実行段階において前記画像を転写する条件である転写条件を異ならせ、
前記転写条件は、転写時に前記転写媒体を加熱する温度である加熱温度と、転写時に前記転写媒体へ圧力を加える時間である加圧時間とを少なくとも指定する条件であり、
前記被転写媒体が綿の布である場合、前記転写条件において、前記加熱温度は、140~210℃の範囲にある温度であり、前記加圧時間は、20~60秒の範囲にある時間であり、
前記被転写媒体がポリエステル、レーヨン、又はナイロンを主成分とする化学繊維の布である場合、前記転写条件において、前記加熱温度は、140~200℃の範囲にある温度であり、前記加圧時間は、30~50秒の範囲にある時間であることを特徴とする転写方法。
【請求項10】
前記被転写媒体が前記化学繊維の布である場合の前記転写条件における前記加熱温度は、前記被転写媒体が前記綿の布である場合の前記転写条件における前記加熱温度よりも低い温度であることを特徴とする請求項9に記載の転写方法。
(【請求項11】以降は省略されています)
発明の詳細な説明
【技術分野】
【0001】
本発明は、転写方法及び転写装置に関する。
続きを表示(約 3,500 文字)
【背景技術】
【0002】
従来、転写方式で印刷を行う方法として、昇華転写方式の方法が広く用いられている(例えば、特許文献1参照)。昇華転写方式では、通常、ポリエステル生地やポリエステルコーティング加工がされた表面にのみ転写可能な昇華転写用のインクを用いて転写媒体(転写体)への印刷を行い、転写媒体から被転写媒体(被転写体)への画像の転写を行う。
【先行技術文献】
【特許文献】
【0003】
再表2011/132695号公報
【発明の概要】
【発明が解決しようとする課題】
【0004】
昇華転写方式で印刷を行う場合、通常、使用可能な被転写媒体の素材が限られることになる。これに対し、例えば、アイロン転写(ラバー転写)方式やDTF(Direct to Film)方式で転写を行えば、ポリエステル以外の素材の布等を被転写媒体として用いることも可能である。しかし、アイロン転写方式で転写を行う場合、例えば、接着層となるラバーシートが被転写媒体に付着することで、転写後の被転写媒体の風合いが低下する場合がある。また、その結果、例えば、被転写媒体として用いる生地特性(例えば、布帛の光沢等)の消失を招く場合もある。また、この場合、ラバーシートが被転写媒体に付着することで、例えば、被転写媒体の通気性が低下すること等も考えられる。更に、アイロン転写方式での転写を行う場合、例えば、転写すべき画像に合わせてラバーシートをカットする作業が必要になることで、作業工数が増大すること等も考えられる。また、DTF方式で転写を行う場合にも、例えば、転写のために用いるホットメルト樹脂等の接着剤が被転写媒体に付着することで、転写後の被転写媒体の風合いの低下等の問題が生じやすい。そこで、本発明は、上記の課題を解決できる転写方法及び転写装置を提供することを目的とする。
【課題を解決するための手段】
【0005】
本願の発明者は、転写方式での印刷に関し、様々な素材の被転写媒体をより適切に使用できる方法について、鋭意研究を行った。そして、例えば公知の所定の転写媒体に対して水性顔料等の顔料を含むインクを用いて印刷を行い、布の被転写媒体への転写を行うことで、被転写媒体の風合いの低下等を抑えつつ、被転写媒体として様々な素材の布を使用可能であることを確認した。しかし、布の転写媒体として使用可能な生地の種類は、非常に多様である。また、様々な布の被転写媒体を用いる場合、例えば、転写を行う工程の条件である転写条件に関し、布の種類によって好ましい条件が異なることが考えられる。更に、好ましい転写条件については、例えば、転写の成果物に対して求められる品質等によって変化すること等も考えられる。
【0006】
これに対し、本願の発明者は、実際に様々な実験等を行うことで、布の種類や求められる品質等に応じた好ましい転写条件を確認した。また、本願の発明者は、実験結果に基づく鋭意研究により、布の種類や求められる品質等に基づいて転写条件を決定することで、様々な布の被転写媒体に対して適切に画像を転写できることを見出した。また、本願の発明者は、更なる鋭意研究により、このような効果を得るために必要な特徴を見出し、本発明に至った。
【0007】
上記の課題を解決するために、本発明は、転写媒体へ印刷した画像を布の被転写媒体へ転写する転写方法であって、前記画像を転写する転写工程の条件である転写条件を決定する転写条件決定段階と、前記転写条件決定段階で決定する前記転写条件で前記転写工程を実行する転写実行段階とを備え、前記転写媒体は、前記被転写媒体への前記画像の転写時に少なくとも一部が前記被転写媒体へ移る樹脂の層である転写層と、前記転写媒体の基材となる層であるベース層とを有し、前記転写条件決定段階において、転写の品質を指定する転写品質条件と、前記被転写媒体として用いる前記布の種類とに基づき、前記転写条件を決定し、かつ、前記転写品質条件として、予め設定された複数の条件から選ばれる条件を用いる。
【0008】
このように構成した場合、例えば、画像の転写時に少なくとも一部が被転写媒体へ移る転写層を備える転写媒体を用いることで、様々な布の被転写媒体に対し、適切に画像を転写できる。また、この場合において、例えばアイロン転写においてラバーシートが被転写媒体に付着する場合等と比べて、転写後の被転写媒体の風合いの低下を適切に抑えることができる。更に、転写条件決定段階において、転写品質条件及び布の種類に基づいて転写条件を決定することで、例えば、様々な種類の布の被転写媒体に対し、所望の品質での転写ができる転写条件を適切に決定できる。また、これにより、例えば、転写実行段階において、転写媒体から被転写媒体への画像の転写をより適切に行うことができる。この転写方法において、転写媒体としては、例えば、転写層及びベース層を備える公知の転写媒体を好適に用いることができる。より具体的に、転写媒体としては、例えば、Neenah Coldenhove社から提供される顔料転写紙であるTexcol等を好適に用いることができる。このように構成すれば、例えば、様々な布の被転写媒体に対し、画像の転写を適切に行うことができる。
【0009】
また、転写条件決定段階では、複数の条件として、例えば、少なくとも、基準品質条件及び高発色条件を用いる。この場合、基準品質条件については、例えば、所定の基準の条件等と考えることができる。高発色条件については、例えば、基準品質条件よりも発色性を高める条件等と考えることができる。また、この場合、基準品質条件及び高発色条件に対応する転写条件について、例えば、基準転写条件及び高発色転写条件等と考えることができる。基準転写条件については、例えば、基準品質条件で転写を行う場合の転写条件等と考えることができる。高発色転写条件については、例えば、高発色条件で転写を行う場合の転写条件等と考えることができる。そして、この場合、転写条件決定段階において、例えば、少なくとも一部の種類の布の被転写媒体に対し、基準転写条件と、高発色転写条件との関係について、加熱温度及び加圧時間に関し、基準転写条件と比べた場合の高発色転写条件が高温短時間条件又は低温長時間条件のいずれかになるように、転写条件を決定する。この場合、転写条件について、例えば、加熱温度及び加圧時間を少なくとも指定する条件等と考えることができる。加熱温度については、例えば、転写時に転写媒体を加熱する温度等と考えることができる。加圧時間については、例えば、転写時に転写媒体へ圧力を加える時間等と考えることができる。また、高温短時間条件については、例えば、基準転写条件と比べた場合の高発色転写条件について、加熱温度がより高温で、かつ、加圧時間がより短時間な条件等と考えることができる。低温長時間条件については、例えば、基準転写条件と比べた場合の高発色転写条件について、加熱温度がより低温で、かつ、加圧時間がより長時間な条件等と考えることができる。このように構成すれば、例えば、発色性の高い転写を実現できる高発色転写条件を適切に決定できる。
【0010】
また、より具体的に、被転写媒体が第1の種類の布である場合、転写条件決定段階では、例えば、高発色転写条件として、高温短時間条件になる転写条件を決定する。そして、被転写媒体が第1の種類の布と異なる第2の種類の布である場合、転写条件決定段階において、例えば、高発色転写条件として、低温長時間条件になる転写条件を決定する。このように構成すれば、例えば、被転写媒体として使用する布の種類に合わせて、高発色転写条件を適切に決定できる。また、この場合、異なる種類の布の例として、例えば、綿帆布と、化学繊維の布とを考えることができる。この場合、例えば、被転写媒体が綿帆布であれば、転写条件決定段階において、高発色転写条件として、高温短時間条件になる転写条件を決定する。そして、例えば、被転写媒体がポリエステル、レーヨン、又はナイロンを主成分とする化学繊維の布であれば、転写条件決定段階において、高発色転写条件として、低温長時間条件になる転写条件を決定する。このように構成すれば、例えば、綿帆布、及び化学繊維の布に対し、高発色転写条件を適切に決定できる。
(【0011】以降は省略されています)
この特許をJ-PlatPat(特許庁公式サイト)で参照する
関連特許
個人
粉末の清掃方法
5か月前
KLASS株式会社
壁紙糊付機
8か月前
株式会社電気印刷研究所
画像形成方法
10か月前
株式会社電気印刷研究所
箔転写物の製造方法
12か月前
株式会社タイカ
加飾物品
4か月前
個人
装飾装置
5か月前
マツダ紙工業株式会社
キャンバス
4か月前
ブラザー工業株式会社
画像形成方法
9か月前
ブラザー工業株式会社
画像形成方法
9か月前
株式会社継ぐ
装飾体及びその作製方法
10か月前
株式会社ファイン工業
透水性庭園の製造方法
13日前
大日本印刷株式会社
転写シートおよび加飾物品
7か月前
個人
立体組子構造
7か月前
日本クロージャー株式会社
接続具
3か月前
株式会社ミマキエンジニアリング
転写方法及び転写装置
2か月前
フジコピアン株式会社
紫外線レーザーによるマーク形成部材用転写シート
10か月前
京都ケミカル株式会社
装飾性小物を観賞する方法
21日前
株式会社ミマキエンジニアリング
転写方法及び被転写体
2か月前
株式会社ニッカテクノ
転写箔
5か月前
大日本印刷株式会社
転写シート、加飾成形体の製造方法および加飾成形体
8か月前
大日本印刷株式会社
転写シート、転写用基材付き樹脂成形品、及び樹脂成形品
5か月前
大日本印刷株式会社
加飾シート
27日前
株式会社タイカ
水圧転写方法、水圧転写フィルム用塗布剤及び水圧転写品
4か月前
TOPPANホールディングス株式会社
転写媒体および転写物の製造方法
3か月前
株式会社ミマキエンジニアリング
画像転写方法、非転写領域形成装置、印刷システム、及び転写媒体管理方法
1か月前
大日本印刷株式会社
転写シート、加飾成形品、及び加飾成形品の製造方法
8か月前
ローランドディー.ジー.株式会社
画像転写シートおよび画像転写方法
3か月前
クルツ スタンピング テクノロジー(ホーフェイ) カンパニー リミテッド
インサートシート、転写フィルムおよびインサートシートの製造方法
9か月前
学校法人 関西大学
錯視立体物、錯視立体物の展示装置、錯視立体物の展示方法、情報処理装置、および錯視立体物の製造方法
3か月前
レオンハード クルツ シュティフトゥング ウント コー. カーゲー
装飾箔、装飾箔の製造方法およびターゲット基板の装飾方法
1か月前
ソニーグループ株式会社
画像処理装置および方法
8か月前
パナソニックIPマネジメント株式会社
受信装置及び受信方法
7か月前
日本放送協会
符号化器、復号器、送信装置及び受信装置
1か月前
日本放送協会
送信装置およびプログラム
3か月前
クリスパー セラピューティクス アクチェンゲゼルシャフト
ユニバーサルドナー細胞
24日前
株式会社東芝
受信装置、受信方法、およびプログラム
10か月前
続きを見る
他の特許を見る