TOP
|
特許
|
意匠
|
商標
特許ウォッチ
Twitter
他の特許を見る
10個以上の画像は省略されています。
公開番号
2025129336
公報種別
公開特許公報(A)
公開日
2025-09-04
出願番号
2025112979,2021077529
出願日
2025-07-03,2021-04-30
発明の名称
画像転写シートおよび画像転写方法
出願人
ローランドディー.ジー.株式会社
代理人
個人
,
個人
,
個人
,
個人
主分類
B44C
1/17 20060101AFI20250828BHJP(装飾技術)
要約
【課題】特殊な材料を使用する必要がなく、かつ、製作が容易な画像転写シート
【解決手段】画像転写シート10は、剥離紙20と、粘着層71を有する保護シート70と、光硬化性のプロセスカラーインクが完全硬化された層であって剥離紙20と保護シート70との間に設けられた画像層50と、光硬化性の透明インクが完全硬化された層であって保護シート70と画像層50との間に設けられ、保護シート70の粘着層71に貼着されたオーバーコート層60と、光硬化性のインクが半硬化された層であって被転写物に対して接着性を有するとともに剥離紙20と画像層50との間に設けられた接着層30と、を備える。接着層30は、画像層50と同形である。
【選択図】図1
特許請求の範囲
【請求項1】
剥離紙と、
粘着層を有する保護シートと、
光硬化性のプロセスカラーインクが完全硬化された層であって、前記剥離紙と前記保護シートとの間に設けられた画像層と、
光硬化性の透明インクが完全硬化された層であって、前記保護シートと前記画像層との間に設けられ、前記保護シートの前記粘着層に貼着されたオーバーコート層と、
光硬化性のインクが半硬化された層であって、被転写物に対して接着性を有するとともに前記剥離紙と前記画像層との間に設けられた接着層と、を備え、
前記接着層は、前記画像層と同形である、
画像転写シート。
続きを表示(約 650 文字)
【請求項2】
前記オーバーコート層は、前記画像層と同形である、
請求項1に記載の画像転写シート。
【請求項3】
インクジェットプリンタによって光硬化性のインクを吐出するとともに前記インクに光を照射して半硬化させ、被転写物に対して接着性を有する接着層を剥離紙上に形成するステップと、
インクジェットプリンタによって光硬化性のプロセスカラーインクを吐出するとともに前記プロセスカラーインクに光を照射して完全硬化させ、前記接着層よりも上に画像層を形成するステップと、
インクジェットプリンタによって光硬化性の透明インクを吐出するとともに前記透明インクに光を照射して完全硬化させ、前記画像層よりも上にオーバーコート層を形成するステップと、
粘着層を有する保護シートの前記粘着層を前記オーバーコート層に貼着するステップと、
前記剥離紙を前記接着層から剥離するステップと、
前記剥離紙が剥離された後の前記接着層を被転写物に接触させるステップと、
前記接着層が被転写物に接触した状態で、前記保護シートを前記接着層の方に向かって押圧するステップと、
前記保護シートを前記オーバーコート層から剥離するステップと、
を含み、
前記接着層は、前記画像層と同形である、
画像転写方法。
【請求項4】
前記オーバーコート層は、前記画像層と同形である、
請求項3に記載の画像転写方法。
発明の詳細な説明
【技術分野】
【0001】
本発明は、画像転写シートおよび画像転写方法に関する。
続きを表示(約 2,300 文字)
【背景技術】
【0002】
プリンタによって画像転写シートに画像を印刷し、画像転写シートの画像を被転写物に転写する方法が従来から知られている。また、そのための画像転写シートの構成も知られている。例えば特許文献1には、剥離可能な糊層を形成した剥離紙にUVプリンタによって画像層を形成し、画像層の上に転写フィルムを重ねた画像転写シートが開示されている。転写フィルムは、画像層に対しては剥離性を有し、糊層に対しては易接着性を有している。そのため、特許文献1によれば、剥離紙を剥離した画像転写シートの糊層を転写対象物に圧着した後に転写フィルムを剥離すると、転写対象物には画像が転写され、画像外の糊層は転写フィルムととともに剥離される。特許文献1によれば、これにより、画像のみを転写印刷可能な画像転写シートを容易に製造できる、とされている。
【先行技術文献】
【特許文献】
【0003】
特開2017-209931号公報
【発明の概要】
【発明が解決しようとする課題】
【0004】
特許文献1に開示された画像転写シートおよび画像転写方法には、剥離可能な糊層を形成した剥離紙、画像層に対して剥離性を有し糊層に対して易接着性を有する転写フィルムという特殊な印刷メディアが必要である。一方で、剥離紙にシールが貼られた印刷メディアに画像を印刷し、画像周りをカットする従来の典型的な方法は、印刷メディアのカッティングに時間を要するため、容易な画像転写シートの製作方法とは言いにくい。
【0005】
本発明はかかる点に鑑みてなされたものであり、その目的は、特殊な材料を使用する必要がなく、かつ、製作が容易な画像転写シートを提供することである。また、そのような画像転写シートを作製して被転写物に画像を転写する方法を提供することである。
【課題を解決するための手段】
【0006】
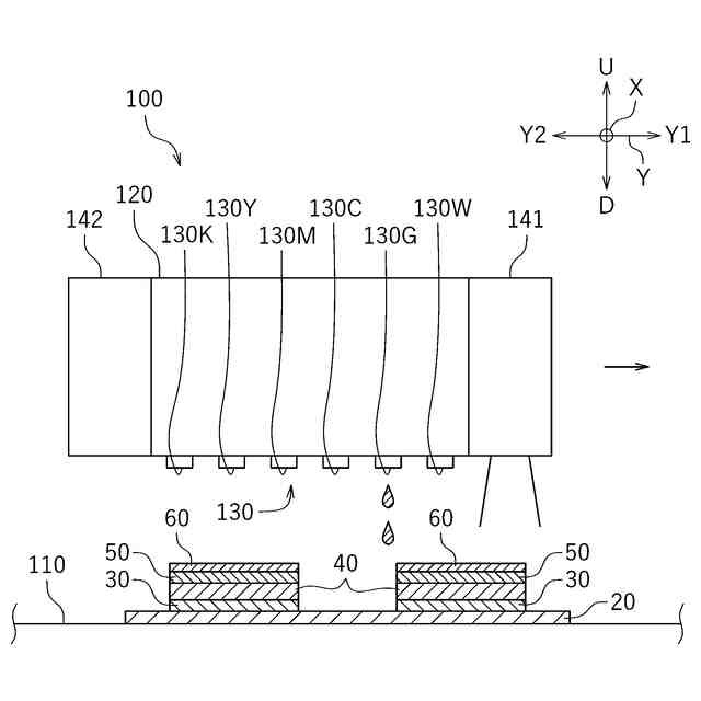
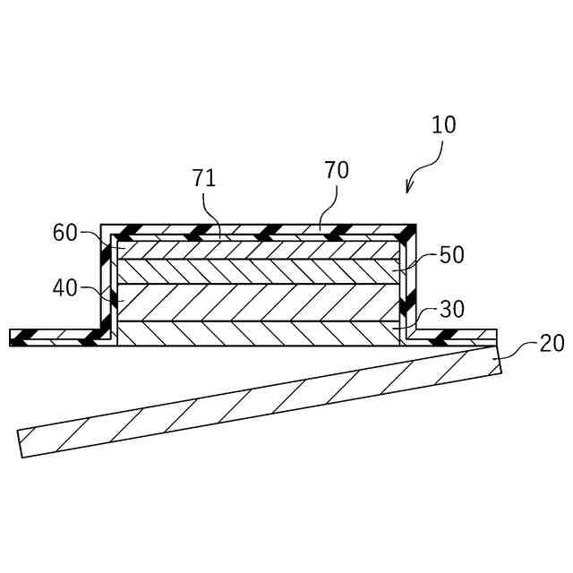
ここに開示する画像転写シートは、剥離紙と、粘着層を有する保護シートと、光硬化性のプロセスカラーインクが完全硬化された層であって、前記剥離紙と前記保護シートとの間に設けられた画像層と、光硬化性の透明インクが完全硬化された層であって、前記保護シートと前記画像層との間に設けられ、前記保護シートの前記粘着層に貼着されたオーバーコート層と、光硬化性のインクが半硬化された層であって、被転写物に対して接着性を有するとともに前記剥離紙と前記画像層との間に設けられた接着層と、を備える。前記接着層は、前記画像層と同形である。
【0007】
上記画像転写シートは、接着層を被転写物に接着することにより画像層の画像を被転写物に転写できるため、画像転写シートとして機能する。かつ、上記画像転写シートによれば、汎用的な剥離紙を使用することができるため、特殊な材料を使用しなくてもよい。さらに、上記画像転写シートは、カッティングなしに製作できるため、製作が容易である。さらに、接着層は画像層と同形であり、縁のない転写画像を得ることができる。
【0008】
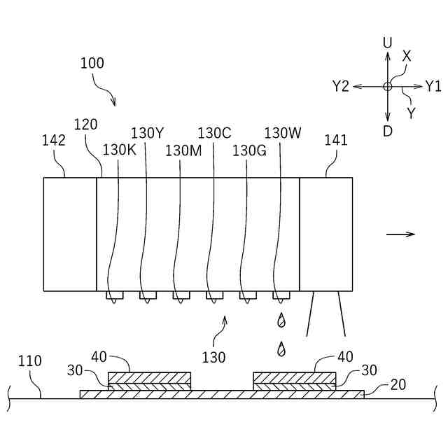
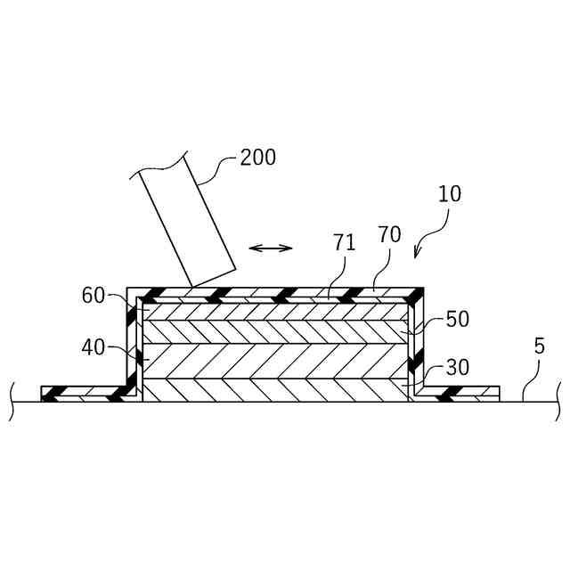
また、ここに開示する画像転写方法は、インクジェットプリンタによって光硬化性のインクを吐出するとともに前記インクに光を照射して半硬化させ、被転写物に対して接着性を有する接着層を剥離紙上に形成するステップと、インクジェットプリンタによって光硬化性のプロセスカラーインクを吐出するとともに前記プロセスカラーインクに光を照射して完全硬化させ、前記接着層よりも上に画像層を形成するステップと、インクジェットプリンタによって光硬化性の透明インクを吐出するとともに前記透明インクに光を照射して完全硬化させ、前記画像層よりも上にオーバーコート層を形成するステップと、粘着層を有する保護シートの前記粘着層を前記オーバーコート層に貼着するステップと、前記剥離紙を前記接着層から剥離するステップと、前記剥離紙が剥離された後の前記接着層を被転写物に接触させるステップと、前記接着層が被転写物に接触した状態で、前記保護シートを前記接着層の方に向かって押圧するステップと、前記保護シートを前記オーバーコート層から剥離するステップと、を含む。前記接着層は、前記画像層と同形である。
【0009】
上記画像転写方法によれば、上記した画像転写シートを作製し、これを使って画像を被転写物に転写することができる。
【図面の簡単な説明】
【0010】
第1実施形態に係る画像転写シートの模式的な断面図である。
第1実施形態に係る画像転写シートの作製手順を示すフローチャートである。
接着層を形成するステップの模式図である。
隠蔽層を形成するステップの模式図である。
画像層を形成するステップの模式図である。
オーバーコート層を形成するステップの模式図である。
画像転写シートによる画像転写の手順を示すフローチャートである。
剥離紙を剥離するステップの模式図である。
接着ステップの模式図である。
アプリケーションシートを剥離するステップの模式図である。
第2実施形態に係る画像転写シートの模式的な断面図である。
第2実施形態に係る画像転写シートの作製手順を示すフローチャートである。
被転写物に画像転写終了後の画像転写シートの模式的な断面図である。
【発明を実施するための形態】
(【0011】以降は省略されています)
この特許をJ-PlatPat(特許庁公式サイト)で参照する
関連特許
個人
粉末の清掃方法
5か月前
KLASS株式会社
壁紙糊付機
8か月前
株式会社電気印刷研究所
画像形成方法
10か月前
株式会社電気印刷研究所
箔転写物の製造方法
12か月前
株式会社タイカ
加飾物品
4か月前
個人
装飾装置
5か月前
マツダ紙工業株式会社
キャンバス
4か月前
ブラザー工業株式会社
画像形成方法
9か月前
ブラザー工業株式会社
画像形成方法
9か月前
株式会社継ぐ
装飾体及びその作製方法
10か月前
株式会社ファイン工業
透水性庭園の製造方法
13日前
大日本印刷株式会社
転写シートおよび加飾物品
7か月前
個人
立体組子構造
7か月前
日本クロージャー株式会社
接続具
3か月前
株式会社ミマキエンジニアリング
転写方法及び転写装置
2か月前
フジコピアン株式会社
紫外線レーザーによるマーク形成部材用転写シート
10か月前
京都ケミカル株式会社
装飾性小物を観賞する方法
21日前
株式会社ミマキエンジニアリング
転写方法及び被転写体
2か月前
株式会社ニッカテクノ
転写箔
5か月前
大日本印刷株式会社
転写シート、加飾成形体の製造方法および加飾成形体
8か月前
大日本印刷株式会社
転写シート、転写用基材付き樹脂成形品、及び樹脂成形品
5か月前
大日本印刷株式会社
加飾シート
27日前
株式会社タイカ
水圧転写方法、水圧転写フィルム用塗布剤及び水圧転写品
4か月前
TOPPANホールディングス株式会社
転写媒体および転写物の製造方法
3か月前
株式会社ミマキエンジニアリング
画像転写方法、非転写領域形成装置、印刷システム、及び転写媒体管理方法
1か月前
大日本印刷株式会社
転写シート、加飾成形品、及び加飾成形品の製造方法
8か月前
ローランドディー.ジー.株式会社
画像転写シートおよび画像転写方法
3か月前
クルツ スタンピング テクノロジー(ホーフェイ) カンパニー リミテッド
インサートシート、転写フィルムおよびインサートシートの製造方法
9か月前
学校法人 関西大学
錯視立体物、錯視立体物の展示装置、錯視立体物の展示方法、情報処理装置、および錯視立体物の製造方法
3か月前
レオンハード クルツ シュティフトゥング ウント コー. カーゲー
装飾箔、装飾箔の製造方法およびターゲット基板の装飾方法
1か月前
ソニーグループ株式会社
画像処理装置および方法
8か月前
パナソニックIPマネジメント株式会社
受信装置及び受信方法
7か月前
日本放送協会
符号化器、復号器、送信装置及び受信装置
1か月前
日本放送協会
送信装置およびプログラム
3か月前
クリスパー セラピューティクス アクチェンゲゼルシャフト
ユニバーサルドナー細胞
24日前
株式会社東芝
受信装置、受信方法、およびプログラム
10か月前
続きを見る
他の特許を見る