TOP
|
特許
|
意匠
|
商標
特許ウォッチ
Twitter
他の特許を見る
公開番号
2025129882
公報種別
公開特許公報(A)
公開日
2025-09-05
出願番号
2024026832
出願日
2024-02-26
発明の名称
錯視立体物、錯視立体物の展示装置、錯視立体物の展示方法、情報処理装置、および錯視立体物の製造方法
出願人
学校法人 関西大学
代理人
弁理士法人 HARAKENZO WORLD PATENT & TRADEMARK
主分類
B44F
7/00 20060101AFI20250829BHJP(装飾技術)
要約
【課題】新たな展示方法に適合している錯視立体物等を実現する。
【解決手段】本開示に係る錯視立体物は、視点(VP)と錯視立体物(の輪郭線C)との間に第1媒質(M1)が存在しない第1状態において、視点(VP)から見た第1知覚形状と、視点(VP)と錯視立体物(の輪郭線C)との間に第1媒質(M1)が存在する第2状態において、視点(VP)から屈折を生じさせる第1媒質(M1)を介して見た第2知覚形状(の輪郭線E)とが互いに異なる構成である。
【選択図】図2
特許請求の範囲
【請求項1】
錯視立体物であって、
視点と前記錯視立体物との間に第1媒質が存在しない第1状態において、前記視点から見た第1知覚形状と、
前記視点と前記錯視立体物との間に前記第1媒質が存在する第2状態において、前記視点から屈折を生じさせる前記第1媒質を介して見た第2知覚形状とが互いに異なる錯視立体物。
続きを表示(約 1,400 文字)
【請求項2】
前記第1状態において、前記第1知覚形状における屈曲している一部の輪郭線は、前記第2状態において、前記第2知覚形状における屈曲していない曲線または直線の輪郭線となる、請求項1に記載の錯視立体物。
【請求項3】
前記第1状態において、前記第1知覚形状における屈曲または湾曲している一部の輪郭線は、前記第2状態において、前記第2知覚形状における逆方向に屈曲または湾曲している輪郭線となる、請求項1に記載の錯視立体物。
【請求項4】
前記第2状態において、前記第1媒質との界面で屈折を生じさせる第2媒質が存在し、
前記第1媒質の屈折率は1.3以上、1.35未満であり、
前記第2媒質の屈折率は1.1以下である、請求項1に記載の錯視立体物。
【請求項5】
前記第2状態において、前記第1媒質との界面で屈折を生じさせる第2媒質が存在し、
前記第1媒質の屈折率は1.35以上、2.0以下であり、
前記第2媒質の屈折率は1.1以下である、請求項1に記載の錯視立体物。
【請求項6】
前記第2状態において、前記第1媒質との界面で屈折を生じさせる第2媒質が存在し、
前記第1媒質の屈折率は1.3以上、1.35未満であり、前記第2媒質の屈折率は1.35以上、2.0以下であるか、または、
前記第2媒質の屈折率は1.3以上、1.35未満であり、前記第1媒質の屈折率は1.35以上、2.0以下である、請求項1に記載の錯視立体物。
【請求項7】
請求項1から6のいずれか一項に記載の錯視立体物と、
前記錯視立体物に対する前記第1媒質の配置を変更することで、前記第1状態と、前記第2状態とを切り替える状態切替部とを備える、錯視立体物の展示装置。
【請求項8】
前記第1媒質は液体であり、
前記状態切替部は、前記錯視立体物と前記視点との間にまたは前記錯視立体物の周囲に、前記液体を配置することで、前記第1状態から前記第2状態に切り替える、請求項7に記載の錯視立体物の展示装置。
【請求項9】
請求項1から6のいずれか一項に記載の錯視立体物を展示する方法であって、
前記錯視立体物に対する前記第1媒質の配置を変更することで、前記第1状態と、前記第2状態とを切り替える状態切替ステップを含む、錯視立体物の展示方法。
【請求項10】
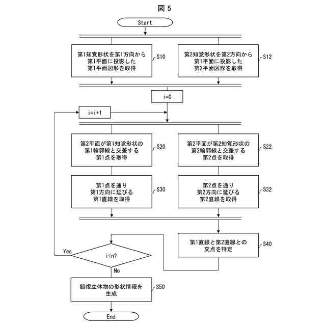
第1平面において、第1輪郭線を構成する複数の第1点と、前記第1輪郭線とは異なる第2輪郭線を構成する複数の第2点とを取得する取得部と、
前記第1輪郭線および前記第2輪郭線と交差する複数の第2平面のそれぞれにおいて、前記第1点を通り第1方向に延びる直線と、前記第2点を通り第2方向に延びる直線との交点を特定する交点特定部と、
複数の第2平面において特定された複数の前記交点に基づいて、前記第1方向から見た第1知覚形状と、前記第2方向から見た第2知覚形状とが異なる錯視立体物の形状情報を生成する形状情報生成部とを備え、
前記第1知覚形状は、前記第1輪郭線に対応する形状を有し、
前記第2知覚形状は、前記第2輪郭線に対応する形状を有する、情報処理装置。
(【請求項11】以降は省略されています)
発明の詳細な説明
【技術分野】
【0001】
本開示は、錯視立体物、錯視立体物の展示装置、錯視立体物の展示方法、情報処理装置、および錯視立体物の製造方法に関する。
続きを表示(約 1,400 文字)
【背景技術】
【0002】
物事を現実と異なるように知覚する現象が知られており、「錯覚」と呼称されている。視覚における錯覚は、「錯視」と呼称されており、様々な錯視が知られている。近年、絵に描くことはできるが現実に作成することは不可能と思われていた立体の中に、錯視を利用することによって、現実に作成可能な立体があることが発見されている。また、奥行きが反転して見える錯視(例えば、ホロウマスク錯視)を生じる立体も知られている。このように錯視を利用した、または錯視を生じる立体が「錯視立体」と呼称されている。
【0003】
特許文献1は、第1視点から見た第1視認形状と第2視点から見た第2視認形状とが異なる形状となるように設計された錯視立体部品を複数備える錯視立体群を開示している。特許文献1はさらに、第2視点が第1視点と(鏡)対称の関係になる位置に平面の鏡を置くことにより、第1視点からは、錯視立体群を直接見たときの(第1視認)形状と、鏡に写された錯視立体群の(第2視認)形状が異なるように見える展示方法を開示している。
【0004】
非特許文献1はさらに、第2の視点から錯視立体物に投光することにより、第1視点からは、錯視立体物を直接見たときの(第1視認)形状と、錯視立体物の影を見たときの(第2視認)形状が異なるように見える展示方法を開示している。
【0005】
錯視立体は、その特徴および展示方法に応じて、「だまし絵立体」、「不可能モーション立体」、「変身立体」、「透身立体」、「トポロジー攪乱立体」、「軟体立体」、および「高さ反転立体」などと様々に命名されたりもしている。
【0006】
なお、錯視立体に利用されている「錯視」は、人間の性質に起因する現象であって、レンズによる拡大縮小および反転、ならびに反射などによる視覚的演出と異なることを理解されたい。例えば、特許文献2は、反射面に背景画像を映す視覚的演出を開示している。また、非特許文献2は、コップに水を入れることにより矢印の向きが変わる現象を開示している。非特許文献2における向きの反転は、錯視ではなく、屈折という現象を示しているだけである。
【先行技術文献】
【特許文献】
【0007】
特開2019-59190号公報
特表2010-509138号公報
【非特許文献】
【0008】
「『立体錯視の世界』第18回『影を使った変身』」、(公開URL:https://www.youtube.com/watch?v=J2ILY5VLoxU、公開日:2020年6月22日)
「矢印が反対に!?光の屈折を利用しよう」、(公開URL:https://www.science-kido.com/single-post/refraction-of-light/、公開日:2020年5月4日)
【発明の概要】
【発明が解決しようとする課題】
【0009】
本開示に係る発明者は、錯視立体物の新たな展示方法を探求した。
【0010】
本開示の一態様は、新たな展示方法に適合している錯視立体物、錯視立体物の展示装置、錯視立体物の展示方法、情報処理装置、および錯視立体物の製造方法を実現することを目的とする。
【課題を解決するための手段】
(【0011】以降は省略されています)
この特許をJ-PlatPat(特許庁公式サイト)で参照する
関連特許
学校法人 関西大学
ポリマー薬物複合体
13日前
学校法人 関西大学
ダンパーおよび建築物
2か月前
学校法人 関西大学
MAX相化合物の製造方法
4か月前
学校法人 関西大学
粉体状液体金属およびその製造方法
6日前
学校法人 関西大学
軸受、モータ、および状態検出システム
7か月前
第一工業製薬株式会社
非水電解液二次電池
7か月前
学校法人 関西大学
膜材料及び気体分離膜並びに膜材料の製造方法
3か月前
学校法人 関西大学
細胞外小胞の生産方法及び生産効率を高める方法
2か月前
福岡県
金型の製造方法、金型及びマイクロデバイス
5か月前
北興化学工業株式会社
金属マグネシウムの製造方法
6か月前
三菱ケミカル株式会社
金属有機フレームワークの製造方法
6か月前
バイオチューブ株式会社
組織体形成装置、および組織体形成方法
4か月前
学校法人 関西大学
識別装置、学習装置、識別方法、学習方法、識別プログラム、および学習プログラム
6か月前
学校法人 関西大学
岩石推定システム、学習装置、岩石推定方法、学習モデル生成方法、および端末装置
6日前
信越化学工業株式会社
エポキシ樹脂組成物、エポキシ樹脂硬化物、及びエポキシ接着剤
今日
三菱瓦斯化学株式会社
樹脂組成物、樹脂シート、プリプレグ、金属箔張積層板、及びプリント配線板
7日前
学校法人 関西大学
ポリアセタール系樹脂、リソグラフィー膜形成用組成物、レジスト膜、及びレジストパターンの形成方法
7日前
学校法人 関西大学
錯視立体物、錯視立体物の展示装置、錯視立体物の展示方法、情報処理装置、および錯視立体物の製造方法
3か月前
二九精密機械工業株式会社
シームレス中空マイクロニードル及びシームレス中空マイクロニードルの製造方法
5日前
大成建設株式会社
トンネル切羽評価支援装置、トンネル切羽評価支援プログラム、及びトンネル切羽評価支援方法
3か月前
個人
粉末の清掃方法
5か月前
KLASS株式会社
壁紙糊付機
8か月前
株式会社電気印刷研究所
画像形成方法
10か月前
株式会社電気印刷研究所
箔転写物の製造方法
12か月前
株式会社タイカ
加飾物品
4か月前
個人
装飾装置
5か月前
マツダ紙工業株式会社
キャンバス
4か月前
ブラザー工業株式会社
画像形成方法
9か月前
ブラザー工業株式会社
画像形成方法
9か月前
株式会社継ぐ
装飾体及びその作製方法
10か月前
株式会社ファイン工業
透水性庭園の製造方法
12日前
大日本印刷株式会社
転写シートおよび加飾物品
6か月前
個人
立体組子構造
7か月前
日本クロージャー株式会社
接続具
3か月前
株式会社ミマキエンジニアリング
転写方法及び転写装置
2か月前
フジコピアン株式会社
紫外線レーザーによるマーク形成部材用転写シート
10か月前
続きを見る
他の特許を見る