TOP
|
特許
|
意匠
|
商標
特許ウォッチ
Twitter
他の特許を見る
10個以上の画像は省略されています。
公開番号
2025062981
公報種別
公開特許公報(A)
公開日
2025-04-15
出願番号
2024022331
出願日
2024-02-16
発明の名称
軸受、モータ、および状態検出システム
出願人
学校法人 関西大学
代理人
弁理士法人 HARAKENZO WORLD PATENT & TRADEMARK
主分類
F16C
33/66 20060101AFI20250408BHJP(機械要素または単位;機械または装置の効果的機能を生じ維持するための一般的手段)
要約
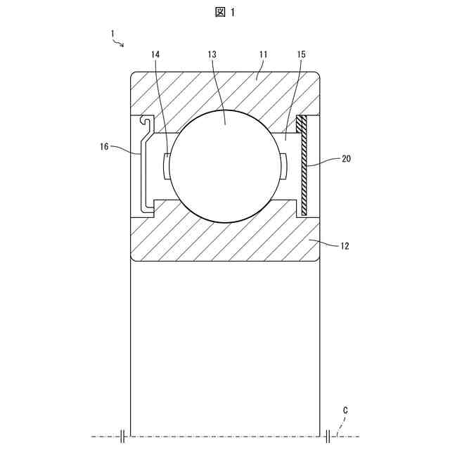
【課題】軸受内の潤滑剤の状態が悪化したことを適切に検出する。
【解決手段】軸受(1)は、外輪(11)および内輪(12)の間に位置する複数の転動体(13)と、外輪および内輪の間に封入された潤滑剤(15)と、潤滑剤の外側に設けられた第1電極(21、25)と、潤滑剤を介して第1電極に近接している第2電極(22)と、を備え、第1電極と第2電極との間に位置する潤滑剤の誘電率の変化を検出可能である。
【選択図】図1
特許請求の範囲
【請求項1】
第1輪および第2輪の間に位置する複数の転動体と、
前記第1輪および前記第2輪の間に封入された潤滑剤と、
前記潤滑剤の外側に設けられた第1電極と、
前記潤滑剤を介して前記第1電極に近接している第2電極と、を備え、
前記第1電極と前記第2電極との間に位置する前記潤滑剤の誘電率の変化を検出可能である、軸受。
続きを表示(約 840 文字)
【請求項2】
前記第2電極は、前記第1輪である、請求項1に記載の軸受。
【請求項3】
前記第1輪は、外輪であり、
前記第2輪は、内輪である、請求項2に記載の軸受。
【請求項4】
前記第1輪に固定され、前記潤滑剤を封入する密封部を備え、
前記第1電極は、前記密封部に設けられている、請求項3に記載の軸受。
【請求項5】
前記第1電極は、前記第1輪の中心軸を中心とする円周方向に沿って延びている、請求項2に記載の軸受。
【請求項6】
第1輪および第2輪の間に位置する複数の転動体と、
前記第1輪および前記第2輪の間に封入された潤滑剤と、
前記潤滑剤の外側に設けられた第1電極と、
前記第1輪である第2電極と、を備え、
前記第1電極と前記第2電極との間のインピーダンスまたはキャパシタンスが計測可能である、軸受。
【請求項7】
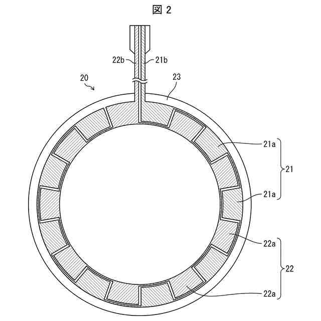
前記第1電極は、前記第1輪の中心軸を中心とする円周方向に2つ以上に分割された、前記潤滑剤と接する複数の第1分割領域を有し、
前記第2電極は、前記円周方向に2つ以上に分割された、前記潤滑剤と接する複数の第2分割領域を有し、
前記円周方向の一周に渡って、前記第1分割領域と前記第2分割領域とが交互に並んでかつ均等に配置されている、請求項1に記載の軸受。
【請求項8】
前記第1電極および前記第2電極の分割数は、前記転動体の数以上である、請求項7に記載の軸受。
【請求項9】
前記第1分割領域および前記第2分割領域の間の間隔は、50μm以上である、請求項7に記載の軸受。
【請求項10】
前記第1電極および前記第2電極が形成された基板を備え、
前記基板は、前記潤滑剤の漏出を防ぐ密封部として作用する、請求項7に記載の軸受。
(【請求項11】以降は省略されています)
発明の詳細な説明
【技術分野】
【0001】
本発明は軸受、モータ、および状態検出システムに関する。
続きを表示(約 1,300 文字)
【背景技術】
【0002】
軸受は、固定部と、固定部に対して回転する回転部との間に設けられ、回転運動の摩擦を低減する。軸受では、潤滑剤を用いることで、軸受内での転動体の回転を潤滑している。
【0003】
近年、電気自動車が普及しており、モータに用いられる軸受において発生する、軸電圧による軸受の電食が問題となっている。この電食で軸受が損傷すると、モータも故障に至るため、軸受の状態、すなわち電食が発生しているか否かを検出することが求められている。
【先行技術文献】
【特許文献】
【0004】
特開2004-293776号公報
【発明の概要】
【発明が解決しようとする課題】
【0005】
特許文献1には、軸受内に配置された電極を検出子として、該検出子の電気特性変化を監視することによって、軸受の状態、特に潤滑剤に混入した摩耗紛を検出する装置が開示されている。
【0006】
しかしながら、特許文献1では、軸受の摩耗がある程度経過し、摩耗紛が潤滑剤に混入することによる電気特性の変化を検出しているため、摩耗紛が混入する前の状態、すなわち、軸受の状態が悪化したことを検出することはできない。そのため、モータ等の故障を防ぐことが難しい場合がある。
【0007】
そこで、本発明の一態様は、軸受内の潤滑剤の状態が悪化したことを適切に検出することを目的とする。
【課題を解決するための手段】
【0008】
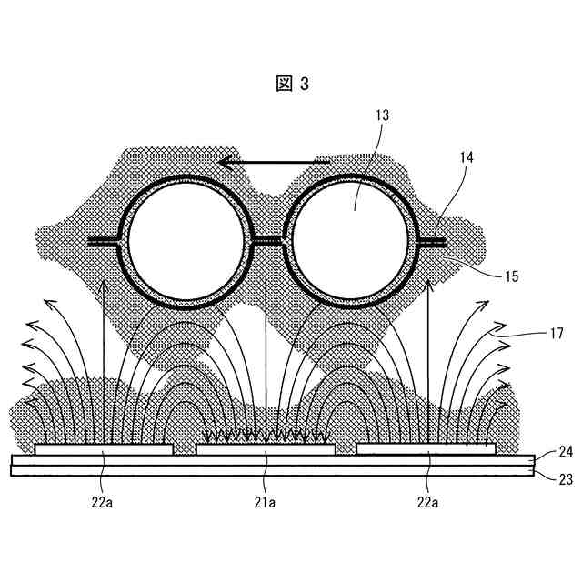
本発明の一態様に係る軸受は、第1輪および第2輪の間に位置する複数の転動体と、前記第1輪および前記第2輪の間に封入された潤滑剤と、前記潤滑剤の外側に設けられた第1電極と、前記潤滑剤を介して前記第1電極に近接している第2電極と、を備え、前記第1電極と前記第2電極との間に位置する前記潤滑剤の誘電率の変化を検出可能である、構成である。
【0009】
本発明の一態様に係る軸受は、第1輪および第2輪の間に位置する複数の転動体と、前記第1輪および前記第2輪の間に封入された潤滑剤と、前記潤滑剤の外側に設けられた第1電極と、前記第1輪である第2電極と、を備え、前記第1電極と前記第2電極との間のインピーダンスまたはキャパシタンスが計測可能である、構成である。
【0010】
本発明の一態様に係る軸受は、第1輪および第2輪の間に位置する複数の転動体と、前記第1輪および前記第2輪の間に封入された潤滑剤と、前記第1輪の中心軸を中心とする円周方向に2つ以上に分割された、前記潤滑剤と接する複数の第1分割領域を有する第1電極と、前記円周方向に2つ以上に分割された、前記潤滑剤と接する複数の第2分割領域を有する第2電極と、を備え、前記円周方向の一周に渡って、前記第1分割領域と前記第2分割領域とが交互に並んでかつ均等に配置されており、前記第1電極と前記第2電極との間のインピーダンスまたはキャパシタンスが計測可能である、構成である。
【発明の効果】
(【0011】以降は省略されています)
この特許をJ-PlatPat(特許庁公式サイト)で参照する
関連特許
学校法人 関西大学
ダンパーおよび建築物
1か月前
学校法人 関西大学
MAX相化合物の製造方法
2か月前
学校法人 関西大学
軸受、モータ、および状態検出システム
6か月前
第一工業製薬株式会社
非水電解液二次電池
5か月前
学校法人 関西大学
膜材料及び気体分離膜並びに膜材料の製造方法
2か月前
学校法人 関西大学
細胞外小胞の生産方法及び生産効率を高める方法
26日前
福岡県
金型の製造方法、金型及びマイクロデバイス
4か月前
北興化学工業株式会社
金属マグネシウムの製造方法
4か月前
三菱ケミカル株式会社
金属有機フレームワークの製造方法
4か月前
バイオチューブ株式会社
組織体形成装置、および組織体形成方法
3か月前
学校法人 関西大学
識別装置、学習装置、識別方法、学習方法、識別プログラム、および学習プログラム
5か月前
学校法人 関西大学
錯視立体物、錯視立体物の展示装置、錯視立体物の展示方法、情報処理装置、および錯視立体物の製造方法
1か月前
大成建設株式会社
トンネル切羽評価支援装置、トンネル切羽評価支援プログラム、及びトンネル切羽評価支援方法
2か月前
個人
留め具
19日前
個人
鍋虫ねじ
2か月前
個人
ホース保持具
6か月前
個人
回転伝達機構
2か月前
個人
紛体用仕切弁
2か月前
個人
トーションバー
7か月前
個人
差動歯車用歯形
4か月前
個人
給排気装置
26日前
個人
ジョイント
1か月前
株式会社不二工機
電磁弁
5か月前
個人
地震の揺れ回避装置
3か月前
個人
ボルトナットセット
7か月前
個人
ナット
1か月前
株式会社不二工機
電磁弁
4か月前
個人
吐出量監視装置
2か月前
カヤバ株式会社
ダンパ
4か月前
カヤバ株式会社
ダンパ
4か月前
カヤバ株式会社
緩衝器
25日前
柿沼金属精機株式会社
分岐管
2か月前
カヤバ株式会社
緩衝器
3か月前
カヤバ株式会社
緩衝器
3か月前
株式会社三協丸筒
枠体
7か月前
株式会社三五
ドライブシャフト
11日前
続きを見る
他の特許を見る