TOP
|
特許
|
意匠
|
商標
特許ウォッチ
Twitter
他の特許を見る
公開番号
2025129918
公報種別
公開特許公報(A)
公開日
2025-09-05
出願番号
2024026895
出願日
2024-02-26
発明の名称
接続具
出願人
日本クロージャー株式会社
代理人
弁理士法人愛宕綜合特許事務所
主分類
B44C
1/28 20060101AFI20250829BHJP(装飾技術)
要約
【課題】使用済みの容器蓋の如き円形天面壁及びこの天面壁の周縁から垂下する円筒形状のスカート壁を有する物品をモザイク片として使用して立体的に配列して立体的な装飾品を高精度で作成することを可能にする接続具を提供すること。
【解決手段】下面が横方向に隣接する複数個の物品の夫々の天面壁の上面の一部に近接乃至当接する天板を備え、天板の下面には下方に垂下する垂下壁が形成され、この垂下壁は横方向に隣接する複数個の物品の夫々のスカート壁の外周面の一部と近接乃至当接する円弧形状の内面を有し、天板の上面には、物品のスカート壁の下端部を支持可能な支持手段が配置されていて、支持手段によって支持された物品は横方向に隣接する複数個の物品の上方に位置せしめられる、ことを特徴とする接続具。
【選択図】図8
特許請求の範囲
【請求項1】
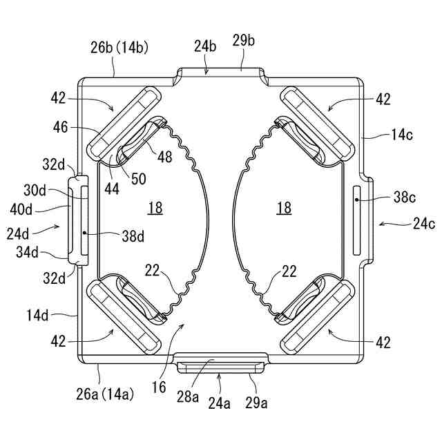
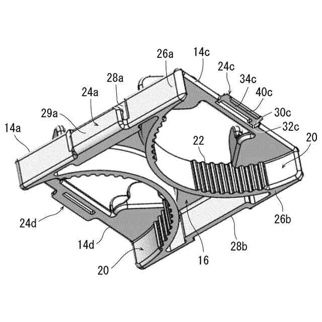
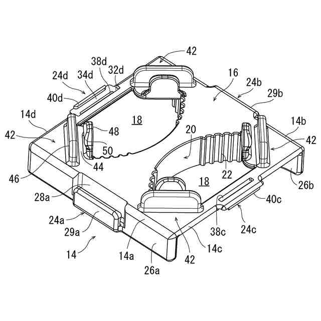
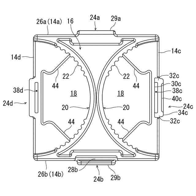
円形状の天面壁と該天面壁の周縁から垂下する円筒形状のスカート壁とを有する物品をモザイク片として利用して、立体的装飾品を作成するための接続具にして、
横方向に隣接する複数個の該物品の夫々の該天面壁の上面の一部に下面が近接乃至当接する天板を備え、
該下面には下方に垂下する垂下壁が形成され、該垂下壁は前記複数個の該物品の夫々の該スカート壁の外周面の一部と近接乃至当接する円弧形状の内面を有し、
該天板の上面には、一個の他の該物品の該スカート壁の下端部を支持可能な支持手段が配置されていて、該支持手段によって支持された前記一個の他の該物品は該複数個の物品の上方に位置せしめられる、
ことを特徴とする接続具。
続きを表示(約 850 文字)
【請求項2】
横方向に隣接する2つの該物品の夫々の該天面壁の上面の一部に該下面は近接乃至当接し、平面視において、該支持手段によって支持された前記一個の他の該物品の中心は前記2つの該物品の各々の中心を結んだ線分の中点に位置せしめられる、請求項1に記載の接続具。
【請求項3】
横方向に隣接する3つ以上の該物品の夫々の該天面壁の上面の一部に該下面は近接乃至当接し、平面視において、該支持手段によって支持された前記一個の他の該物品の中心は前記3つ以上の該物品の夫々の中心を結んだ正多角形の重心に位置せしめられる、請求項1に記載の接続具。
【請求項4】
該垂下壁の該内面には、その全体に渡って又は周方向に間隔をおいた複数個の部位において軸線方向に延びる複数個の凹凸が交互に存在するナールが形成されている、請求項1に記載の接続具。
【請求項5】
該天板の外周縁部には第一の連結手段及び第二の連結手段が配設されており、1個の接続具の該第一の連結手段と他の1個の接続具の該第二の連結手段とを係合させて該1個の接続具と該他の1個の接続具とを連結することができる、請求項1に記載の接続具。
【請求項6】
該天板の外周縁部には第三の連結手段及び第四の連結手段も配設されており、1個の接続具の該第三の連結手段と他の1個の接続具の該第四の連結手段とを係合させて該1個の接続具と該他の1個の接続具とを連結することができる、請求項5に記載の接続具。
【請求項7】
平面視において該天板は正方形であって、該第一の連結手段、該第二の連結手段、該第三の連結手段及び該第四の連結手段は該天板の各辺の中央に1つずつ配設されている、請求項6に記載の接続具。
【請求項8】
該支持手段は周方向に等角度間隔をおいて4つ配設されている、請求項1に記載の接続具。
【請求項9】
合成樹脂から一体に形成されている、請求項1記載の接続具。
発明の詳細な説明
【技術分野】
【0001】
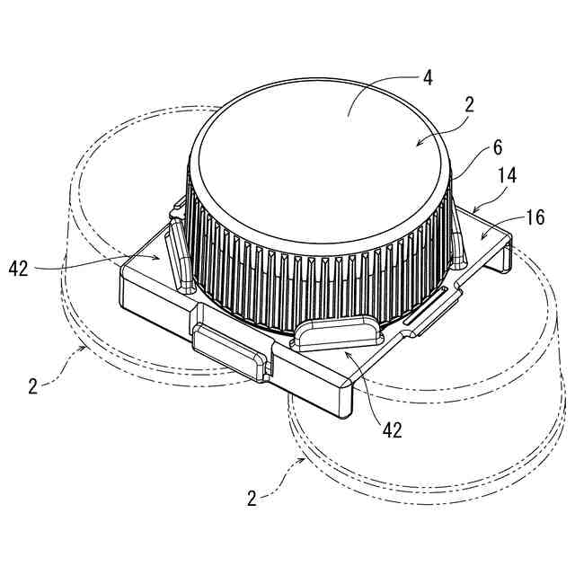
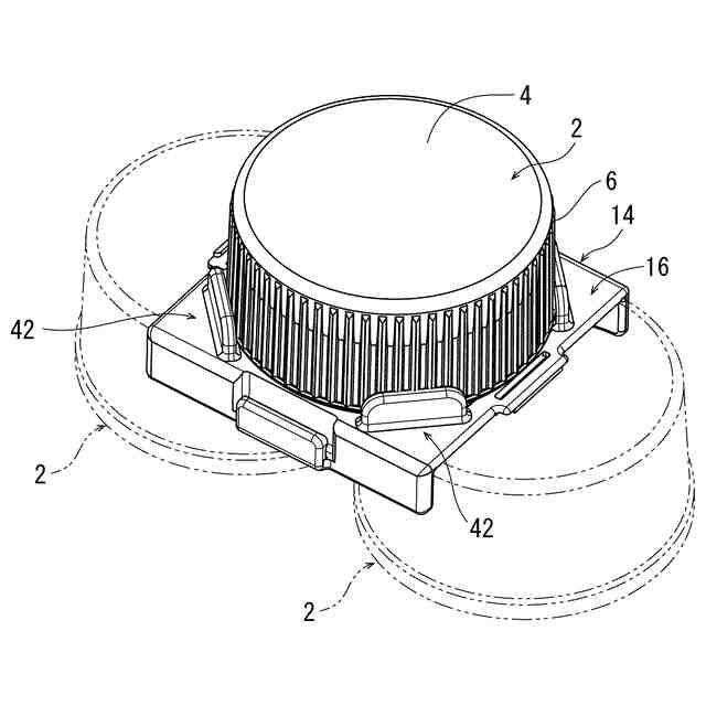
本発明は、使用済みの容器蓋の如き円形天面壁及びこの天面壁の周縁から垂下する円筒形状のスカート壁を有する物品をモザイク片として利用して、立体的装飾品を作成するための接続具に関する。
続きを表示(約 3,100 文字)
【背景技術】
【0002】
下記特許文献1には、円形状の天面壁及びこの天面壁の周縁から垂下する円筒形状のスカート壁を有する、使用済み(特に使用済みであることは明記されていないが使用済みであることが推定される)の、ポリテトラフルオロエチレンの如き適宜の合成樹脂から形成された容器(通常ペットボトルと称されている容器)に適用されていた容器蓋を、モザイク片として使用して絵画様の装飾品を作成するための配列具が開示されている。
【先行技術文献】
【特許文献】
【0003】
特開2013-237184号公報
【発明の概要】
【発明が解決しようとする課題】
【0004】
而して、上記配列具によれば、使用済みの容器蓋をモザイク片として使用して二次元的に配列して絵画様の装飾品を作成することができるが、使用済みの容器蓋をモザイク片として使用して立体的(三次元的)に配列することができず、立体的な装飾品を作成することができない。
【0005】
そこで、本発明者等は本願の出願に先立ち、使用済みの容器蓋をモザイク片として使用して立体的(三次元的)に配列することが可能な新規の接続具を発明し、かかる発明について本願の出願人は既に特許出願した(例えば特願2023-174660)。特願2023-174660の明細書等には、該物品の該スカート壁の外径に対応した内径を有する円筒形状乃至上方に向って内径が漸次低減する円錐台筒形状の内周面を備えた環状主部を備え、該環状主部の該外周面には第一の連結手段及び第二の連結手段が配設されており、1個の接続具の該第一の連結手段と他の1個の接続具の該第二の連結手段とを係合させて該1個の接続具と該他の1個の接続具とを連結することができ、該環状主部には、更に、間隔をおいて立設され且つ両者間に該物品の該スカート壁の下端部を挿入することができる2個の挟み片を有する少なくとも1個の挟み手段が配設されている、接続具が示されている(これを以下では「先行接続具」とする)。
【0006】
上記先行接続具を使用することで、使用済みの容器蓋をモザイク片として立体的(三次元的)に配列して、立体的な装飾品を作成することは可能である。然しながら、先行接続具によれば、1個の容器蓋の直上方に他の1個の容器蓋が配置せしめられる、換言すれば物品は上下方向に見て横方向に等ピッチで配置せしめられることから、立体的な装飾品の外観形状は荒くなってしまう。そのため、先行接続具では、使用済みの容器蓋をモザイク片として立体的(三次元的)に配列して立体的な装飾品を作成する際の表現の自由度が低く、造形の品質を充分維持することができない。
【0007】
本発明は、上記事実に鑑みてなされたものであり、その主たる技術的課題は、使用済みの容器蓋(以下、単に「容器蓋」ということもある)の如き円形天面壁及びこの天面壁の周縁から垂下する円筒形状のスカート壁を有する物品をモザイク片として使用して立体的に配列して立体的な装飾品を高精度で作成することを可能にする新規な接続具を提供することである。
【課題を解決するための手段】
【0008】
本発明によれば、上記主たる技術的課題を達成する接続具として、円形状の天面壁と該天面壁の周縁から垂下する円筒形状のスカート壁とを有する物品をモザイク片として利用して、立体的装飾品を作成するための接続具にして、
横方向に隣接する複数個の該物品の夫々の該天面壁の上面の一部に下面が近接乃至当接する天板を備え、
該下面には下方に垂下する垂下壁が形成され、該垂下壁は前記複数個の該物品の夫々の該スカート壁の外周面の一部と近接乃至当接する円弧形状の内面を有し、
該天板の上面には、一個の他の該物品の該スカート壁の下端部を支持可能な支持手段が配置されていて、該支持手段によって支持された前記一個の他の該物品は該複数個の物品の上方に位置せしめられる、
ことを特徴とする接続具が提供される。
【0009】
好ましくは、横方向に隣接する2つの該物品の夫々の該天面壁の上面の一部に該下面は近接乃至当接し、平面視において、該支持手段によって支持された前記一個の他の該物品の中心は前記2つの該物品の各々の中心を結んだ線分の中点に位置せしめられる。或いは、横方向に隣接する3つ以上の該物品の夫々の該天面壁の上面の一部に該下面は近接乃至当接し、平面視において、該支持手段によって支持された前記一個の他の該物品の中心は前記3つ以上の該物品の夫々の中心を結んだ正多角形の重心に位置せしめられるのが好ましい。該垂下壁の該内面には、その全体に渡って又は周方向に間隔をおいた複数個の部位において軸線方向に延びる複数個の凹凸が交互に存在するナールが形成されているのが好適である。該天板の外周縁部には第一の連結手段及び第二の連結手段が配設されており、1個の接続具の該第一の連結手段と他の1個の接続具の該第二の連結手段とを係合させて該1個の接続具と該他の1個の接続具とを連結することができるのがよい。この場合には更に、該天板の外周縁部には第三の連結手段及び第四の連結手段も配設されており、1個の接続具の該第三の連結手段と他の1個の接続具の該第四の連結手段とを係合させて該1個の接続具と該他の1個の接続具とを連結することができるのがよい。そしてまた、平面視において該天板は正方形であって、該第一の連結手段、該第二の連結手段、該第三の連結手段及び該第四の連結手段は該天板の各辺の中央に1つずつ配設されているのが好適である。好ましくは、該支持手段は周方向に等角度間隔をおいて4つ配設されている。合成樹脂から一体に形成されているのがよい。
【発明の効果】
【0010】
本発明の接続具によれば、天板の下面が横方向に隣接する複数個の物品の夫々の天面壁の上面の一部に近接乃至当接すると共に天板の下面から垂下する垂下壁の内面が上記複数個の物品の夫々のスカート壁の外周面の一部と近接乃至当接することで上記複数個の物品を支持し、更に、天板の上面に配置された支持手段が上記複数個の物品上で他の物品を支持することで、接続具を介して物品の配列を上下方向に展開することができる。また、天板の下面は物品の天面壁の上面の一部にのみ近接乃至当接することから、天板の下面が近接乃至当接していない天面壁の上面の残部に他の接続具の天板の下面を近接乃至当接せしめることで、物品の配列を横方向に展開することができる。かくして、物品をモザイク片として使用して立体的に配列して立体的な装飾品を作成することができる。さらに、本発明の接続具にあっては、天板の上面側に配置された他の物品は天板の下面側に配置された複数個の物品上に位置せしめられることから、天板の上面側に配置された他の物品が天板の下面側に配置された複数個の物品のいずれの物品の直上方に位置せしめられることもなく、換言すれば物品は上下方向に見て横方向に異なるピッチで配置せしめられるため、これに起因して立体的な装飾品の外観形状を精細に表現することが可能となる。つまり、本発明の接続具によれば、使用済みの容器蓋をモザイク片として立体的(三次元的)に配列して立体的な装飾品を作成する際の表現の自由度が高く、造形の品質を充分維持することができる。
【図面の簡単な説明】
(【0011】以降は省略されています)
この特許をJ-PlatPat(特許庁公式サイト)で参照する
関連特許
個人
粉末の清掃方法
5か月前
KLASS株式会社
壁紙糊付機
8か月前
株式会社電気印刷研究所
画像形成方法
10か月前
株式会社電気印刷研究所
箔転写物の製造方法
12か月前
株式会社タイカ
加飾物品
4か月前
個人
装飾装置
5か月前
マツダ紙工業株式会社
キャンバス
4か月前
ブラザー工業株式会社
画像形成方法
9か月前
ブラザー工業株式会社
画像形成方法
9か月前
株式会社継ぐ
装飾体及びその作製方法
10か月前
株式会社ファイン工業
透水性庭園の製造方法
12日前
大日本印刷株式会社
転写シートおよび加飾物品
6か月前
個人
立体組子構造
7か月前
日本クロージャー株式会社
接続具
3か月前
株式会社ミマキエンジニアリング
転写方法及び転写装置
2か月前
フジコピアン株式会社
紫外線レーザーによるマーク形成部材用転写シート
10か月前
京都ケミカル株式会社
装飾性小物を観賞する方法
20日前
株式会社ミマキエンジニアリング
転写方法及び被転写体
2か月前
株式会社ニッカテクノ
転写箔
5か月前
大日本印刷株式会社
転写シート、加飾成形体の製造方法および加飾成形体
8か月前
大日本印刷株式会社
転写シート、転写用基材付き樹脂成形品、及び樹脂成形品
5か月前
大日本印刷株式会社
加飾シート
26日前
株式会社タイカ
水圧転写方法、水圧転写フィルム用塗布剤及び水圧転写品
4か月前
TOPPANホールディングス株式会社
転写媒体および転写物の製造方法
3か月前
株式会社ミマキエンジニアリング
画像転写方法、非転写領域形成装置、印刷システム、及び転写媒体管理方法
1か月前
大日本印刷株式会社
転写シート、加飾成形品、及び加飾成形品の製造方法
8か月前
ローランドディー.ジー.株式会社
画像転写シートおよび画像転写方法
3か月前
クルツ スタンピング テクノロジー(ホーフェイ) カンパニー リミテッド
インサートシート、転写フィルムおよびインサートシートの製造方法
9か月前
学校法人 関西大学
錯視立体物、錯視立体物の展示装置、錯視立体物の展示方法、情報処理装置、および錯視立体物の製造方法
3か月前
レオンハード クルツ シュティフトゥング ウント コー. カーゲー
装飾箔、装飾箔の製造方法およびターゲット基板の装飾方法
1か月前
ソニーグループ株式会社
画像処理装置および方法
8か月前
パナソニックIPマネジメント株式会社
受信装置及び受信方法
7か月前
日本放送協会
符号化器、復号器、送信装置及び受信装置
1か月前
日本放送協会
送信装置およびプログラム
3か月前
クリスパー セラピューティクス アクチェンゲゼルシャフト
ユニバーサルドナー細胞
23日前
株式会社東芝
受信装置、受信方法、およびプログラム
10か月前
続きを見る
他の特許を見る