TOP
|
特許
|
意匠
|
商標
特許ウォッチ
Twitter
他の特許を見る
公開番号
2025129906
公報種別
公開特許公報(A)
公開日
2025-09-05
出願番号
2024026877
出願日
2024-02-26
発明の名称
送信装置およびプログラム
出願人
日本放送協会
代理人
個人
,
個人
,
個人
,
個人
主分類
H04B
1/7073 20110101AFI20250829BHJP(電気通信技術)
要約
【課題】既存システムとの互換性を維持しつつ、同期性能のさらなる向上を図る。
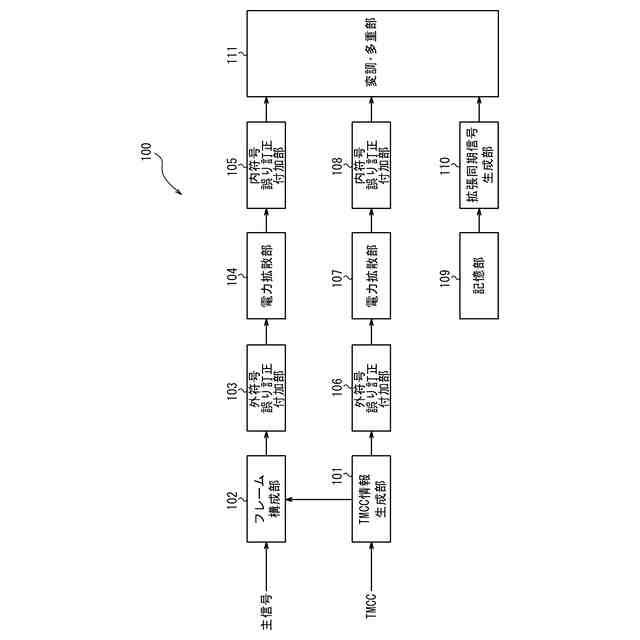
【解決手段】送信装置10は、受信装置300における同期処理のための、衛星放送システム10において予め定められた同期信号に、所定のビット数の信号を付加した拡張同期信号を出力する拡張同期信号生成部110と、主信号と拡張同期信号とを変調および多重し、放送波として送信する変調・多重部111と、を備え、拡張同期信号は、任意のPN(Pseudo Noise)信号において、同期信号と一致する一致部分および一致部分に続く所定のビット数の拡張部分からなる信号である。
【選択図】図2
特許請求の範囲
【請求項1】
衛星中継器を介して放送波を受信装置に送信する衛星放送システムにおける送信装置であって、
前記受信装置における同期処理のための、前記衛星放送システムにおいて予め定められた同期信号に、所定のビット数の信号を付加した拡張同期信号を出力する拡張同期信号生成部と、
主信号と前記拡張同期信号とを変調および多重し、前記放送波として送信する変調・多重部と、を備え、
前記拡張同期信号は、任意のPN(Pseudo Noise)信号において、前記同期信号と一致する一致部分および前記一致部分に続く前記所定のビット数の拡張部分からなる信号である、送信装置。
続きを表示(約 310 文字)
【請求項2】
請求項1に記載の送信装置において、
前記同期信号は、所定の順序で伝送されることが規定された複数の同期信号を含み、
前記拡張同期信号生成部は、前記同期信号の伝送順として規定されている所定の順序で、前記複数の同期信号それぞれに対応する拡張同期信号を出力する、送信装置。
【請求項3】
請求項1に記載の送信装置において、
前記拡張部分のビット数は、前記衛星放送システムにおいて予め定められた、前記同期信号に続いて伝送されるパイロット信号のビット数と同じである、送信装置。
【請求項4】
コンピュータを、請求項1に記載の送信装置として機能させるプログラム。
発明の詳細な説明
【技術分野】
【0001】
本発明は、送信装置およびプログラムに関する。
続きを表示(約 2,300 文字)
【背景技術】
【0002】
高度広帯域衛星デジタル放送の伝送方式(ISDB-S3:Integrated Services Digital Broadcasting-Satellite-Third Generation)では、4K8K放送の提供を主目的として開発が進められている。ISDB-S3では、伝送容量の増加が可能となる多値変調方式である16APSK(Amplitude and Phase-Shift Keying)および32APSKが導入され、また、伝送特性の向上が可能となる誤り訂正能力の高いLDPC(Low-Density Parity-Check)が導入されている。
【0003】
ISDB-S3では、衛星中継器に搭載された機器の非線形特性の影響を受信機で補償することを目的として、パイロット信号(32ビット)を伝送している。パイロット信号により、非線形特性の影響を受けた後の伝送信号において、復調・復号に使用可能となる振幅および位相の基準点を受信機で推定することができるので、伝送特性の向上が可能となる。なお、振幅および位相の両成分で変調するAPSKでは、非線形特性の影響を大きく受けるため、パイロット信号による補償効果が大きいが、位相成分のみで変調するPSK(Phase-Shift Keying)では、非線形特性の影響が小さく、パイロット信号による補償効果はほとんど見られない。ISDB-S3では、伝送容量の増加を目的とした多値変調方式である16APSKおよび32APSK以外に、π/2シフトBPSK、QPSKおよび8PSKが規格化されている。
【0004】
非特許文献1には、π/2シフトBPSK、QPSK、8PSK、16APSKおよび32APSKのそれぞれについて、シミュレーションでの所要C/Nと、実機を使用した衛星折り返しの所要C/Nとの比較結果が示されている。非特許文献1に記載されているように、16APSKおよび32APSKでは、どの誤り訂正符号化率においても、衛星折り返しにおける所要C/Nの劣化量は概ね一定である。これに対し、最も耐性の高いπ/2シフトBPSKでは、誤り訂正符号化率を小さくする、すなわち、所要C/Nが小さくなる程、衛星折り返しの所要C/Nの劣化量が増大する傾向がある。
【0005】
具体的には、π/2シフトBPSKにおけるCS衛星折り返しでは、誤り訂正符号化率が109/120から61/120における所要C/Nの劣化は0.4dB以内であるが、49/120では0.7dB、41/120では1.4dBの劣化となっている。同様に、BS衛星折り返しでは、41/120では1.8dBの劣化となっている。このような衛星折り返しでの所要C/Nの劣化は、シミュレーションでの所要C/Nは、同期が確立した条件でのものであるのに対し、実機を使用する衛星折り返しでは、受信機での同期の確立が不十分であることが要因の1つであると考えられる。すなわち、所要C/Nの劣化の抑制には、受信機での同期性能の向上が重要である。
【0006】
非特許文献2には、ISDB-S3で規定されている24ビットの同期信号および同期信号に続いて伝送される32ビットのパイロット信号を利用して、56ビットの拡張同期信号を構成することで、同期性能の向上を図る技術が記載されている。
【先行技術文献】
【非特許文献】
【0007】
“高度広帯域衛星デジタル放送の伝送方式(ISDB-S3) 標準規格 ARIB STD-B44 2.1版”、[online]、平成28年3月25日改定、ARIB
Masaaki Kojima1, et al.,“INITIAL STUDY TO ENHANCE SYNCHRONIZATION PERFORMANCE OF ISDB-S3 FOR SATELLITE BROADCASTING”
【発明の概要】
【発明が解決しようとする課題】
【0008】
上述したように、所要C/Nの劣化の抑制には、受信機での同期性能の向上が重要である。非特許文献2に記載の技術では、同期信号およびパイロット信号を利用することで、既存システムとの互換性を維持しつつ、同期性能の向上を図ることができる。しかしながら、非特許文献2に記載の技術では、パイロット信号をそのまま拡張同期信号の一部として用いているため、同期性能の向上に改善の余地があった。
【0009】
本発明の目的は、上述した課題を解決し、既存システムとの互換性を維持しつつ、同期性能のさらなる向上を図ることができる送信装置およびプログラムを提供することにある。
【課題を解決するための手段】
【0010】
(1)本開示に係る送信装置は、衛星中継器を介して放送波を受信装置に送信する衛星放送システムにおける送信装置であって、前記受信装置における同期処理のための、前記衛星放送システムにおいて予め定められた同期信号に、所定のビット数の信号を付加した拡張同期信号を出力する拡張同期信号生成部と、主信号と前記拡張同期信号とを変調および多重し、前記放送波として送信する変調・多重部と、を備え、前記拡張同期信号は、任意のPN(Pseudo Noise)信号において、前記同期信号と一致する一致部分および前記一致部分に続く前記所定のビット数の拡張部分からなる信号である。
(【0011】以降は省略されています)
この特許をJ-PlatPat(特許庁公式サイト)で参照する
関連特許
日本放送協会
撮像装置
3か月前
日本放送協会
収音装置
3か月前
日本放送協会
配線構造
6か月前
日本放送協会
撮像装置
10か月前
日本放送協会
基板固定装置
3か月前
日本放送協会
撮像システム
1か月前
日本放送協会
表示システム
1か月前
日本放送協会
マイクロホン
8か月前
日本放送協会
アンテナ装置
3か月前
日本放送協会
無線通信装置
8か月前
日本放送協会
光学計測装置
9か月前
日本放送協会
光分布生成装置
3か月前
日本放送協会
磁性細線メモリ
7か月前
日本放送協会
接続用配線基板
1か月前
日本放送協会
映像伝送システム
7か月前
日本放送協会
無線伝送システム
10か月前
日本放送協会
磁性細線デバイス
10か月前
日本放送協会
広視野角撮像装置
2か月前
日本放送協会
広視野角撮像装置
2か月前
日本放送協会
角度選択フィルター
5か月前
日本放送協会
データ管理システム
10か月前
日本放送協会
3次元映像表示装置
7か月前
日本放送協会
3次元映像表示装置
3か月前
日本放送協会
良撮影位置推定装置
5か月前
日本放送協会
送信装置及び受信装置
9か月前
日本放送協会
送信装置及び受信装置
9か月前
日本放送協会
送信装置及び受信装置
3か月前
日本放送協会
撮像素子及び撮像装置
8日前
日本放送協会
送信装置及び受信装置
10か月前
日本放送協会
送信装置及び受信装置
21日前
日本放送協会
受信装置及び送出装置
12か月前
日本放送協会
受信装置及びプログラム
3か月前
日本放送協会
受信装置及びプログラム
5か月前
日本放送協会
受信装置及びプログラム
4か月前
日本放送協会
端末装置及びプログラム
11か月前
日本放送協会
縮小装置及びプログラム
4か月前
続きを見る
他の特許を見る