TOP
|
特許
|
意匠
|
商標
特許ウォッチ
Twitter
他の特許を見る
10個以上の画像は省略されています。
公開番号
2025077370
公報種別
公開特許公報(A)
公開日
2025-05-19
出願番号
2023189510
出願日
2023-11-06
発明の名称
配線構造
出願人
日本放送協会
代理人
弁理士法人磯野国際特許商標事務所
主分類
G09F
9/30 20060101AFI20250512BHJP(教育;暗号方法;表示;広告;シール)
要約
【課題】基板の上面側の薄膜トランジスタに下面側から接続する立体配線の導通不良を抑制する。
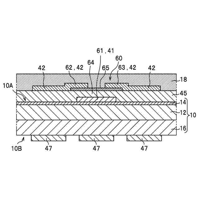
【解決手段】配線構造1は、基板10の上面に配置される第1配線層41と、第1配線層41の上面に配置され、薄膜トランジスタ60のゲート絶縁膜64となる絶縁層45と、絶縁層45の上面に配置される第2配線層42と、基板10の下面に配置される裏面配線47と、絶縁層45及び基板10の厚さ方向に配置され、第1配線層41及び第2配線層42のそれぞれを裏面配線47に接続する立体配線31、32と、を備え、第1配線層41及び第2配線層42の一方に薄膜トランジスタ60のゲート電極61が設けられ、他方に薄膜トランジスタ60のソース電極62及びドレイン電極63が設けられ、第2配線層42を裏面配線47に接続する立体配線32において、絶縁層45側の立体配線と基板10側の立体配線とが第1配線層41に設けられる中継電極35によって中継される。
【選択図】図4B
特許請求の範囲
【請求項1】
基板の上面側に配置される薄膜トランジスタに下面側から接続する配線構造であって、
前記基板の上面に配置される第1配線層と、
前記第1配線層の上面に配置され、前記薄膜トランジスタのゲート絶縁膜となる絶縁層と、
前記絶縁層の上面に配置される第2配線層と、
前記基板の下面に配置される裏面配線と、
前記絶縁層及び前記基板の厚さ方向に配置され、前記第1配線層及び前記第2配線層のそれぞれを前記裏面配線に接続する立体配線と、を備え、
前記第1配線層及び前記第2配線層の一方に前記薄膜トランジスタのゲート電極が設けられ、他方に前記薄膜トランジスタのソース電極及びドレイン電極が設けられ、
前記第2配線層を前記裏面配線に接続する立体配線において、前記絶縁層側の立体配線と前記基板側の立体配線とが前記第1配線層に設けられる中継電極によって中継される配線構造。
続きを表示(約 440 文字)
【請求項2】
前記中継電極は、前記立体配線にのみ接続されている請求項1に記載の配線構造。
【請求項3】
前記中継電極の前記絶縁層側及び前記基板側の立体配線は、平面視において重なる位置に配置されている請求項2に記載の配線構造。
【請求項4】
前記中継電極の材料は、前記第1配線層の材料と同じである請求項1に記載の配線構造。
【請求項5】
前記中継電極は、モリブデンを含む金属の積層膜で形成されている請求項1に記載の配線構造。
【請求項6】
請求項1から請求項5の何れか一項に記載の配線構造を備える画素の配線構造であって、
前記第1配線層又は前記第2配線層に前記画素における走査線、データ線、電源線及びグランド線のそれぞれが設けられ、
前記走査線、前記データ線、前記電源線及び前記グランド線の少なくとも1つは、前記中継電極によって中継される前記立体配線で前記裏面配線に接続される画素の配線構造。
発明の詳細な説明
【技術分野】
【0001】
本発明は、薄膜トランジスタを含む回路の配線構造に関する。
続きを表示(約 3,200 文字)
【背景技術】
【0002】
タイリングディスプレイは、複数のパネルユニットを並べること(タイリング)で様々なサイズや形状、アスペクト比を実現可能な表示装置である。一般的なパネルユニットの場合、その周縁部に信号配線等を形成する必要があり、周縁部の画像が表示されない領域(額縁、ベゼル)を狭くすることが難しい。そのため、パネルユニットを並べてタイリングした場合に、パネルユニット間の継ぎ目にあるベゼルが目立ってしまう。
【0003】
パネルユニットにおいて、例えば、発光素子として発光ダイオード(LED)を用いる場合には、スイッチング素子となる薄膜トランジスタ(TFT)が基板の表示面側(上面側)に形成される。近年、パネルユニットのベゼルレス化に向けて、その要素技術として、フィルム基板を用い、そのフィルム基板の裏面側から貫通孔を通した立体配線により駆動可能なTFT(立体配線TFT、非特許文献1)やTFTバックプレーンが開発されている(非特許文献2)。信号配線等をパネルユニットの裏面側に取り出すことができれば、周縁部に信号配線等を配置する必要がなくなり、ベゼルの幅を狭くして継ぎ目のない(目立たない)タイリングが可能になる。
【先行技術文献】
【非特許文献】
【0004】
H. Tsuji et al., Proceedings of the 28th International Display Workshops (IDW '21), p.143 (2021)
H. Tsuji et al., Proceedings of the 29th International Display Workshops (IDW '22), p.1055 (2022)
【0005】
例えば、パネルユニットの画素のTFTをボトムゲート型とする場合、図11に例示するように、基板910の上面に配置されているゲート電極の配線層941は、基板910をその厚さ方向に貫通する立体配線931によって基板910の裏面側(下面側)に取り出して裏面配線947に接続することができる。一方、絶縁層945の上面に配置されているソース電極及びドレイン電極の配線層942は、絶縁層945及び基板910を貫通する立体配線932によって下面側に取り出すことになる。これらの立体配線931、932を配置する貫通孔は、基板910の下面側から形成することができる。
【発明の概要】
【発明が解決しようとする課題】
【0006】
しかしながら、基板下面側からのドライエッチングによって貫通孔を形成する場合、基板910の貫通孔に比較して絶縁層945の貫通孔は形成され難い。そのため、絶縁層945を貫通する立体配線932は、絶縁層945の上面の配線層942に近い部位938で導通不良が生じ易いという問題があった。
本発明は上記事情に鑑みてなされたものであり、基板の上面側の薄膜トランジスタに下面側から接続する立体配線の導通不良を抑制する配線構造を提供することを目的とする。
【課題を解決するための手段】
【0007】
実施形態に係る配線構造は、基板の上面側に配置される薄膜トランジスタに下面側から接続する配線構造であって、前記基板の上面に配置される第1配線層と、前記第1配線層の上面に配置され、前記薄膜トランジスタのゲート絶縁膜となる絶縁層と、前記絶縁層の上面に配置される第2配線層と、前記基板の下面に配置される裏面配線と、前記絶縁層及び前記基板の厚さ方向に配置され、前記第1配線層及び前記第2配線層のそれぞれを前記裏面配線に接続する立体配線と、を備え、前記第1配線層及び前記第2配線層の一方に前記薄膜トランジスタのゲート電極が設けられ、他方に前記薄膜トランジスタのソース電極及びドレイン電極が設けられ、前記第2配線層を前記裏面配線に接続する立体配線において、前記絶縁層側の立体配線と前記基板側の立体配線とが前記第1配線層に設けられる中継電極によって中継される。
【0008】
また、実施形態に係る画素の配線構造は、実施形態に係る配線構造を備える画素の配線構造であって、前記第1配線層又は前記第2配線層に前記画素における走査線、データ線、電源線及びグランド線のそれぞれが設けられ、前記走査線、前記データ線、前記電源線及び前記グランド線の少なくとも1つは、前記中継電極によって中継される前記立体配線で前記裏面配線に接続される。
【発明の効果】
【0009】
本発明によれば、基板の上面側の薄膜トランジスタに下面側から接続する立体配線の導通不良を抑制することができる。
【図面の簡単な説明】
【0010】
実施形態に係るタイリングディスプレイを例示する斜視図である。
実施形態に係るパネルユニットを拡大して例示する平面図である。
実施形態に係る配線構造の概略を例示する平面図である。
図3AのIIIB-IIIB線における断面図である。
図3AのIIIC-IIIC線における断面図である。
実施形態に係る配線構造の概略を例示する平面図である。
図4AのIVB-IVB線における断面図である。
実施形態に係る配線構造の製造方法を例示するフローチャートである。
実施形態に係る配線構造の製造方法において、第1ガラス基板上に基材及び下地層を形成した状態を例示する断面図である。
実施形態に係る配線構造の製造方法において、第1配線層を形成した状態を例示する断面図である。
実施形態に係る配線構造の製造方法において、絶縁層を形成した状態を例示する断面図である。
実施形態に係る配線構造の製造方法において、半導体層を形成した状態を例示する断面図である。
実施形態に係る配線構造の製造方法において、上部貫通孔を形成した状態を例示する断面図である。
実施形態に係る配線構造の製造方法において、第2配線層を形成した状態を例示する断面図である。
実施形態に係る配線構造の製造方法において、保護層を形成した状態を例示する断面図である。
実施形態に係る配線構造の製造方法において、接着層を介して第2ガラス基板を貼付した状態を例示する断面図である。
実施形態に係る配線構造の製造方法において、第1ガラス基板を除去して平坦化層を形成した状態を例示する断面図である。
実施形態に係る配線構造の製造方法において、下部貫通孔を形成した状態を例示する断面図である。
実施形態に係る配線構造の製造方法において、裏面配線を形成した状態を例示する断面図である。
実施形態に係る配線構造の製造方法において、第2ガラス基板及び接着層を除去した状態を例示する断面図である。
変形例に係る配線構造の概略を例示する平面図である。
図7AのVIIB-VIIB線における断面図である。
図7AのVIIC-VIIC線における断面図である。
実施形態に係る副画素の回路を例示する回路図である。
実施形態に係る画素の配線構造を例示する平面図である。
図9AのIXB-IXB線における断面図である。
実施形態に係るパネルユニットの裏面配線の概略を例示する底面図である。
従来技術に係る配線構造の断面図である。
【発明を実施するための形態】
(【0011】以降は省略されています)
この特許をJ-PlatPat(特許庁公式サイト)で参照する
関連特許
日本放送協会
収音装置
1か月前
日本放送協会
撮像装置
1か月前
日本放送協会
撮像装置
9か月前
日本放送協会
配線構造
5か月前
日本放送協会
アンテナ装置
1か月前
日本放送協会
マイクロホン
7か月前
日本放送協会
光学計測装置
7か月前
日本放送協会
無線通信装置
6か月前
日本放送協会
基板固定装置
1か月前
日本放送協会
磁性細線メモリ
5か月前
日本放送協会
光分布生成装置
2か月前
日本放送協会
レンズアダプター
11か月前
日本放送協会
広視野角撮像装置
18日前
日本放送協会
広視野角撮像装置
18日前
日本放送協会
磁性細線デバイス
9か月前
日本放送協会
無線伝送システム
8か月前
日本放送協会
映像伝送システム
5か月前
日本放送協会
データ管理システム
8か月前
日本放送協会
3次元映像表示装置
5か月前
日本放送協会
良撮影位置推定装置
4か月前
日本放送協会
角度選択フィルター
3か月前
日本放送協会
3次元映像表示装置
1か月前
日本放送協会
送信装置及び受信装置
11か月前
日本放送協会
送信装置及び受信装置
11か月前
日本放送協会
送信装置及び受信装置
8か月前
日本放送協会
送信装置及び受信装置
1か月前
日本放送協会
受信装置及び送出装置
10か月前
日本放送協会
送信装置及び受信装置
8か月前
日本放送協会
衛星放送受信システム
11か月前
日本放送協会
送信装置及び受信装置
9か月前
日本放送協会
磁壁移動型空間光変調器
10か月前
日本放送協会
受信装置及びプログラム
2か月前
日本放送協会
縮小装置及びプログラム
2か月前
日本放送協会
端末装置及びプログラム
10か月前
日本放送協会
受信装置及びプログラム
10か月前
日本放送協会
受信装置及びプログラム
4か月前
続きを見る
他の特許を見る