TOP
|
特許
|
意匠
|
商標
特許ウォッチ
Twitter
他の特許を見る
公開番号
2025125395
公報種別
公開特許公報(A)
公開日
2025-08-27
出願番号
2024021432
出願日
2024-02-15
発明の名称
受信装置及びプログラム
出願人
日本放送協会
代理人
個人
,
個人
,
個人
,
個人
主分類
H04N
21/462 20110101AFI20250820BHJP(電気通信技術)
要約
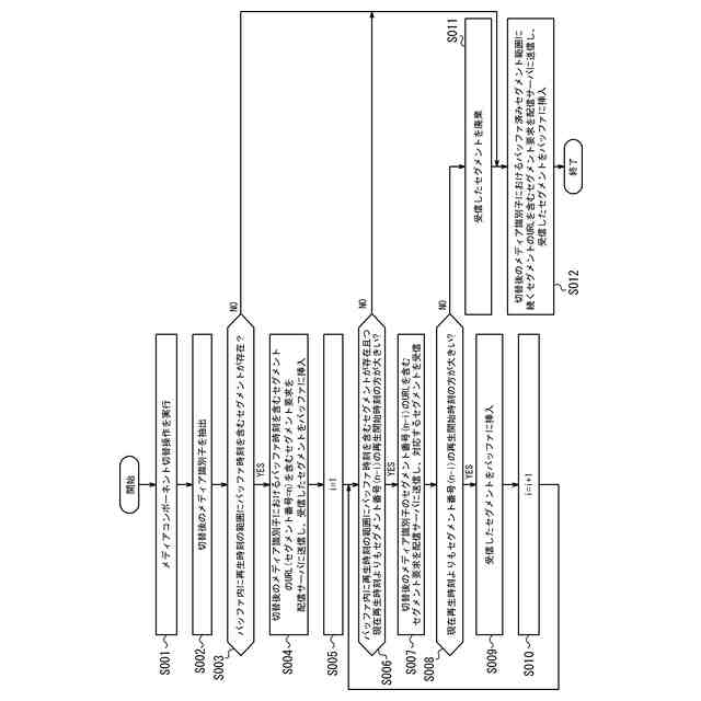
【課題】安定性を損なうことなく、映像の切替遅延を短縮する。
【解決手段】受信装置1は、受信したマニフェストファイルを解析し、メディア識別子ごとに前記セグメントの再生時刻及びURLを対応付けたセグメントURLリストを生成するマニフェスト取得部11と、メディアコンポーネントの切替指示を受け取ると、現在再生時刻に所定のバッファ規定値を加えたバッファ時刻を再生時刻の範囲に含むセグメントがバッファ15内に存在する場合には、セグメントURLリストから、メディアコンポーネントの切替後の切替後メディア識別子において、再生時刻の範囲にバッファ時刻を含むセグメントのURLを抽出するバッファ制御部14と、バッファ制御部14により抽出されたURLに基づいてセグメントを取得するセグメント取得部13と、を備える。
【選択図】図2
特許請求の範囲
【請求項1】
複数のメディアコンポーネントから構成されるコンテンツのセグメント及びマニフェストファイルを受信する受信装置であって、
前記マニフェストファイルには、各メディアコンポーネントの識別子であるメディア識別子と、セグメントの情報とが記述されており、
受信した前記マニフェストファイルを解析し、前記メディア識別子ごとに前記セグメントの再生時刻及びURLを対応付けたセグメントURLリストを生成するマニフェスト取得部と、
メディアコンポーネントの切替指示を受け取ると、現在再生時刻に所定のバッファ規定値を加えたバッファ時刻を再生時刻の範囲に含むセグメントがバッファ内に存在する場合には、前記セグメントURLリストから、メディアコンポーネントの切替後の切替後メディア識別子において、再生時刻の範囲に前記バッファ時刻を含むセグメントのURLを抽出するバッファ制御部と、
前記バッファ制御部により抽出された前記URLに基づいてセグメントを取得するセグメント取得部と、
を備える受信装置。
続きを表示(約 410 文字)
【請求項2】
前記バッファ制御部は、前記バッファ内に、再生時刻の範囲に前記バッファ時刻を含む、前記切替後メディア識別子におけるセグメント番号aのセグメントが存在し、且つ前記切替後メディア識別子におけるセグメント番号b(b<a)のセグメントの再生開始時刻が現在再生時刻よりも大きい場合には、前記セグメントURLリストから、前記切替後メディア識別子において、前記セグメント番号bのセグメントのURLを抽出する、請求項1に記載の受信装置。
【請求項3】
前記バッファ制御部は、前記切替後メディア識別子における前記セグメント番号bのセグメントを取得した時に、現在再生時刻よりも該セグメントの再生開始時刻の方が大きい場合には、該セグメントを前記バッファに上書き挿入する、請求項2に記載の受信装置。
【請求項4】
コンピュータを、請求項1に記載の受信装置として機能させるためのプログラム。
発明の詳細な説明
【技術分野】
【0001】
本発明は、受信装置及びプログラムに関する。
続きを表示(約 2,500 文字)
【背景技術】
【0002】
昨今のインターネットにおけるストリーミング動画配信では、汎用的なWebサーバによりHTTPプロトコルを用いてストリーミング配信する方式が主流となっている。このようなHTTPプロトコルによるストリーミング配信方式(アダプティブストリーミング)の一例としては、国際標準規格のMPEG-DASH(ISO/IEC23009-1)がある。
【0003】
MPEG-DASHでは、Webサーバに、初期化セグメント、メディアセグメント、及びそれらのURLや動画コンテンツの属性を記述したマニフェストファイルを用意する。メディアセグメントは、動画コンテンツを1つ又は複数の品質(画面サイズやビットレート等のパラメータ)でエンコードしたストリームをそれぞれ数秒から数十秒程度のファイルに分割したセグメントである。初期化セグメントは、各ストリームの符号化・暗号化に関する生成パラメータ等、セグメントの提示に必要なメタデータを含む。受信装置は、マニフェストファイルから当該受信装置の画面サイズや伝送路のネットワーク帯域の状態等を考慮して、適時品質を選択して次々とセグメントを受信し、1本の動画コンテンツにつなぎ合わせて再生する(例えば、非特許文献1参照)。
【0004】
受信装置においては、多くのデバイスで普及が進むWebブラウザを利用することにより、マルチデバイス(PC、テレビ受信機、タブレット端末等)に対応可能な視聴環境を構築することが可能である。ストリーミングの再生には、HTMLのビデオ要素(videoタグ)の拡張機能として、W3C(World Wide Web Consortium)で標準化されたMSE(Media Source Extensions)を利用することができる(例えば、非特許文献2参照)。MSEを用いることにより、ビデオ要素はソースとしてバッファを参照することが可能となる。そのバッファへは、Javascript(登録商標)によって受信したセグメントを挿入することができるようになることから、多様なアダプティブストリーミングの視聴をHTML5のビデオ要素とJavascriptにより実現することが可能となる。
【0005】
ここで、図6を参照してMSEのバッファモデルについて説明する。図6は、MSEのバッファモデルの一例を示す図である。バッファ(SourceBuffer)は、セグメントの再生開始時刻及び再生継続時間(セグメント長)を対応付けてセグメントを管理する。図6では、斜線の入ったブロックがセグメントを示しており、セグメントの再生開始時刻が0秒かつ再生継続時間が5秒(0≦再生時刻t<5)、セグメントの再生開始時刻が5秒かつ再生継続時間が5秒(5≦再生時刻t<10)、及びセグメントの再生開始時刻が15秒かつ再生継続時間が5秒(15≦再生時刻t<20)の3つのセグメントがバッファに挿入されている。この時、バッファのバッファリング範囲(buffered属性)は0~10秒、及び15~20秒となる。
【0006】
図7に示すように、既にセグメントが挿入されている範囲に、再生時刻tが重なる別のセグメントを挿入して上書きすることも可能である。図7では、図6に示したバッファに、新しいセグメントとして再生開始時刻が12秒かつ再生継続時間が10秒のセグメントを挿入した例を示している。その結果、12秒~22秒の範囲が新しいセグメントに差し替わるとともに、バッファリング範囲も0~10秒、及び12~22秒に更新されている。
【0007】
次に、図8を参照して、マニフェストファイルについて説明する。図8は、MPEG-DASHのマニフェスト(MPD:Media Presentation Description)形式のマニフェストファイルの概念図を示す図である。動画のストリーミングサービスの提供方法として、主映像に加えて同一コンテンツでの別角度の映像を視聴可能とするなど、複数のメディアコンポーネントから所望の映像を選択し、切替えながら視聴するサービス形態(マルチアングルサービス)が考えられる。MPEG-DASHにおいては、このようなサービスを可能とするマニフェストの記述方法が定義されている。
【0008】
MPD形式では、Period,AdaptationSet,Representationの順に階層構造となっている。Periodは、時間方向に区切られた動画コンテンツの情報を示している。図8の例では、それぞれのコンテンツ尺(duration)が300秒のPeriodが連結されていることを示している。Periodは1つ又は複数(図8の例では3つ)のAdaptationSetから構成される。
【0009】
AdaptationSetはメディアコンポーネント(映像、音声、テキスト等)の情報を示しており、同じメディア形式で表現の異なる(別角度の映像や、別言語の音声など)複数のコンポーネントを含むことができる。図8の例では、映像のコンポーネント(mimeType=video/mp4)が2つ、音声のコンポーネント(mimeType=audio/mp4)が1つである。AdaptationSetに含まれる各メディアコンポーネントの情報は、Representationで示される。Representationは1つ又は複数のセグメントで構成される。
【0010】
このようなマニフェストファイルとすることで、Periodにおいて選択されたメディアコンポーネント(AdaptationSet)を形成するセグメント(図8のInitialization Segment,Media Segment)を順次受信することが可能となるほか、メディアコンポーネントを選択し直すことにより別のメディアコンポーネントを形成するセグメントの受信に切替え、別映像を表示することが可能となる。
(【0011】以降は省略されています)
この特許をJ-PlatPat(特許庁公式サイト)で参照する
関連特許
日本放送協会
収音装置
1か月前
日本放送協会
撮像装置
1か月前
日本放送協会
配線構造
5か月前
日本放送協会
撮像装置
9か月前
日本放送協会
マイクロホン
7か月前
日本放送協会
基板固定装置
1か月前
日本放送協会
表示システム
3日前
日本放送協会
光学計測装置
7か月前
日本放送協会
アンテナ装置
2か月前
日本放送協会
無線通信装置
6か月前
日本放送協会
磁性細線メモリ
5か月前
日本放送協会
光分布生成装置
2か月前
日本放送協会
広視野角撮像装置
28日前
日本放送協会
レンズアダプター
11か月前
日本放送協会
広視野角撮像装置
28日前
日本放送協会
無線伝送システム
9か月前
日本放送協会
映像伝送システム
5か月前
日本放送協会
磁性細線デバイス
9か月前
日本放送協会
データ管理システム
9か月前
日本放送協会
3次元映像表示装置
2か月前
日本放送協会
3次元映像表示装置
5か月前
日本放送協会
角度選択フィルター
4か月前
日本放送協会
良撮影位置推定装置
4か月前
日本放送協会
受信装置及び送出装置
10か月前
日本放送協会
送信装置及び受信装置
8か月前
日本放送協会
送信装置及び受信装置
1か月前
日本放送協会
送信装置及び受信装置
9か月前
日本放送協会
送信装置及び受信装置
12か月前
日本放送協会
送信装置及び受信装置
8か月前
日本放送協会
送信装置及び受信装置
11か月前
日本放送協会
衛星放送受信システム
11か月前
日本放送協会
受信装置及びプログラム
4か月前
日本放送協会
端末装置及びプログラム
10か月前
日本放送協会
縮小装置及びプログラム
3か月前
日本放送協会
受信装置及びプログラム
2か月前
日本放送協会
受信装置及びプログラム
2か月前
続きを見る
他の特許を見る