TOP
|
特許
|
意匠
|
商標
特許ウォッチ
Twitter
他の特許を見る
10個以上の画像は省略されています。
公開番号
2025065318
公報種別
公開特許公報(A)
公開日
2025-04-17
出願番号
2025017770,2024025777
出願日
2025-02-05,2015-07-29
発明の名称
受信装置及び受信方法
出願人
パナソニックIPマネジメント株式会社
代理人
個人
,
個人
,
個人
主分類
H04N
21/434 20110101AFI20250410BHJP(電気通信技術)
要約
【課題】受信側で基準クロック情報を取得するための処理を軽減する。
【解決手段】受信装置60は、コンテンツが多重化されることで得られたTLV(Type Length Value)パケットが1以上含まれるスロットを複数格納した伝送用のフレームを復号することで複数の前記TLVパケットを取得する取得部を備え、前記伝送用のフレーム内の先頭のスロット内で先頭に位置するTLVパケットは第1の基準クロック情報を含むIP(Internet Protocol)パケットを含み、前記第1の基準クロック情報を含む前記IPパケットはヘッダ圧縮されておらず、所定のIPアドレスが付与される。
【選択図】図37
特許請求の範囲
【請求項1】
コンテンツが多重化されることで得られたTLV(Type Length Value)パケットが1以上含まれるスロットを複数格納した伝送用のフレームを復号することで複数の前記TLVパケットを取得する取得部を備え、
前記伝送用のフレーム内の先頭のスロット内で先頭に位置するTLVパケットは第1の基準クロック情報を含むIP(Internet Protocol)パケットを含み、
前記第1の基準クロック情報を含む前記IPパケットはヘッダ圧縮されておらず、所定のIPアドレスが付与される、
受信装置。
続きを表示(約 270 文字)
【請求項2】
コンテンツが多重化されることで得られたTLV(Type Length Value)パケットが1以上含まれるスロットを複数格納した伝送用のフレームを復号することで複数の前記TLVパケットを取得する取得ステップを含み、
前記伝送用のフレーム内の先頭のスロットで先頭に位置するTLVパケットは第1の基準クロック情報を含むIP(Internet Protocol)パケットを含み、
前記第1の基準クロック情報を含む前記IPパケットはヘッダ圧縮されておらず、所定のIPアドレスが付与される、
受信方法。
発明の詳細な説明
【技術分野】
【0001】
本発明は、復号装置、逆多重化装置、復号方法及び逆多重化方法に関する。
続きを表示(約 3,400 文字)
【背景技術】
【0002】
MMT(MPEG Media Transport)方式(非特許文献1参照)は、映像及び音声などのコンテンツを多重化及びパケット化し、放送または通信などの一つ以上の伝送路で送信するための多重化方式である。MMT方式を放送システムに適用する場合、送信側の基準クロック情報を受信側に送信し、受信装置では基準クロック情報を基に受信装置におけるシステムクロックを生成する。
【先行技術文献】
【非特許文献】
【0003】
Information technology - High efficiency coding and media delivery in heterogeneous environment - Part1:MPEG media transport(MMT)、ISO/IEC DIS 23008-1
ARIB標準規格 ARIB STD-B44 (2.0版)、「高度広帯域衛星デジタル放送の伝送方式」、第3章「時刻情報の伝送に関するガイドライン」
【発明の概要】
【発明が解決しようとする課題】
【0004】
送信側がMMTなどの多重化レイヤにおいて基準クロック情報の格納を行う場合、受信側で基準クロック情報を得るためには、多くの処理が必要であることが課題である。
【0005】
本発明は、受信側で基準クロック情報を取得するための処理を軽減することができる復号装置、逆多重化装置、復号方法又は逆多重化方法を提供する。
【課題を解決するための手段】
【0006】
本発明の一態様に係る受信装置は、コンテンツが多重化されることで得られたTLV(Type Length Value)パケットが1以上含まれるスロットを複数格納した伝送用のフレームを復号することで複数の前記TLVパケットを取得する取得部を備え、前記伝送用のフレーム内の先頭のスロット内で先頭に位置するTLVパケットは第1の基準クロック情報を含むIP(Internet Protocol)パケットを含み、前記第1の基準クロック情報を含む前記IPパケットはヘッダ圧縮されておらず、所定のIPアドレスが付与される。
【0007】
なお、これらの包括的または具体的な態様は、システム、装置、方法、集積回路、コンピュータプログラムまたはコンピュータ読み取り可能なCD-ROMなどの記録媒体で実現されてもよい。また、これらの包括的または具体的な態様は、システム、装置、方法、集積回路、コンピュータプログラム及び記録媒体の任意な組み合わせで実現されてもよい。
【発明の効果】
【0008】
本発明は、受信側で基準クロック情報を取得するための処理を軽減することができる復号装置、逆多重化装置、復号方法又は逆多重化方法を提供できる。
【図面の簡単な説明】
【0009】
図1は、MMT方式及び高度BS伝送方式を用いて伝送を行う場合のプロトコルスタックを示す図である。
図2は、TLVパケットのデータ構造を示す図である。
図3は、受信装置の基本構成を示すブロック図である。
図4は、MMTパケットヘッダの拡張フィールドに基準クロック情報が格納される場合の受信装置の機能構成を示すブロック図である。
図5は、MMTパケットヘッダの拡張フィールドに基準クロック情報が格納される場合の受信装置の基準クロック情報の取得フローを示す図である。
図6は、制御情報に基準クロック情報が格納される場合の受信装置の機能構成を示すブロック図である。
図7は、制御情報に基準クロック情報が格納される場合の受信装置の基準クロック情報の取得フローを示す図である。
図8は、TLVパケットに基準クロック情報が格納される場合の受信装置の構成を示すブロック図である。
図9は、ロングフォーマットNTPがTLVパケットに格納される例を示す図である。
図10は、TLVパケットに基準クロック情報が格納される場合の受信装置の基準クロック情報の取得フローを示す図である。
図11は、IPパケットのヘッダの直前に基準クロック情報が付加される構成を示す図である。
図12は、TLVパケットの直前に基準クロック情報が付加される構成を示す図である。
図13は、伝送スロットの構成を示す図である。
図14は、伝送スロットのスロットヘッダの構成を示す図である。
図15は、スロットヘッダの未定義領域にフラグが格納される例を示す図である。
図16は、高度広帯域衛星デジタル放送の伝送方式におけるTMCC制御情報の構成を示す図である。
図17は、TMCC制御情報のストリーム種別/相対ストリーム情報を示す図である。
図18は、スロットヘッダの未定義フィールドに基準クロック情報が格納される例を示す図である。
図19は、TMCC制御情報に、スロットヘッダ内に基準クロック情報を含むことを示す情報が格納される場合の受信装置の機能構成を示すブロック図である。
図20は、スロットヘッダに基準クロック情報を含むことを示す情報がTMCC制御情報に格納される場合の基準クロック情報の取得フローを示す図である。
図21は、IPパケットまたは圧縮IPパケットから特定位置のビット列を抽出する場合のフローを示す図である。
図22は、TMCC拡張情報の構成を示す図である。
図23は、このように分類された拡張種別が用いられた拡張領域のデータ構造の一例を示す図である。
図24は、拡張種別を使用する場合のシンタックスを示す図である。
図25は、実施の形態2に係る受信装置の機能構成を示すブロック図である。
図26は、実施の形態2に係る受信装置の動作フローを示す図である。
図27は、複数レイヤのそれぞれに基準クロック情報が格納される例を模式的に示す図である。
図28は、一つのレイヤに複数の基準クロック情報が格納される例を模式的に示す図である。
図29は、異なる放送局のデータがストリームに分けて格納される例を説明するためのブロック図である。
図30は、差分情報の送信方法を説明するための図である。
図31は、差分情報の送信方法の変形例を説明するための図である。
図32は、実施の形態3に係る受信装置の機能構成を示すブロック図である。
図33は、実施の形態3に係る受信装置の動作フローを示す図である。
図34は、実施の形態3に係る受信装置の別の動作フローを示す図である。
図35は、送信装置の機能構成を示すブロック図である。
図36は、送信装置の動作フローを示す図である。
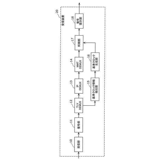
図37は、実施の形態4に係る受信装置のブロック図である。
図38は、実施の形態4に係る主信号及び基準クロック情報のタイミングを示す図である。
図39は、実施の形態4に係る復号部における動作フローを示す図である。
図40は、実施の形態4に係る受信装置における動作フローを示す図である。
図41は、実施の形態4に係る上位レイヤにおける動作フローを示す図である。
図42は、実施の形態4に係る復号装置の動作フローを示す図である。
図43は、実施の形態4に係る逆多重化装置の動作フローを示す図である。
【発明を実施するための形態】
【0010】
(本発明の基礎となった知見)
本発明は、MPEG(Moving Picture Expert Group)で規格化中のMMT方式を用いるハイブリッド配信システムにおいて、送信側から基準クロック情報を送信し、受信側で基準クロック情報を受信し、基準クロックを生成(再生)する方法及び装置に関する。
(【0011】以降は省略されています)
この特許をJ-PlatPat(特許庁公式サイト)で参照する
関連特許
個人
イヤーマフ
7日前
個人
監視カメラシステム
16日前
キーコム株式会社
光伝送線路
17日前
個人
スイッチシステム
1日前
サクサ株式会社
中継装置
23日前
サクサ株式会社
中継装置
22日前
WHISMR合同会社
収音装置
1か月前
個人
スキャン式車載用撮像装置
16日前
アイホン株式会社
電気機器
1か月前
キヤノン株式会社
撮像装置
2か月前
キヤノン電子株式会社
画像読取装置
1日前
個人
映像表示装置、及びARグラス
2日前
サクサ株式会社
無線通信装置
22日前
ヤマハ株式会社
放音制御装置
1日前
サクサ株式会社
無線システム
21日前
株式会社リコー
画像形成装置
9日前
キヤノン電子株式会社
画像読取装置
1か月前
株式会社リコー
画像形成装置
2か月前
個人
ワイヤレスイヤホン対応耳掛け
1か月前
サクサ株式会社
無線通信装置
22日前
株式会社リコー
画像形成装置
2か月前
キヤノン電子株式会社
画像読取装置
15日前
個人
発信機及び発信方法
21日前
キヤノン株式会社
撮像システム
1か月前
日本電気株式会社
海底分岐装置
17日前
キヤノン電子株式会社
画像処理システム
15日前
株式会社JVCケンウッド
通信システム
28日前
シャープ株式会社
端末装置
14日前
パテントフレア株式会社
超高速電波通信
1か月前
株式会社NTTドコモ
端末
17日前
大日本印刷株式会社
写真撮影装置
1か月前
株式会社松平商会
携帯機器カバー
1か月前
有限会社フィデリックス
マイクロフォン
28日前
株式会社NTTドコモ
端末
16日前
沖電気工業株式会社
画像形成装置
24日前
国立大学法人電気通信大学
小型光学装置
2か月前
続きを見る
他の特許を見る