TOP
|
特許
|
意匠
|
商標
特許ウォッチ
Twitter
他の特許を見る
10個以上の画像は省略されています。
公開番号
2025071828
公報種別
公開特許公報(A)
公開日
2025-05-09
出願番号
2023182175
出願日
2023-10-24
発明の名称
投影システム
出願人
日本精機株式会社
代理人
主分類
H04N
5/74 20060101AFI20250430BHJP(電気通信技術)
要約
【課題】投影表示を行う投影部や当該投影部の投影領域の切り替えを行うことで、所望の表示サイズで投影表示を行うことを可能とする投影システムを提供する。
【解決手段】車室内の所定部位に投影表示をする複数のプロジェクタ2と、プロジェクタ2を制御する制御部4と、投影表示の表示サイズを指示する操作部3と
を有する投影システム1であって、プロジェクタ2のそれぞれには、固有の第1投影領域が予め対応付けられており、制御部4は、操作部3により指示された表示サイズに応じて、複数のプロジェクタ2のうち、投影表示を行うプロジェクタ2を決定する投影部決定処理と、指示された表示サイズに応じて、前記プロジェクタ2による投影表示を行う投影表示領域を、対応する第1投影領域、当該第1投影領域とは別の第2投影領域、又は、第1投影領域及び第2投影領域の両方に決定する投影領域決定処理とを実行する。
【選択図】図1
特許請求の範囲
【請求項1】
車両の室内に設けられ、前記室内の所定部位に対し投影表示を実行可能な複数の投影部と、
前記複数の投影部を制御し、当該複数の投影部のうち少なくとも1つの投影部により、前記投影表示を行う制御部と、
前記投影表示の表示サイズを指示するための操作部と、
を有する投影システムであって、
前記複数の投影部のそれぞれには、
前記所定部位に含まれる固有の第1投影領域が予め対応付けられており、
前記制御部は、
前記操作部により指示された前記表示サイズに応じて、前記複数の投影部のうち、前記投影表示を行う前記少なくとも1つの投影部を決定する投影部決定処理と、
前記操作部により指示された前記表示サイズに応じて、前記投影部決定処理で決定された前記1つの投影部による前記投影表示を行う対象を、対応する前記第1投影領域、若しくは、前記所定部位に含まれる、前記第1投影領域とは別の第2投影領域、若しくは、前記第1投影領域及び前記第2投影領域の両方、に決定する投影領域決定処理と、
を実行することを特徴とする投影システム。
続きを表示(約 1,400 文字)
【請求項2】
前記制御部は、更に、
前記操作部により指示された前記表示サイズが、投影部切替用の第1閾値を超えているか否かを判定する第1サイズ判定処理を実行し、
前記第1サイズ判定処理において前記表示サイズが前記第1閾値を超えたと判定された場合には、前記投影部決定処理において、前記投影表示を行う前記投影部を、当該第1閾値を超える前に決定していた第1投影部から、前記第1投影部とは別の第2投影部、若しくは、前記第1投影部及び前記第2投影部の両方の併用、に切り替えて決定する
ことを特徴とする請求項1記載の投影システム。
【請求項3】
前記制御部は、更に、
前記操作部により指示された前記表示サイズが、投影領域切替用の第2閾値を超えているか否かを判定する第2サイズ判定処理を実行し、
前記第2サイズ判定処理において前記表示サイズが前記第2閾値を超えたと判定された場合に、前記投影領域決定処理において、前記投影部決定処理で決定された前記投影部による前記投影表示を行う対象を、前記第1投影領域から、前記第2投影領域に切り替えて決定する
ことを特徴とする請求項1記載の投影システム。
【請求項4】
前記制御部は、
前記投影部決定処理において、前記車内の一方側に位置する一方側投影部と、前記車内の他方側に位置する他方側投影部と、を含む前記複数の投影部を決定し、
前記一方側投影部には、前記第1投影領域として、前記所定部位中の前記一方側に位置する一方側投影領域が対応付けられており、
前記他方側投影部には、前記第1投影領域として、前記所定部位中の前記他方側に位置する他方側投影領域が対応付けられており、
前記制御部は、更に、前記投影領域決定処理において、
前記一方側投影部による前記投影表示を行う対象を、前記一方側投影領域から、前記第2投影領域としての前記他方側投影領域に切り替えて決定すると共に、
前記他方側投影部による前記投影表示を行う対象を、前記他方側投影領域から、前記第2投影領域としての前記一方側投影領域に切り替えて決定する
ことを特徴とする請求項1記載の投影システム。
【請求項5】
前記制御部は、更に、
前記操作部により指示された1つの前記投影表示に対する前記表示サイズが、合成表示用の第3閾値を超えているか否かを判定する第3サイズ判定処理と、
前記第3サイズ判定処理において前記表示サイズが前記第3閾値を超えたと判定された場合には、前記1つの投影表示を複数の表示ピースに分割する分割処理と、
を実行し、
前記投影部決定処理において、前記分割処理で生成された前記複数の表示ピースを投影可能な前記複数の投影部を決定する
ことを特徴とする請求項1乃至請求項4のいずれか1項記載の投影システム。
【請求項6】
前記複数の投影部のそれぞれが、
前記所定部位に含まれる複数の前記第1投影領域のうち、対応する前記投影部に最も近い前記第1投影領域に対応付けられており、
各投影部に係わる前記第2投影領域は、対応する前記第1投影領域の近傍に位置又は隣接して位置する領域である
ことを特徴とする請求項1記載の投影システム。
発明の詳細な説明
【技術分野】
【0001】
本発明は、乗員に対して所望の表示サイズで表示を行う投影システムに関するものである。
続きを表示(約 2,400 文字)
【背景技術】
【0002】
従来、例えば特許文献1に記載の投影型映像表示システムが知られている。この投影型映像表示システムは、所定の輝度半値角で入射光を拡散するスクリーンと、スクリーンに映像をそれぞれ投写する複数のプロジェクタとを備え、複数のプロジェクタのうち、スクリーンにおいて互いに隣接する領域に映像をそれぞれ投写する各一対のプロジェクタは、当該一対のプロジェクタとスクリーンとの間における当該一対のプロジェクタの光軸間の距離が、スクリーンに近づくにつれて次第に増大するように構成されるものである。
【先行技術文献】
【特許文献】
【0003】
特開2020-71308号公報
【発明の概要】
【発明が解決しようとする課題】
【0004】
しかしながら、上記従来の投影型映像表示システムは、例えば自動車の車内のような限られた空間においてプロジェクタからスクリーンまでの距離が短くなるため、プロジェクタから投映された映像の表示サイズを所定サイズよりも大きくするのが難しいといった問題があった。
【0005】
そこで、本発明は、上記問題点に鑑みてなされたものであり、投影表示を行う投影部や当該投影部の投影領域の切り替えを行うことで、所望の表示サイズで投影表示を行うことを可能とする投影システムを提供することを目的とする。
【課題を解決するための手段】
【0006】
本発明は、車両Cの室内に設けられ、前記室内の所定部位に対し投影表示を実行可能な複数の投影部2(2L,2R)と前記複数の投影部2を制御し、当該複数の投影部2のうち少なくとも1つの投影部2により、前記投影表示を行う制御部4と、前記投影表示の表示サイズを指示するための操作部3と、を有する投影システム1であって、前記複数の投影部2のそれぞれには、前記所定部位に含まれる固有の第1投影領域ApL,ApRが予め対応付けられており、前記制御部4は、前記操作部3により指示された前記表示サイズに応じて、前記複数の投影部2のうち、前記投影表示を行う前記少なくとも1つの投影部2を決定する投影部決定処理と、前記操作部3により指示された前記表示サイズに応じて、前記投影部決定処理で決定された前記1つの投影部2による前記投影表示を行う対象を、対応する前記第1投影領域ApL,ApR、若しくは、前記所定部位に含まれる、前記第1投影領域ApL,ApRとは別の第2投影領域ApR,ApL、若しくは、前記第1投影領域ApL,ApR及び前記第2投影領域ApR,ApLの両方、に決定する投影領域決定処理と、を実行することを特徴とする。
【発明の効果】
【0007】
本発明によれば、車室内のような限られた空間に投影表示を行う場合に、鑑賞者が所望する表示サイズで投影表示することができる。
【図面の簡単な説明】
【0008】
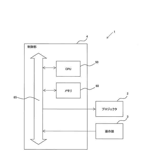
本発明の第1の実施形態に係る投影システムのシステム構成図。
本発明の第1の実施形態に係る投影システムが投影表示を行う場合の車室内の様子の一例を示す模式図。
本発明の第1の実施形態に係る投影システムにおける制御部の構成を示す機能ブロック図。
本発明の第1の実施形態に係る投影システムにおける制御部の処理を示すフローチャート。
本発明の第1の実施形態に係る投影システムにおいて第1状態の投影表示を行った場合の表示態様の一例を示す図。
本発明の第1の実施形態に係る投影システムにおいて第2状態の投影表示を行った場合の表示態様の一例を示す図。
本発明の第1の実施形態に係る投影システムにおいて第3状態の投影表示を行った場合の表示態様の一例を示す図。
本発明の第1の実施形態に係る投影システムにおいて第4状態の投影表示を行った場合の表示態様の一例を示す図。
本発明の第2の実施形態に係る投影システムにおける制御部の処理を示すフローチャート。
本発明の第2の実施形態に係る投影システムにおいて第5状態の投影表示を行った場合の表示態様の一例を示す図。
本発明の第2の実施形態に係る投影システムにおいて第6状態の投影表示を行った場合の表示態様の一例を示す図。
図11の投影表示の状態で左右の投影映像の双方の表示サイズを大きくする操作情報が入力された場合の投影表示の表示態様の一例を示す図。
本発明の第2の実施形態に係る投影システムにおいて一の投影映像の中に他の投影映像が投影表示される場合の表示態様の一例を示す図である。
【発明を実施するための形態】
【0009】
(本発明の第1の実施形態)
以下、本発明の第1の実施形態を、図1ないし図8を用いて説明する。本実施形態に係る投影システムは、車両Cの室内の所定部位に投影部により投影表示を行うものであり、当該投影表示の表示サイズの変更指示に応じて、投影部の切り替えや当該投影部が投影表示を行う投影表示領域の切り替えを制御することで、所望の表示サイズに変更するものである。
【0010】
図1は、本実施形態に係る投影システムのシステム構成図、図2は、本実施形態に係る投影システムが投影表示を行う場合の車室内の様子の一例を示す模式図である。図1及び図2において、投影システム1は、車両Cの室内の所定箇所に投影表示を行う複数のプロジェクタ2(投影部)と、プロジェクタ2の投影表示に関する制御指令を受け付ける操作部3と、投影システム1全体を制御する制御部4とを備える。プロジェクタ2は投影部の一例である。
(【0011】以降は省略されています)
この特許をJ-PlatPat(特許庁公式サイト)で参照する
関連特許
他の特許を見る