TOP
|
特許
|
意匠
|
商標
特許ウォッチ
Twitter
他の特許を見る
10個以上の画像は省略されています。
公開番号
2025081905
公報種別
公開特許公報(A)
公開日
2025-05-28
出願番号
2023194988
出願日
2023-11-16
発明の名称
電気機械変換器
出願人
リオン株式会社
代理人
個人
主分類
H04R
13/00 20060101AFI20250521BHJP(電気通信技術)
要約
【課題】構造的な配置を改良した技術を提供する。
【解決手段】電気機械変換器100は、二対のマグネット124と、マグネット124による磁束を導く一対のヨーク122と、ヨーク122及び側板126に囲まれた空間内に配置されたコイル128と、から一体的に構成される構造部120と、構造部120の空間内にコイル128を貫通して配置されたアーマチュア130と、アーマチュア130と相互に連結された状態で構造部120及びアーマチュア130を内部に収容するハウジング110,112と、から一体的に構成されるアーマチュア部と、ハウジング110,112と構造部120との間に配置された状態で双方に対し弾性復元力を付与可能とすることにより、構造部120とアーマチュア部との相対的な振動を許容する板ばね140とを備える。
【選択図】図2
特許請求の範囲
【請求項1】
対向して配置された二対の磁石と、前記磁石による磁束を導く一対のヨークと、前記ヨークに囲まれた空間内に配置された空芯コイルと、から一体的に構成される構造部と、
前記構造部の空間内に前記空芯コイルを貫通して配置されたアーマチュアと、前記アーマチュアと相互に連結されたハウジングと、から一体的に構成されるアーマチュア部と、
前記ハウジングと前記構造部との間に配置された状態で双方に対し弾性復元力を付与可能とすることにより、前記構造部と前記アーマチュア部との相対的な振動を許容する弾性部材と
を備えた電気機械変換器。
続きを表示(約 590 文字)
【請求項2】
請求項1に記載の電気機械変換器において、
前記弾性部材は、
前記構造部と前記ハウジングとの相対的な振動方向に位置する空間に配置されることを特徴とする電気機械変換器。
【請求項3】
請求項1に記載の電気機械変換器において、
前記弾性部材は、
前記構造部と前記ハウジングとの相対的な振動方向の両側に位置する各空間に配置されることを特徴とする電気機械変換器。
【請求項4】
請求項1又は3に記載の電気機械変換器において、
前記弾性部材は、
前記構造部と前記アーマチュア部との相対的な振動方向に沿って軸線が配置された複数の圧縮コイルばねで構成され、
前記構造部は、
複数の前記圧縮コイルばねの各一端部を軸線方向に受け入れ可能な複数の凹部を有しており、
複数の前記圧縮コイルばねは、
各一端部が個々の前記凹部内に受け入れられた状態で、各他端を前記ハウジングに接触させた位置に配置されることを特徴とする電気機械変換器。
【請求項5】
請求項4に記載の電気機械変換器において、
前記構造部は、
少なくとも一対の前記ヨークと一体的に連結される側板を含み、前記側板に前記凹部が形成されていることを特徴とする電気機械変換器。
発明の詳細な説明
【技術分野】
【0001】
本発明は、電気信号を機械振動に変換する電気機械変換器に関する。
続きを表示(約 1,900 文字)
【背景技術】
【0002】
この種の電気機械変換器に関する先行技術として、例えばバランスドアーマチュア型のものが知られている。バランスドアーマチュア型の電気機械変換器は、例えば二対の磁石、これら磁石による磁束を導く一対のヨーク、そして電気信号が供給される空芯コイルを一体的に配置して構造部を構成するとともに、その内部空間にアーマチュアを貫通させて配置し、アーマチュアとヨークとの間に配置した弾性部材でアーマチュアを変位可能に支持した構造が一般的である(例えば、特許文献1,2参照)。
【先行技術文献】
【特許文献】
【0003】
特許第5653543号公報
特開2018-186378号公報
【発明の概要】
【発明が解決しようとする課題】
【0004】
先行技術の構造はいずれも、構造部の内部空間に配置したアーマチュアに対する弾性部材(板ばね)の復元力を振動の両方向に与えるとともに、空間内でアーマチュアの姿勢を安定して保持できる点で有用である。その上で、電気機械変換器を他の機器(例えば音響機器)の振動子として用いる場合、先行技術の構造では、アーマチュアの復元力を与えるための板ばねの配置が振動子全体の小型化や高出力化の制約になり得るとも考えられる。
【0005】
例えば、先行技術(特許文献1)の構造では、振動子全体をアーマチュアの振動方向と垂直な方向でみた場合、板ばねを配置するための空間がある程度の大きい部分を占めることになる。このため、振動子全体としては、限られた残りの空間内でしか磁石やコイルを配置することができず、これらの配置空間を確保した上で振動子の要求仕様(出力性能)を満足するには、全体をある程度大きくせざるを得ない。逆に、振動子全体を限られた大きさに収めようとすると、上記のように振動方向と垂直な方向に関して磁石やコイルの配置空間に制約があるため、要求仕様に見合った高出力を得ることは難しくなる。
【0006】
そこで本発明は、構造的な配置を改良した技術を提供するものである。
【課題を解決するための手段】
【0007】
本発明は、電気機械変換器を提供する。電気機械変換器は、解決手段である構造部、アーマチュア部及び弾性部材を備える。構造部及びアーマチュア部は、それぞれが一体的に構成されており、これら2つの要素が弾性部材を介して相対的に振動する。本発明の電気機械変換器は、弾性部材がハウジングと構造部との間に配置されるという特徴的な構造を有している。これは、弾性部材がアーマチュアと構造部との間に配置されている先行技術の構造との特徴的な差違となる。
【0008】
すなわち、先行技術(特許文献1,2)の構造においては、構造部及びアーマチュアはハウジング内に収容されるが、いずれも弾性部材の配置は構造部とアーマチュアとの間であり、振動方向と垂直な方向では、やはり弾性部材を配置するための空間が多くを占める。
【0009】
〔基本構造〕
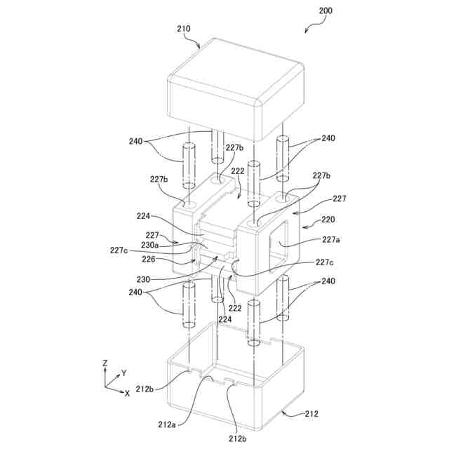
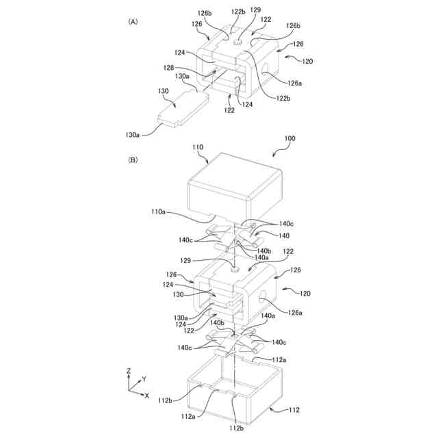
これに対し、本発明が提供する基本的な構造では、ハウジングとアーマチュアとを一体的に構成して「アーマチュア部」とし、構造上、これを「構造部」に対して相対振動する1つの要素として、弾性部材をハウジングと構造部との間に配置して双方に対し弾性復元力を付与可能とすることで「構造部」と「アーマチュア部」との相対的な振動を許容する。これにより、振動方向と垂直な方向に弾性部材を配置するための空間を設ける必要がなくなり、全体としての小型化や要求仕様に応じた高出力化を実現可能とする。なお、本発明において、ハウジングは構造部を内部に収容可能な形態であってもよいし、構造部を枠状に取り囲むことが可能な形態であってもよいし、その他の形態でもよい。
【0010】
電気機械変換器を振動子として使用する場合は、ハウジングから振動出力を取り出すことができるが、このとき、ハウジングを振動子の出力箇所(出力点)とすると、コイルへの電気信号の印加による駆動時には、ハウジングを一体の構成とするアーマチュア部に対して構造部が振動し、その反作用力がハウジングに伝わることで振動を出力することになる。このような動作原理は先行技術(特許文献1,2)の構造においても同様であり、この種の電気機械変換器では通常、ハウジングと構造部との振動方向には少なくとも最大振動変位程度の隙間が必要である。
(【0011】以降は省略されています)
この特許をJ-PlatPat(特許庁公式サイト)で参照する
関連特許
リオン株式会社
粒子計測装置及び粒子計測方法
28日前
公立大学法人奈良県立医科大学
聴覚検査システム
3か月前
個人
店内配信予約システム
2か月前
サクサ株式会社
中継装置
今日
WHISMR合同会社
収音装置
27日前
サクサ株式会社
中継装置
3か月前
キヤノン株式会社
電子機器
2か月前
キヤノン株式会社
撮像装置
1か月前
アイホン株式会社
電気機器
21日前
キヤノン電子株式会社
モバイル装置
3か月前
株式会社リコー
画像形成装置
1か月前
個人
ワイヤレスイヤホン対応耳掛け
19日前
株式会社リコー
画像形成装置
2か月前
キヤノン電子株式会社
画像読取装置
28日前
株式会社リコー
画像形成装置
1か月前
株式会社ニコン
撮像装置
2か月前
キヤノン株式会社
撮像システム
21日前
ブラザー工業株式会社
読取装置
1か月前
沖電気工業株式会社
画像形成装置
9日前
株式会社松平商会
携帯機器カバー
1か月前
株式会社JVCケンウッド
通信システム
5日前
有限会社フィデリックス
マイクロフォン
5日前
国立大学法人電気通信大学
小型光学装置
1か月前
株式会社小糸製作所
画像照射装置
1か月前
沖電気工業株式会社
画像形成装置
1日前
キヤノン電子株式会社
シート材搬送装置
1か月前
パテントフレア株式会社
水中電波通信法
2か月前
DXO株式会社
情報処理システム
2か月前
パテントフレア株式会社
超高速電波通信
1か月前
大日本印刷株式会社
写真撮影装置
20日前
日本無線株式会社
無線通信システム
13日前
個人
回動アームを構築する関節モジュール
1日前
日本無線株式会社
無線通信システム
1か月前
株式会社オーディオテクニカ
受光器
3か月前
日本無線株式会社
無線通信システム
1か月前
株式会社国際電気
遠隔監視システム
1か月前
続きを見る
他の特許を見る