TOP
|
特許
|
意匠
|
商標
特許ウォッチ
Twitter
他の特許を見る
10個以上の画像は省略されています。
公開番号
2025138482
公報種別
公開特許公報(A)
公開日
2025-09-25
出願番号
2024037599
出願日
2024-03-11
発明の名称
転写方法及び被転写体
出願人
株式会社ミマキエンジニアリング
代理人
個人
,
個人
,
個人
主分類
B44C
1/17 20060101AFI20250917BHJP(装飾技術)
要約
【課題】効率的に画像を被転写体に転写することができる転写方法を提供する。
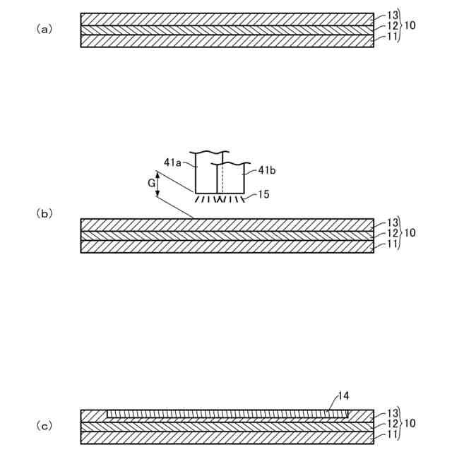
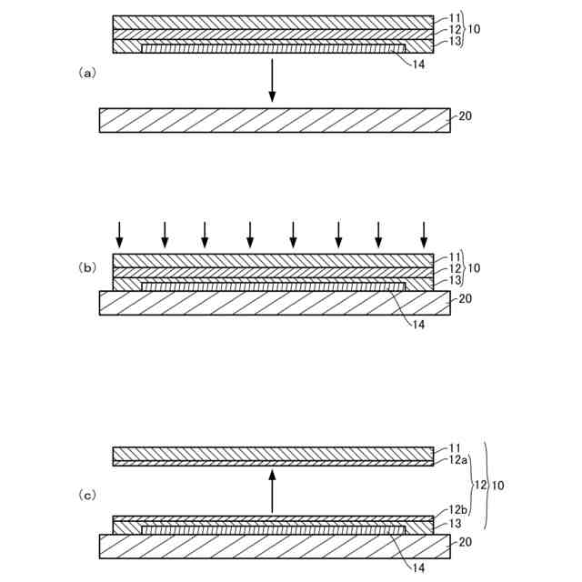
【解決手段】基層11と、ポリエチレン系樹脂を含む転写層13と、基層11と転写層13との間に形成された剥離層12と、を有する転写体10を準備する準備工程と、転写体10の転写層13に、少なくとも1種類のバインダーを含む水性顔料インクによって画像を印刷する印刷工程と、画像が印刷された転写体10と被転写体20とを重ね合わせて、熱及び圧力を掛けることで画像を被転写体20に転写する転写工程と、を備える。転写体10の転写層13の表面には、水性顔料インクが表面に溜まりやすくなる微細な凹凸が形成されている。
【選択図】図2
特許請求の範囲
【請求項1】
基層と、ポリエチレン系樹脂を含む転写層と、前記基層と前記転写層との間に形成された剥離層と、を有する転写体を準備する準備工程と、
前記転写体の前記転写層に、少なくとも1種類のバインダーを含む水性顔料インクによって画像を印刷する印刷工程と、
前記画像が印刷された前記転写体と被転写体とを重ね合わせて、熱及び圧力を掛けることで前記画像を前記被転写体に転写する転写工程と、を備える、
転写方法。
続きを表示(約 740 文字)
【請求項2】
前記転写体の前記転写層には、前記水性顔料インクが溜まりやすくなる微細な凹凸及び微細な空間が形成されている、
請求項1に記載の転写方法。
【請求項3】
前記剥離層は、前記転写層に着弾した前記水性顔料インクが前記基層へ浸透するのを防止する疎水系層から形成されている、
請求項1に記載の転写方法。
【請求項4】
前記印刷工程において吐出する前記水性顔料インクには、二次色のインクが含まれる、
請求項1に記載の転写方法。
【請求項5】
前記印刷工程により前記画像が印刷された前記転写体を、前記転写工程の前に乾燥させる乾燥工程をさらに備える、
請求項1に記載の転写方法。
【請求項6】
前記転写工程において前記転写体を前記被転写体から剥離する際に、一部の前記剥離層を前記被転写体に残存させる、
請求項1に記載の転写方法。
【請求項7】
前記印刷工程と、前記転写工程の間に、前記転写体を巻き取る巻取り工程を含む、
請求項1に記載の転写方法。
【請求項8】
前記転写工程において、前記水性顔料インクに含まれる顔料が、転写された前記転写層内に保持された状態で前記被転写体に前記転写層が付着する、
請求項1に記載の転写方法。
【請求項9】
請求項1から6の何れか1項に記載の転写方法により画像が転写された、
被転写体。
【請求項10】
前記水性顔料インクに含まれる顔料が、転写された前記転写層内に保持された状態で前記被転写体に前記転写層が付着する、
請求項9に記載の被転写体。
発明の詳細な説明
【技術分野】
【0001】
本発明は、転写方法及び被転写体に関する。
続きを表示(約 1,500 文字)
【背景技術】
【0002】
布に模様などの画像を印刷する従来技術として、引用文献1が示す昇華転写捺染法及びダイレクト昇華印刷法、DTG(Direct To Garment)、DTF(Direct To Film)印刷法、ラバー転写印刷法がある。
【0003】
昇華転写捺染法では、分散染料を用いて転写紙に反転画像を印刷し、転写紙をポリエステル生地と重ねて熱及び圧力をかけることで、転写紙から布へと画像を転写する。
【0004】
ダイレクト昇華印刷法では、転写紙を用いず、インクにじみ防止のため糊付けのコーティングを施したポリエステル生地に直接に画像を印刷し、その後、ヒーターに掛けて発色させる。
【0005】
DTG印刷法では、ガーメント等の生地に顔料インクを用いて直接画像を印刷し、ヒートプレス機等を用いて発色およびインクの定着が行われる。生地の種類又は色によっては前処理剤を塗布し、ヒートプレス機で定着させた後顔料インクを用いて印刷する。
【0006】
DTF印刷法では、プラスチックフィルムの転写体の上にカラーインクで反転画像を印刷し、画像層上にホワイトインクで隠蔽層を形成し、隠蔽層の上に接着剤としてホットメルト樹脂粉末をまぶしてから、この転写体をTシャツなどのリーフメディアと重ねて熱及び圧力をかけることで、転写体から布へと画像を転写する。その後、転写体を布から剥離する。
【0007】
ラバー転写印刷法では、一面に接着層が施され台紙(離型紙)に貼り付けられているラバーシートの他面に画像を印刷し、ラバーシートに印刷された画像よりも少し大きめに切り取ってから、印刷されてない部分(カス)を台紙から剥がす。その後、アプリケーションシートに画像の部分を貼り合わせ、台紙を剥がして、リーフメディアなどの布に接着層が接するようにラバーシートを布と重ねて熱及び少しの圧力をかけることで、ラバーシートを布に接着させて、アプリケーションシートを剥がす。
【先行技術文献】
【特許文献】
【0008】
特開2015-168705号公報
【発明の概要】
【発明が解決しようとする課題】
【0009】
昇華転写捺染法及びダイレクト昇華印刷法では、色材が分散染料に限られ他の色材を使用できず、画像を付与する布もポリエステル生地に限定されるのみならず、染料の発色や染料の布への定着のために種々の前処理及び後処理が必要となり非効率的である。また、こうした処理は多量の廃液を生じ、環境や人体に悪影響を与えかねない。特に、ダイレクト昇華印刷法の場合、ベルト搬送を用いられる装置では、生地に印刷するとインクが裏抜け(生地の裏側に染み出る)するため、ベルトの洗浄機構が必要となる。また、この場合、ベルト上に生地を密着させるために地張剤と呼ばれる薬品をベルト上に定期的塗布及び洗浄する必要があり、薬品による溶剤臭の発生、洗浄による多量の汚染水の発生は避けられない。
【0010】
DTG印刷法では、生地の種類や色によって前処理剤を塗布する必要があり、生地に前処理剤を均一に塗布できていないと、仕上がりに影響が出る場合もある。また、生地に前処理剤の塗布跡や臭いが残る場合がある。またダイレクト昇華印刷法と同じくインクの裏抜け等によりプラテンを洗浄する必要となり汚染水が発生する。このため、DTG印刷法も非効率的で環境や人体に悪影響を与えかねない。
(【0011】以降は省略されています)
この特許をJ-PlatPat(特許庁公式サイト)で参照する
関連特許
個人
粉末の清掃方法
5か月前
KLASS株式会社
壁紙糊付機
8か月前
株式会社電気印刷研究所
画像形成方法
10か月前
株式会社電気印刷研究所
箔転写物の製造方法
12か月前
株式会社タイカ
加飾物品
4か月前
個人
装飾装置
5か月前
マツダ紙工業株式会社
キャンバス
4か月前
ブラザー工業株式会社
画像形成方法
9か月前
ブラザー工業株式会社
画像形成方法
9か月前
株式会社継ぐ
装飾体及びその作製方法
10か月前
株式会社ファイン工業
透水性庭園の製造方法
13日前
大日本印刷株式会社
転写シートおよび加飾物品
7か月前
個人
立体組子構造
7か月前
日本クロージャー株式会社
接続具
3か月前
株式会社ミマキエンジニアリング
転写方法及び転写装置
2か月前
フジコピアン株式会社
紫外線レーザーによるマーク形成部材用転写シート
10か月前
京都ケミカル株式会社
装飾性小物を観賞する方法
21日前
株式会社ミマキエンジニアリング
転写方法及び被転写体
2か月前
株式会社ニッカテクノ
転写箔
5か月前
大日本印刷株式会社
転写シート、加飾成形体の製造方法および加飾成形体
8か月前
大日本印刷株式会社
転写シート、転写用基材付き樹脂成形品、及び樹脂成形品
5か月前
大日本印刷株式会社
加飾シート
27日前
株式会社タイカ
水圧転写方法、水圧転写フィルム用塗布剤及び水圧転写品
4か月前
TOPPANホールディングス株式会社
転写媒体および転写物の製造方法
3か月前
株式会社ミマキエンジニアリング
画像転写方法、非転写領域形成装置、印刷システム、及び転写媒体管理方法
1か月前
大日本印刷株式会社
転写シート、加飾成形品、及び加飾成形品の製造方法
8か月前
ローランドディー.ジー.株式会社
画像転写シートおよび画像転写方法
3か月前
クルツ スタンピング テクノロジー(ホーフェイ) カンパニー リミテッド
インサートシート、転写フィルムおよびインサートシートの製造方法
9か月前
学校法人 関西大学
錯視立体物、錯視立体物の展示装置、錯視立体物の展示方法、情報処理装置、および錯視立体物の製造方法
3か月前
レオンハード クルツ シュティフトゥング ウント コー. カーゲー
装飾箔、装飾箔の製造方法およびターゲット基板の装飾方法
1か月前
ソニーグループ株式会社
画像処理装置および方法
8か月前
パナソニックIPマネジメント株式会社
受信装置及び受信方法
7か月前
日本放送協会
符号化器、復号器、送信装置及び受信装置
1か月前
日本放送協会
送信装置およびプログラム
3か月前
クリスパー セラピューティクス アクチェンゲゼルシャフト
ユニバーサルドナー細胞
24日前
株式会社東芝
受信装置、受信方法、およびプログラム
10か月前
続きを見る
他の特許を見る