TOP
|
特許
|
意匠
|
商標
特許ウォッチ
Twitter
他の特許を見る
公開番号
2025161580
公報種別
公開特許公報(A)
公開日
2025-10-24
出願番号
2024064889
出願日
2024-04-12
発明の名称
半導体装置の製造方法及び半導体装置
出願人
株式会社東芝
,
東芝デバイス&ストレージ株式会社
代理人
弁理士法人iX
主分類
H10D
30/66 20250101AFI20251017BHJP()
要約
【課題】トレンチ底部におけるチャージトラップを抑制できる半導体装置の製造方法及び半導体装置を提供すること。
【解決手段】半導体装置の製造方法は、半導体層にトレンチとメサ部を形成する工程と、トレンチ内にフィールドプレート電極を形成する工程と、フィールドプレート電極上、メサ部上、及びメサ部の上部側壁にシリコン窒化膜を形成する工程と、シリコン窒化膜を形成した後、トレンチ内及びメサ部上に化学気相成長法によりシリコン酸化膜を形成する工程と、メサ部上のシリコン酸化膜を化学機械研磨法により除去する工程と、メサ部上のシリコン酸化膜を除去した後、メサ部の上部側壁のシリコン窒化膜及びメサ部上のシリコン窒化膜を除去する工程と、シリコン窒化膜を除去した後、トレンチ内におけるシリコン酸化膜上にゲート電極を形成する工程と、を備える。
【選択図】図5
特許請求の範囲
【請求項1】
半導体層に、トレンチと、トレンチに隣接するメサ部とを形成する工程と、
前記トレンチ内に、フィールド絶縁膜を介して、フィールドプレート電極を形成する工程と、
前記フィールドプレート電極上、前記メサ部上、及び前記フィールドプレート電極の上方の前記トレンチに隣接する前記メサ部の上部側壁に、シリコン窒化膜を形成する工程と、
前記シリコン窒化膜を形成した後、前記トレンチ内及び前記メサ部上に、化学気相成長法によりシリコン酸化膜を形成する工程と、
前記メサ部上の前記シリコン酸化膜を化学機械研磨法により除去し、前記メサ部上の前記シリコン窒化膜を露出させる工程と、
前記メサ部上の前記シリコン酸化膜を除去した後、前記メサ部の前記上部側壁の前記シリコン窒化膜、及び前記メサ部上の前記シリコン窒化膜を除去する工程と、
前記シリコン窒化膜を除去した後、前記トレンチ内における前記シリコン酸化膜上に、ゲート電極を形成する工程と、
を備える、半導体装置の製造方法。
続きを表示(約 1,200 文字)
【請求項2】
前記シリコン酸化膜を形成する工程において、前記メサ部の前記上部側壁に形成される前記シリコン酸化膜の膜厚は、前記フィールドプレート電極上に形成される前記シリコン酸化膜の膜厚よりも薄い、請求項1に記載の半導体装置の製造方法。
【請求項3】
前記シリコン窒化膜を形成する前に、前記フィールドプレート電極の上部を酸化する工程をさらに備える、請求項1または2に記載の半導体装置の製造方法。
【請求項4】
前記シリコン窒化膜を形成する前に、前記メサ部の前記上部側壁に形成された前記フィールド絶縁膜を除去する工程をさらに備える、請求項1または2に記載の半導体装置の製造方法。
【請求項5】
前記上部側壁の前記フィールド絶縁膜を除去した後、前記シリコン窒化膜を形成する前に、前記上部側壁を酸化する工程をさらに備える、請求項4に記載の半導体装置の製造方法。
【請求項6】
前記上部側壁の前記シリコン窒化膜を除去する前に、前記上部側壁の前記シリコン窒化膜に形成された前記シリコン酸化膜を除去する工程をさらに備える、請求項1または2に記載の半導体装置の製造方法。
【請求項7】
第1導電型の第1半導体層と、前記第1半導体層上に設けられた第2導電型の第2半導体層と、前記第2半導体層上に設けられ、前記第1半導体層よりも第1導電型不純物濃度が高い第1導電型の第3半導体層と、を有するメサ部と、
前記メサ部に隣接するトレンチ構造部であって、ゲート電極と、前記ゲート電極と前記第2半導体層との間に設けられたゲート絶縁膜と、前記ゲート電極の下方に位置するフィールドプレート電極と、前記フィールドプレート電極と前記ゲート電極との間に設けられた絶縁層と、前記フィールドプレート電極と前記第1半導体層との間に設けられたフィールド絶縁膜と、を有するトレンチ構造部と、
を備え、
前記絶縁層は、第1シリコン酸化膜と、シリコン窒化膜と、第2シリコン酸化膜と、を有し、
前記第1シリコン酸化膜は、前記フィールドプレート電極と前記シリコン窒化膜との間に設けられ、
前記シリコン窒化膜は、前記第1シリコン酸化膜と前記第2シリコン酸化膜との間に設けられ、
前記第2シリコン酸化膜は、前記シリコン窒化膜と前記ゲート電極との間に設けられ、
前記シリコン窒化膜の厚さは、前記第2シリコン酸化膜の厚さよりも薄く、
前記フィールド絶縁膜は、窒化シリコンを含まない、半導体装置。
【請求項8】
前記シリコン窒化膜の厚さは、前記第1シリコン酸化膜の厚さよりも薄い、請求項7に記載の半導体装置。
【請求項9】
前記シリコン窒化膜は、前記第1シリコン酸化膜上の部分の外側に凹形状の部分を有する、請求項7または8に記載の半導体装置。
発明の詳細な説明
【技術分野】
【0001】
実施形態は、半導体装置の製造方法及び半導体装置に関する。
続きを表示(約 2,000 文字)
【背景技術】
【0002】
パワーデバイスにおいて、トレンチ内にフィールドプレート電極を設け、そのフィールドプレート電極上に絶縁層を介してゲート電極を設けた構成がある。
【先行技術文献】
【特許文献】
【0003】
特許第7293159号公報
【発明の概要】
【発明が解決しようとする課題】
【0004】
実施形態は、トレンチ底部におけるチャージトラップを抑制できる半導体装置の製造方法及び半導体装置を提供する。
【課題を解決するための手段】
【0005】
実施形態によれば、半導体装置の製造方法は、半導体層に、トレンチと、トレンチに隣接するメサ部とを形成する工程と、前記トレンチ内に、フィールド絶縁膜を介して、フィールドプレート電極を形成する工程と、前記フィールドプレート電極上、前記メサ部上、及び前記フィールドプレート電極の上方の前記トレンチに隣接する前記メサ部の上部側壁に、シリコン窒化膜を形成する工程と、前記シリコン窒化膜を形成した後、前記トレンチ内及び前記メサ部上に、化学気相成長法によりシリコン酸化膜を形成する工程と、前記メサ部上の前記シリコン酸化膜を化学機械研磨法により除去し、前記メサ部上の前記シリコン窒化膜を露出させる工程と、前記メサ部上の前記シリコン酸化膜を除去した後、前記メサ部の前記上部側壁の前記シリコン窒化膜、及び前記メサ部上の前記シリコン窒化膜を除去する工程と、前記シリコン窒化膜を除去した後、前記トレンチ内における前記シリコン酸化膜上に、ゲート電極を形成する工程と、を備える。
【図面の簡単な説明】
【0006】
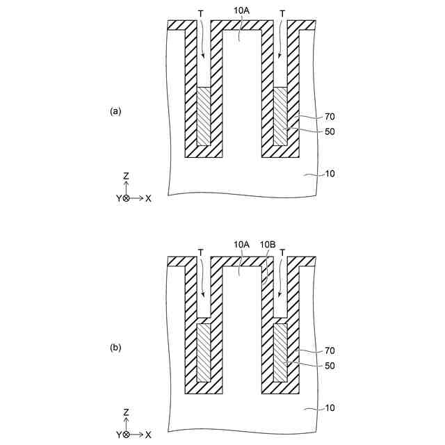
実施形態の半導体装置の模式断面図である。
(a)及び(b)は、実施形態の半導体装置の製造方法を示す模式断面図である。
(a)及び(b)は、実施形態の半導体装置の製造方法を示す模式断面図である。
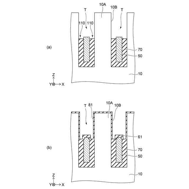
(a)及び(b)は、実施形態の半導体装置の製造方法を示す模式断面図である。
(a)及び(b)は、実施形態の半導体装置の製造方法を示す模式断面図である。
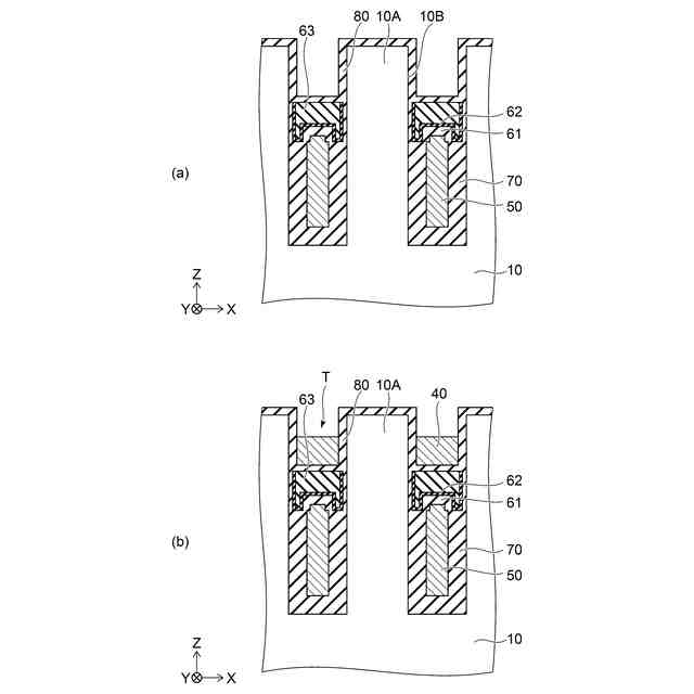
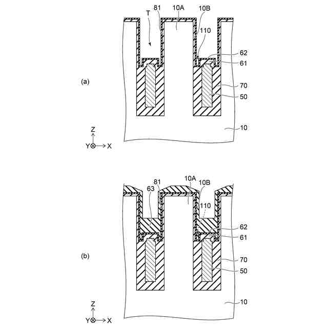
(a)及び(b)は、実施形態の半導体装置の製造方法を示す模式断面図である。
(a)及び(b)は、実施形態の半導体装置の製造方法を示す模式断面図である。
【発明を実施するための形態】
【0007】
以下、図面を参照し、実施形態について説明する。なお、各図面中、同じ構成には同じ符号を付している。以下に示す図において、X軸、Y軸、及びZ軸により方向を示す。X軸に沿う方向を第1方向Xとする。Y軸に沿う方向を第2方向Yとし、第2方向Yは第1方向Xに直交する。Z軸に沿う方向を第3方向Zとし、第3方向Zは、第1方向X及び第2方向Yに直交する。本明細書において、ある特定方向の厚さとは、その特定方向における最大厚さを表す。
【0008】
図1に示すように、実施形態の半導体装置1は、第1電極31と、第2電極32と、第3方向Zにおいて第1電極31と第2電極32との間に設けられた半導体層10とを備える。半導体装置1は、例えば、MOSFET(Metal-Oxide-Semiconductor Field Effect Transistor)構造を有する。第1電極31はMOSFETにおけるドレイン電極であり、第2電極32はMOSFETにおけるソース電極である。例えば、第1電極31に正電位が与えられ、第2電極32に0Vが与えられる。後述するゲート電極40のゲート電圧が閾値電圧より高くされたオン状態において、半導体層10を通じて、第1電極31と第2電極32との間を縦方向(第3方向Z)に電流が流れる。第3方向Zにおいて、第1電極31から第2電極32に向かう方向を上または上方とし、第2電極32から第1電極31に向かう方向を下または下方とする。
【0009】
半導体層10は、例えば、シリコン層である。本明細書において、半導体層10における第1導電型をn型、第2導電型をp型とする。なお、第1導電型はp型、第2導電型はn型であってもよい。
【0010】
半導体層10は、n型の第1半導体層11と、第1半導体層11上に設けられたp型の第2半導体層12と、第2半導体層12上に設けられたn型の第3半導体層13とを有する。第3半導体層13のn型不純物濃度は、第1半導体層11のn型不純物濃度よりも高い。また、半導体層10は、第1電極31と第1半導体層11との間に設けられたn型の第4半導体層14を有する。第4半導体層14は、第1電極31に接し、第1電極31と電気的に接続されている。
(【0011】以降は省略されています)
この特許をJ-PlatPat(特許庁公式サイト)で参照する
関連特許
株式会社東芝
端子台
23日前
株式会社東芝
電子装置
1か月前
株式会社東芝
除去装置
16日前
株式会社東芝
電子装置
1か月前
株式会社東芝
電子回路
1か月前
株式会社東芝
半導体装置
1か月前
株式会社東芝
半導体装置
1か月前
株式会社東芝
半導体装置
1か月前
株式会社東芝
半導体装置
1か月前
株式会社東芝
真空バルブ
1か月前
株式会社東芝
半導体装置
1か月前
株式会社東芝
半導体装置
1か月前
株式会社東芝
半導体装置
2日前
株式会社東芝
半導体装置
1か月前
株式会社東芝
半導体装置
1か月前
株式会社東芝
半導体装置
1か月前
株式会社東芝
半導体装置
1か月前
株式会社東芝
半導体装置
1か月前
株式会社東芝
半導体装置
1か月前
株式会社東芝
高周波回路
1か月前
株式会社東芝
半導体装置
1か月前
株式会社東芝
半導体装置
1か月前
株式会社東芝
半導体装置
1か月前
株式会社東芝
真空バルブ
1か月前
株式会社東芝
ディスク装置
15日前
株式会社東芝
重量測定装置
1か月前
株式会社東芝
補修システム
29日前
株式会社東芝
超電導コイル
1か月前
株式会社東芝
台車搬送装置
1か月前
株式会社東芝
コントローラ
1か月前
株式会社東芝
音響制御装置
1か月前
株式会社東芝
アーク溶接方法
1か月前
株式会社東芝
電気車制御装置
18日前
株式会社東芝
半導体集積回路
1か月前
株式会社東芝
半導体スイッチ
1か月前
株式会社東芝
パワーモジュール
8日前
続きを見る
他の特許を見る