TOP
|
特許
|
意匠
|
商標
特許ウォッチ
Twitter
他の特許を見る
10個以上の画像は省略されています。
公開番号
2025159850
公報種別
公開特許公報(A)
公開日
2025-10-22
出願番号
2024062663
出願日
2024-04-09
発明の名称
浸水検出構造
出願人
日東工業株式会社
代理人
弁理士法人クスノキ特許事務所
主分類
G01M
3/16 20060101AFI20251015BHJP(測定;試験)
要約
【課題】筐体内への浸水を検出する浸水検出装置を筐体へ容易に位置決め可能とし、かつ、筐体内の浸水の状況についても容易に把握することができるようにすること。
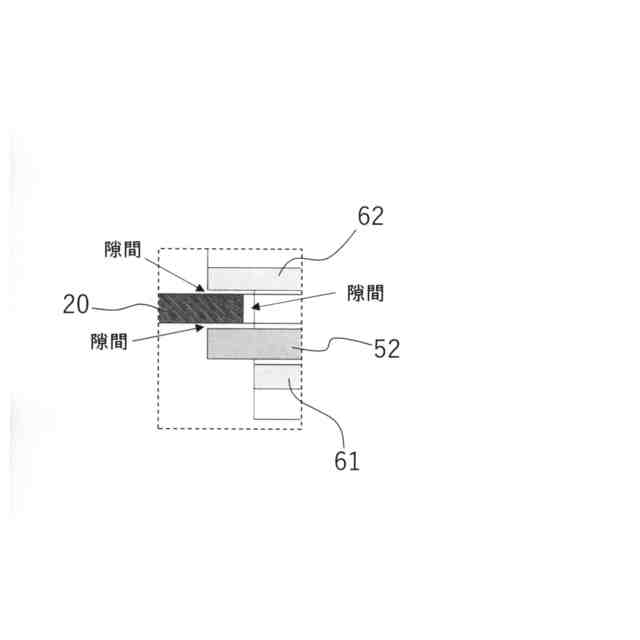
【解決手段】筐体20の内部に電気機器若しくは電子機器を収納する電気電子機器収納用箱と、水の接触の確認対象とすることが可能な第一の接触確認対象部61と第二の接触確認対象部62を有し、かつ、第一の接触確認対象部と第二の接触確認対象部の状態の検知が可能な浸水検出装置5と、を備える電気電子機器収納用箱の浸水検出構造であって、浸水検出装置が挿入された状態とすることを可能とする取り付け開口部を筐体に備え、浸水検出装置に備えられた第一の接触確認対象部が筐体の外側に位置し、浸水検出装置に備えられた第二の接触確認対象部が筐体の内側に位置するように、浸水検出装置が取り付け開口部に挿入された電気電子機器収納用箱の浸水検出構造とする。
【選択図】図4
特許請求の範囲
【請求項1】
筐体の内部に電気機器若しくは電子機器を収納する電気電子機器収納用箱と、
水の接触の確認対象とすることが可能な第一の接触確認対象部と第二の接触確認対象部を有し、かつ、第一の接触確認対象部と第二の接触確認対象部の状態の検知が可能な浸水検出装置と、
を備える電気電子機器収納用箱の浸水検出構造であって、
浸水検出装置が挿入された状態とすることを可能とする取り付け開口部を筐体に備え、
浸水検出装置に備えられた第一の接触確認対象部が筐体の外側に位置し、浸水検出装置に備えられた第二の接触確認対象部が筐体の内側に位置するように、浸水検出装置が取り付け開口部に挿入された電気電子機器収納用箱の浸水検出構造。
続きを表示(約 520 文字)
【請求項2】
筐体の外側に位置する第一の接触確認対象部の状態の情報と、筐体の内側に位置する第二の接触確認対象部の状態の情報と、を用いて、浸水状態を判定可能な判定処理部を備えた請求項1に記載の電気電子機器収納用箱の浸水検出構造。
【請求項3】
筐体の外側に位置する第一の接触確認対象部の状態の経時変化と、筐体の内側に位置する第二の接触確認対象部の状態の経時変化と、を用いて浸水状態を判定可能な判定処理部を備えた請求項1に記載の電気電子機器収納用箱の浸水検出構造。
【請求項4】
筐体の内部から取り付け開口部に挿入された浸水検出装置本体の筐体の外部に位置する部分に取り付けることで、浸水検出装置が取り付け開口部から脱落することを抑制可能な取付リングを備えた請求項1に記載の電気電子機器収納用箱の浸水検出装置。
【請求項5】
判定結果を外部に出力可能な信号出力部を備えた請求項2又は3に記載の電気電子機器収納用箱の浸水検出構造。
【請求項6】
浸水検出装置を動作させる電源部となる電池を収容可能な電池収容部を備える請求項1に記載の電気電子機器収納用箱の浸水検出構造。
発明の詳細な説明
【技術分野】
【0001】
本発明は、浸水検出構造に関するものである。
続きを表示(約 1,500 文字)
【背景技術】
【0002】
開閉器、変圧器などを搭載した分電盤や配電盤などの電気設備は浸水被害に備え、浸水対策の充実を図ることが重要である。例えば、分電盤、配電盤が浸水した際には、被災状況に応じた適切な保安が必要となる。このため、従来は、特許文献1に記載されているように、浸水検知のために分電盤や配電盤内へ冠水センサを取り付け、開閉器を遮断するなどの対応ができるようにしている。この冠水センサは、内部に可動接点を備えており、水位に応じて移動して固定接点と接触した場合に警報などを出力する。この他、内部の水圧の変化による水位を検出するフロートスイッチを設けたり、複数の温度センサを異なる位置に配置したりして、水位を検出することが知られている。
【先行技術文献】
【特許文献】
【0003】
特開2005-269848号公報
【0004】
ところで、このような冠水センサはどのように、どこの位置に設置をするかを決めるのが難しく、また、冠水センサの開閉スイッチの取り付けも難しかった。また、浸水の状況を詳細に把握するためには複数のセンサが必要になるが、それぞれのセンサをどの位置に設置するかを決定することが難しい。例えば、筐体によってセンサの位置が異なることにもなり、その態様毎に判定するための基準を設定する必要があった。
【発明の概要】
【発明が解決しようとする課題】
【0005】
本件の発明者は、この点について鋭意検討することにより解決を試みた。本発明が解決しようとする課題は、筐体内への浸水を検出する浸水検出装置を筐体へ容易に位置決め可能とし、かつ、筐体内の浸水の状況についても容易に把握することができるようにすることである。
【課題を解決するための手段】
【0006】
上記課題を解決するため、筐体の内部に電気機器若しくは電子機器を収納する電気電子機器収納用箱と、水の接触の確認対象とすることが可能な第一の接触確認対象部と第二の接触確認対象部を有し、かつ、第一の接触確認対象部と第二の接触確認対象部の状態の検知が可能な浸水検出装置と、を備える電気電子機器収納用箱の浸水検出構造であって、浸水検出装置が挿入された状態とすることを可能とする取り付け開口部を筐体に備え、浸水検出装置に備えられた第一の接触確認対象部が筐体の外側に位置し、浸水検出装置に備えられた第二の接触確認対象部が筐体の内側に位置するように、浸水検出装置が取り付け開口部に挿入された電気電子機器収納用箱の浸水検出構造とする。
【0007】
また、筐体の外側に位置する第一の接触確認対象部の状態の情報と、筐体の内側に位置する第二の接触確認対象部の状態の情報と、を用いて、浸水状態を判定可能な判定処理部を備えた構成とすることが好ましい。
【0008】
また、筐体の外側に位置する第一の接触確認対象部の状態の経時変化と、筐体の内側に位置する第二の接触確認対象部の状態の経時変化と、を用いて浸水状態を判定可能な判定処理部を備えた構成とすることが好ましい。
【0009】
また、筐体の内部から取り付け開口部に挿入された浸水検出装置本体の筐体の外部に位置する部分に取り付けることで、浸水検出装置が取り付け開口部から脱落することを抑制可能な取付リングを備えた構成とすることが好ましい。
【0010】
また、判定結果を外部に出力可能な信号出力部を備えた構成とすることが好ましい。
(【0011】以降は省略されています)
この特許をJ-PlatPat(特許庁公式サイト)で参照する
関連特許
日東工業株式会社
浸水検出構造
1か月前
日東工業株式会社
車両用充電システム
1か月前
日東工業株式会社
電気自動車用充電装置
1日前
日東工業株式会社
電気電子機器収納用箱
28日前
日東工業株式会社
電気電子機器収納用箱
1か月前
日東工業株式会社
電気自動車用充電スタンド
2日前
日東工業株式会社
開閉ユニットの異常監視システム
1日前
パナソニック株式会社
回路遮断器
1か月前
個人
採尿及び採便具
22日前
日本精機株式会社
検出装置
16日前
個人
アクセサリー型テスター
1か月前
個人
高精度同時多点測定装置
1か月前
個人
計量機能付き容器
11日前
株式会社ミツトヨ
測定器
28日前
株式会社カクマル
境界杭
1日前
甲神電機株式会社
電流検出装置
16日前
アズビル株式会社
電磁流量計
1か月前
大成建設株式会社
風洞実験装置
11日前
ダイキン工業株式会社
監視装置
1か月前
大和製衡株式会社
組合せ計量装置
25日前
日本信号株式会社
距離画像センサ
14日前
愛知時計電機株式会社
ガスメータ
28日前
長崎県
形状計測方法
1か月前
ローム株式会社
半導体装置
1か月前
双庸電子株式会社
誤配線検査装置
17日前
個人
計量具及び計量機能付き容器
11日前
個人
システム、装置及び実験方法
1か月前
大和製衡株式会社
組合せ計量装置
25日前
日本特殊陶業株式会社
ガスセンサ
9日前
愛知電機株式会社
軸部材の外観検査装置
25日前
個人
非接触による電磁パルスの測定方法
14日前
ローム株式会社
半導体装置
1か月前
日本特殊陶業株式会社
センサ
1か月前
日本特殊陶業株式会社
センサ
1か月前
キーコム株式会社
画像作成システム
1日前
株式会社デンソー
電流センサ
1か月前
続きを見る
他の特許を見る