TOP
|
特許
|
意匠
|
商標
特許ウォッチ
Twitter
他の特許を見る
10個以上の画像は省略されています。
公開番号
2025151652
公報種別
公開特許公報(A)
公開日
2025-10-09
出願番号
2024053191
出願日
2024-03-28
発明の名称
回路遮断器
出願人
パナソニック株式会社
,
日東工業株式会社
代理人
弁理士法人クスノキ特許事務所
主分類
H01H
71/10 20060101AFI20251002BHJP(基本的電気素子)
要約
【課題】クロスバーを利用せずに検知スイッチを押圧することが可能な回路遮断器とすること。
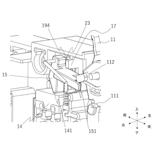
【解決手段】ハンドル部11の操作及び異常電流によるリンク機構本体部12の動作のいずれでも可動接点131を備えた可動接触子13を動作させることが可能な回路遮断器1であって、固定接点211と可動接点の接触の有無を検出可能なスイッチ部141を備える検知スイッチ14と、ハンドル部によって押圧可能な被押圧部151と、検知スイッチのスイッチ部と接触させることが可能なスイッチ操作部152と、を備えるスイッチ切替部材15と、スイッチ切替部材及びリンク機構本体部が回動可能に接続されるリンク部品23と、を備え、ハンドル部の操作、及び、異常電流によるリンク機構本体部の動作のいずれでも、スイッチ部の状態を変更させるようにスイッチ切替部材を移動させることが可能な構成とする。
【選択図】図2
特許請求の範囲
【請求項1】
ハンドル部の操作及び異常電流によるリンク機構本体部の動作のいずれでも可動接点を備えた可動接触子を動作させることが可能な回路遮断器であって、
固定接点と可動接点の接触の有無を検出可能なスイッチ部を備える検知スイッチと、
ハンドル部によって押圧可能な被押圧部と、検知スイッチのスイッチ部と接触させることが可能なスイッチ操作部と、を備えるスイッチ切替部材と、
スイッチ切替部材及びリンク機構本体部が回動可能に接続されるリンク部品と、を備え、
ハンドル部の操作、及び、異常電流によるリンク機構本体部の動作のいずれでも、スイッチ部の状態を変更させるようにスイッチ切替部材を移動させることが可能な回路遮断器。
続きを表示(約 640 文字)
【請求項2】
ハンドル部による被押圧部への押圧が解除された際にスイッチ切替部材を動かすことが可能なバネ部がスイッチ切替部材の回動中心とずらして配置され、
被押圧部への押圧を解除するようにハンドル部を動かすことで、
バネ部からスイッチ切替部材に付勢される力を用いて、検知スイッチのスイッチ部が押圧された状態を解除させるようにスイッチ切替部材を移動させることが可能となる請求項1に記載の回路遮断器。
【請求項3】
回路遮断器のケースに、スイッチ切替部材の移動方向をガイド可能なガイド部を備えた請求項2に記載の回路遮断器。
【請求項4】
電路に過電流が流れた際に可動接点を固定接点から引き外す引き外し動作を行うことが可能な引き外し装置を備え、
リンク機構本体部は引き外し装置が引き外し動作を行った場合に回動可能であり、リンク機構本体部に接続されるリンク部品の移動によりスイッチ切替部材を移動させることが可能な請求項1から3の何れかに記載の回路遮断器。
【請求項5】
固定接点と検知スイッチの間、及び、スイッチ切替部材の被押圧部とスイッチ切替部材のスイッチ操作部の間、にアークの通過を抑制可能なスイッチ保護壁部が位置する請求項1に記載の回路遮断器。
【請求項6】
スイッチ保護壁部は、スイッチ切替部材と当接することで、スイッチ切替部材の移動範囲を規制可能である請求項5に記載の回路遮断器。
発明の詳細な説明
【技術分野】
【0001】
本発明は、回路遮断器に関するものである。
続きを表示(約 1,400 文字)
【背景技術】
【0002】
回路遮断器は回路のオンオフの切り替えをなすために利用されるが、回路遮断器における回路のオンオフ等の情報を回路遮断器の外部に通知することがなされている。特許文献1に記載の回路遮断器は、このようなことを可能とするために補助スイッチと称する検知スイッチが組み込まれている。また、この文献で開示されている技術では、可動接触子を押し込むために用いるクロスバーで検知スイッチを押圧するようにしている。
【先行技術文献】
【特許文献】
【0003】
特開2016-115653号公報
【0004】
ところで、可動接触子の移動に用いるクロスバーで検知スイッチを押すような構成とすると、検知スイッチの配置がかなり限定的になる。また、全体構成についてもかなり制限が掛かる。このため、使用態様にかなり制限が掛かる。
【発明の概要】
【発明が解決しようとする課題】
【0005】
本件の発明者は、この点について鋭意検討することにより解決を試みた。本発明が解決しようとする課題は、クロスバーを利用せずに検知スイッチを押圧することが可能な回路遮断器とすることである。
【課題を解決するための手段】
【0006】
上記課題を解決するため、ハンドル部の操作及び異常電流によるリンク機構本体部の動作のいずれでも可動接点を備えた可動接触子を動作させることが可能な回路遮断器であって、固定接点と可動接点の接触の有無を検出可能なスイッチ部を備える検知スイッチと、ハンドル部によって押圧可能な被押圧部と、検知スイッチのスイッチ部と接触させることが可能なスイッチ操作部と、を備えるスイッチ切替部材と、スイッチ切替部材及びリンク機構本体部が回動可能に接続されるリンク部品と、を備え、ハンドル部の操作、及び、異常電流によるリンク機構本体部の動作のいずれでも、スイッチ部の状態を変更させるようにスイッチ切替部材を移動させることが可能な回路遮断器とする。
【0007】
また、ハンドル部による被押圧部への押圧が解除された際にスイッチ切替部材を動かすことが可能なバネ部がスイッチ切替部材の回動中心とずらして配置され、被押圧部への押圧を解除するようにハンドル部を動かすことで、バネ部からスイッチ切替部材に付勢される力を用いて、検知スイッチのスイッチ部が押圧された状態を解除させるようにスイッチ切替部材を移動させることが可能となる構成とすることが好ましい。
【0008】
また、回路遮断器のケースに、スイッチ切替部材の移動方向をガイド可能なガイド部を備えた構成とすることが好ましい。
【0009】
また、電路に過電流が流れた際に可動接点を固定接点から引き外す引き外し動作を行うことが可能な引き外し装置を備え、リンク機構本体部は引き外し装置が引き外し動作を行った場合に回動可能であり、リンク機構本体部に接続されるリンク部品の移動によりスイッチ切替部材を移動させることが可能な構成とすることが好ましい。
【0010】
また、固定接点と検知スイッチの間、及び、スイッチ切替部材の被押圧部とスイッチ切替部材のスイッチ操作部の間、にアークの通過を抑制可能なスイッチ保護壁部が位置する構成とすることが好ましい。
(【0011】以降は省略されています)
この特許をJ-PlatPat(特許庁公式サイト)で参照する
関連特許
パナソニック株式会社
工具
1日前
パナソニック株式会社
引き外し装置、回路遮断器、及び分電盤
2日前
パナソニック株式会社
スイッチモジュール、スイッチ及びスイッチ装置
1日前
パナソニック株式会社
インパクト工具、及びインパクト工具の制御方法
3日前
パナソニック株式会社
スイッチモジュール、スイッチ、及びスイッチ装置
1日前
パナソニック株式会社
アーク検出装置、分電盤システム、及び、配電システム
1日前
パナソニック株式会社
判定システム、分電盤、判定方法、プログラム、及び回路遮断器
1日前
個人
三重コイル変圧器
2日前
日機装株式会社
加圧装置
7日前
株式会社東芝
端子台
1か月前
マクセル株式会社
電源装置
1か月前
ローム株式会社
半導体装置
1日前
日新イオン機器株式会社
イオン源
7日前
ローム株式会社
半導体装置
2日前
株式会社GSユアサ
蓄電装置
1か月前
株式会社GSユアサ
蓄電装置
1か月前
株式会社GSユアサ
蓄電装置
1か月前
三菱電機株式会社
回路遮断器
1か月前
株式会社GSユアサ
蓄電装置
22日前
富士電機株式会社
電磁接触器
22日前
日本特殊陶業株式会社
保持装置
2日前
ホシデン株式会社
複合コネクタ
16日前
株式会社トクミ
ケーブル
8日前
株式会社ヨコオ
コネクタ
1日前
個人
電源ボックス及び電子機器
7日前
トヨタ自動車株式会社
蓄電装置
1か月前
株式会社東芝
電子源
7日前
大電株式会社
電線又はケーブル
14日前
日本特殊陶業株式会社
保持装置
1か月前
トヨタ自動車株式会社
蓄電装置
14日前
株式会社レゾナック
冷却器
1か月前
ヒロセ電機株式会社
電気コネクタ
22日前
甲神電機株式会社
変流器及び零相変流器
1か月前
住友電装株式会社
コネクタ
22日前
矢崎総業株式会社
バスバー
3日前
矢崎総業株式会社
コネクタ
22日前
続きを見る
他の特許を見る