TOP
|
特許
|
意匠
|
商標
特許ウォッチ
Twitter
他の特許を見る
公開番号
2025170936
公報種別
公開特許公報(A)
公開日
2025-11-20
出願番号
2024075803
出願日
2024-05-08
発明の名称
開閉ユニットの異常監視システム
出願人
日東工業株式会社
代理人
弁理士法人クスノキ特許事務所
主分類
H02H
6/00 20060101AFI20251113BHJP(電力の発電,変換,配電)
要約
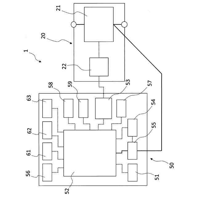
【課題】開閉部と、信号を受けることにより開閉部を開くための動作をさせる引き外し部と、を備えた開閉ユニットに、開動作に支障のある物理的な異常があるか否かを判定できるようにすること。
【解決手段】電源と負荷機器の間の電路を開閉可能な開閉部21と、開閉部を引き外すことが可能な引き外し部22と、を有する開閉ユニット20と、事象を検出可能な検出部51と、検出部が検出した事象に関連する値が所定値以上か否かを判定可能な判定部52と、前記値が所定値以上であると判定された場合に、開閉部を引き外すための信号を引き外し部に出力可能な信号出力部53と、を備えた開閉ユニットの異常監視システムであって、開閉部の二次側から判定部へ供給される電気の通電状況を監視可能な通電監視部54を備え、信号出力部から引き外し部へ信号が出力された後に、開閉部の二次側から判定部への通電の有無を確認する構成とする。
【選択図】図2
特許請求の範囲
【請求項1】
一次側に接続される電源と二次側に接続される負荷機器の間の電路を開閉可能な開閉部と、開閉部を引き外すことが可能な引き外し部と、を有する開閉ユニットと、
事象を検出可能な検出部と、
検出部が検出した事象に関連する値が所定値以上か否かを判定可能な判定部と、
前記値が所定値以上であると判定部により判定された場合に、開閉部を引き外すための信号を引き外し部に出力可能な信号出力部と、
を備えた開閉ユニットの異常監視システムであって、
開閉部の二次側から判定部へ供給される電気の通電状況を監視可能な通電監視部を備え、
信号出力部から引き外し部へ信号が出力された後に、通電監視部で、開閉部の二次側から判定部への通電の有無を確認する開閉ユニットの異常監視システム。
続きを表示(約 320 文字)
【請求項2】
信号出力部から引き外し部へ信号が出力されてから開閉部の二次側から判定部への通電の有無を確認し、
前記確認により判定部への通電が確認される場合に、再度信号出力部から引き外し部へ信号を出力し、
その後に、再び開閉部の二次側から判定部への通電の有無を確認する請求項1に記載の開閉ユニットの異常監視システム。
【請求項3】
信号出力部から引き外し部へ信号が出力されてから開閉部の二次側から判定部への通電の有無を確認し、
前記確認により判定部への通電が確認される場合に、判定部へ通電される電気の電圧が所定値未満であるか否かを確認する請求項1又は2に記載の開閉ユニットの異常監視システム。
発明の詳細な説明
【技術分野】
【0001】
本発明は、開閉ユニットの異常監視システムに関するものである。
続きを表示(約 1,700 文字)
【背景技術】
【0002】
特許文献1に記載されているように、地震発生時に設定値以上の揺れを感知したとき、ブレーカに備えられた引き外し部で開閉部を動かして遮断を行い、負荷側への給電を止める感震装置が知られている。また、正常にブレーカを遮断することを確認できるようにするため、感震装置に備えられたテストボタンが押されることなどで、ブレーカに対して信号を出力できるようにすることが知られている。テスト用の信号を受けたブレーカが遮断すれば、感震装置が正常に機能することを確認することができる。
【先行技術文献】
【特許文献】
【0003】
特開2018-057171号公報
【0004】
ところで、ブレーカ側に開動作に支障のある物理的な異常があった場合、テストボタンを押すなどして、感震装置からブレーカに対して正常に信号が出力されたとしても、ブレーカが正常に遮断されない。すると、感震装置が正常であることを確認することができない。また、このような場合、感震装置とブレーカのいずれが異常であるのかを判別することができなかった。また、感震装置以外から引き外し部に信号を送って開閉部を開く操作をするような場合も、同様の問題は起こり得る。
【発明の概要】
【発明が解決しようとする課題】
【0005】
本件の発明者は、この点について鋭意検討することにより解決を試みた。本発明が解決しようとする課題は、開閉部と、信号を受けることにより開閉部を開くための動作をさせる引き外し部と、を備えた開閉ユニットに、開動作に支障のある物理的な異常があるか否かを判定できるようにすることである。
【課題を解決するための手段】
【0006】
上記課題を解決するため、一次側に接続される電源と二次側に接続される負荷機器の間の電路を開閉可能な開閉部と、開閉部を引き外すことが可能な引き外し部と、を有する開閉ユニットと、事象を検出可能な検出部と、検出部が検出した事象に関連する値が所定値以上か否かを判定可能な判定部と、前記値が所定値以上であると判定部により判定された場合に、開閉部を引き外すための信号を引き外し部に出力可能な信号出力部と、を備えた開閉ユニットの異常監視システムであって、開閉部の二次側から判定部へ供給される電気の通電状況を監視可能な通電監視部を備え、信号出力部から引き外し部へ信号が出力された後に、通電監視部で、開閉部の二次側から判定部への通電の有無を確認する開閉ユニットの異常監視システムとする。
【0007】
また、信号出力部から引き外し部へ信号が出力されてから開閉部の二次側から判定部への通電の有無を確認し、前記確認により判定部への通電が確認される場合に、再度信号出力部から引き外し部へ信号を出力し、その後に、再び開閉部の二次側から判定部への通電の有無を確認する構成とすることが好ましい。
【0008】
また、信号出力部から引き外し部へ信号が出力されてから開閉部の二次側から判定部への通電の有無を確認し、前記確認により判定部への通電が確認される場合に、判定部へ通電される電気の電圧が所定値未満であるか否かを確認する構成とすることが好ましい。
【発明の効果】
【0009】
本発明では、開閉部と、信号を受けることにより開閉部を開くための動作をさせる引き外し部と、を備えた開閉ユニットに、開動作に支障のある物理的な異常があるか否かを判定することが可能となる。
【図面の簡単な説明】
【0010】
開閉ユニットとセンサユニットにより構成されたシステム例の実施形態の斜視図である。
実施形態におけるシステムのブロック図である。
システム利用例のフロー図である。
システム利用例のフロー図である。
システム利用例のフロー図である。
【発明を実施するための形態】
(【0011】以降は省略されています)
この特許をJ-PlatPat(特許庁公式サイト)で参照する
関連特許
日東工業株式会社
浸水検出構造
1か月前
日東工業株式会社
車両用充電システム
1か月前
日東工業株式会社
電気自動車用充電装置
1日前
日東工業株式会社
電気電子機器収納用箱
28日前
日東工業株式会社
電気電子機器収納用箱
1か月前
日東工業株式会社
電気自動車用充電スタンド
2日前
日東工業株式会社
開閉ユニットの異常監視システム
1日前
パナソニック株式会社
回路遮断器
1か月前
個人
高圧電気機器の開閉器
2日前
個人
電気を重力で発電装置
15日前
キヤノン電子株式会社
モータ
22日前
キヤノン電子株式会社
モータ
14日前
コーセル株式会社
電源装置
23日前
日星電気株式会社
ケーブル組立体
1か月前
トヨタ自動車株式会社
モータ
14日前
株式会社アイドゥス企画
減反モータ
2日前
株式会社デンソー
回転機
1か月前
株式会社kaisei
発電システム
1か月前
個人
二次電池繰返パルス放電器用印刷基板
28日前
株式会社デンソー
電力変換装置
29日前
株式会社デンソー
電力変換装置
1か月前
株式会社ミツバ
回転電機
1か月前
株式会社ダイヘン
インバータ装置
1か月前
株式会社デンソー
非接触受電装置
1か月前
矢崎総業株式会社
電源回路
1日前
トヨタ自動車株式会社
固定子の加熱装置
25日前
個人
非対称鏡像力を有する4層PWB電荷搬送体
9日前
トヨタ自動車株式会社
ステータの製造装置
15日前
日産自動車株式会社
ロータシャフト
9日前
山洋電気株式会社
モータ
28日前
日産自動車株式会社
ロータシャフト
9日前
ローム株式会社
モータドライバ回路
9日前
トヨタ紡織株式会社
ロータの製造装置
23日前
個人
電線盗難防止方法及び電線盗難防止装置
22日前
株式会社マキタ
電動作業機
22日前
トヨタ自動車株式会社
可変界磁ロータ
17日前
続きを見る
他の特許を見る