TOP
|
特許
|
意匠
|
商標
特許ウォッチ
Twitter
他の特許を見る
10個以上の画像は省略されています。
公開番号
2025170475
公報種別
公開特許公報(A)
公開日
2025-11-19
出願番号
2024075061
出願日
2024-05-07
発明の名称
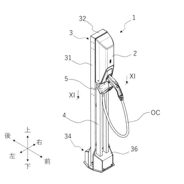
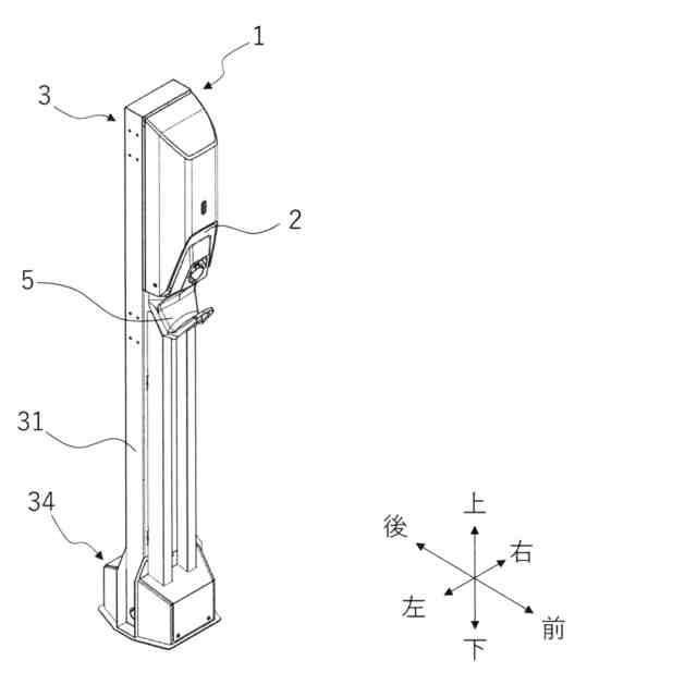
電気自動車用充電スタンド
出願人
日東工業株式会社
代理人
弁理士法人クスノキ特許事務所
主分類
H02J
7/00 20060101AFI20251112BHJP(電力の発電,変換,配電)
要約
【課題】自立スタンドに備えられた充電装置に対して入線ケーブルの取り付け又は取り外しをする場合の手間を抑制可能とすること。
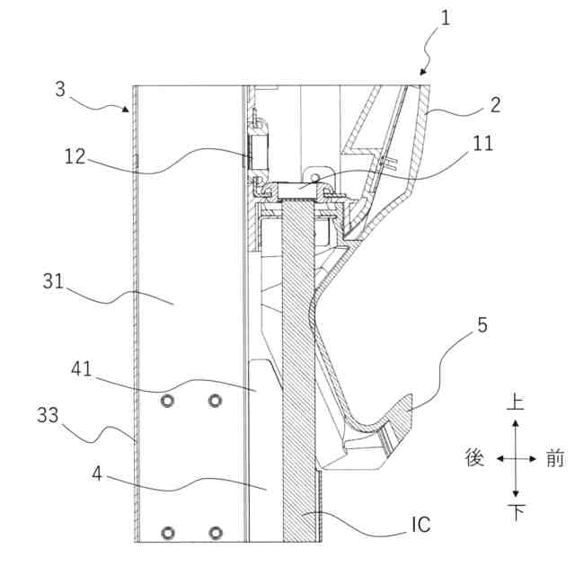
【解決手段】自立スタンド3に電気自動車への充電を行うことが可能な充電装置2が取り付けられた電気自動車用充電スタンド1であって、入線ケーブルICを挿通可能な第一の開口11を底面に備えた充電装置が、第一の開口が自立スタンドの前側かつ外側に位置するように取り付けられ、かつ、自立スタンドに対して着脱可能なカバー4を備え、カバーは、入線ケーブルの経路となる空間を充電装置より下方かつカバーの後側に確保でき、かつ、カバーの真上に入線ケーブルの経路を確保できるように、自立スタンドに取り付けられる構成とする。
【選択図】図4
特許請求の範囲
【請求項1】
自立スタンドに電気自動車への充電を行うことが可能な充電装置が取り付けられた電気自動車用充電スタンドであって、
入線ケーブルを挿通可能な第一の開口を底面に備えた充電装置が、第一の開口が自立スタンドの前側かつ外側に位置するように取り付けられ、かつ、自立スタンドに対して着脱可能なカバーを備え、
カバーは、入線ケーブルの経路となる空間を充電装置より下方かつカバーの後側に確保でき、かつ、カバーの真上に入線ケーブルの経路を確保できるように、自立スタンドに取り付けられる電気自動車用充電スタンド。
続きを表示(約 640 文字)
【請求項2】
カバーのおもて面側に、充電装置の底面から出線される出線ケーブルを通すことが可能な凹み部である表側凹み部を備え、
カバーの裏面側であって自立スタンドの外側に、入線ケーブルを通すことが可能な凹み部である裏側凹み部を備えた請求項1に記載の電気自動車用充電スタンド。
【請求項3】
カバーの裏面側に備えられた二つの裏側凹み部の間に、カバーのおもて面側に備えられた表側凹み部が位置する請求項2に記載の電気自動車用充電スタンド。
【請求項4】
充電装置から出線される出線ケーブルを保持可能なケーブル保持部材を備え、
ケーブル保持部材と自立スタンドの間の空間にカバーの一部が位置する請求項3に記載の電気自動車用充電スタンド。
【請求項5】
ケーブル保持部材の一部は、下側になるにつれて自立スタンドとの間隔が離れるように構成され、
カバーは、当該部分と隣り合う部位に、当該部分と対応する先細部を備える請求項4に記載の電気自動車用充電スタンド。
【請求項6】
自立スタンドの前側に充電装置を備えるとともに、後側に他の充電装置を備え、
自立スタンドの前側に位置する第一のカバーと、自立スタンドの後側に位置する第二のカバーと、の間に仕切部を備え、
仕切部と第一のカバーの間及び仕切部と第二のカバーの間の各々に配線空間部を備える請求項5に記載の電気自動車用充電スタンド。
発明の詳細な説明
【技術分野】
【0001】
本発明は、電気自動車用充電スタンドに関するものである。
続きを表示(約 1,200 文字)
【背景技術】
【0002】
特許文献1に記載されているように、従来、充電装置に入力される入線ケーブルは、四角い枠状の自立スタンド内に下部から導入され、自立スタンド内の下部から上部へ引き回されていた。また、自立スタンドの上部まで引き回された配線は、充電装置の取付面である背面に形成された開口を通過して充電装置内へ配線していた。
【先行技術文献】
【特許文献】
【0003】
特開2015-43667号公報
【0004】
しかしながら、自立スタンド内に導入されたケーブルの配線を自立スタンド内で行うのは大変であった。また、後に配線を追加したり交換したりする場合、自立スタンドから充電装置を外してから配線作業を行うという手間が生じることもありうる構成であった。
【発明の概要】
【発明が解決しようとする課題】
【0005】
本件の発明者は、この点について鋭意検討することにより解決を試みた。本発明が解決しようとする課題は、自立スタンドに備えられた充電装置に対して入線ケーブルの取り付け又は取り外しをする場合の手間を抑制可能とすることである。
【課題を解決するための手段】
【0006】
上記課題を解決するため、自立スタンドに電気自動車への充電を行うことが可能な充電装置が取り付けられた電気自動車用充電スタンドであって、入線ケーブルを挿通可能な第一の開口を底面に備えた充電装置が、第一の開口が自立スタンドの前側かつ外側に位置するように取り付けられ、かつ、自立スタンドに対して着脱可能なカバーを備え、カバーは、入線ケーブルの経路となる空間を充電装置より下方かつカバーの後側に確保でき、かつ、カバーの真上に入線ケーブルの経路を確保できるように、自立スタンドに取り付けられる電気自動車用充電スタンドとする。
【0007】
また、カバーのおもて面側に、充電装置の底面から出線される出線ケーブルを通すことが可能な凹み部である表側凹み部を備え、カバーの裏面側であって自立スタンドの外側に、入線ケーブルを通すことが可能な凹み部である裏側凹み部を備えた構成とすることが好ましい。
【0008】
また、カバーの裏面側に備えられた二つの裏側凹み部の間に、カバーのおもて面側に備えられた表側凹み部が位置する構成とすることが好ましい。
【0009】
また、充電装置から出線される出線ケーブルを保持可能なケーブル保持部材を備え、ケーブル保持部材と自立スタンドの間の空間にカバーの一部が位置する構成とすることが好ましい。
【0010】
また、ケーブル保持部材の一部は、下側になるにつれて自立スタンドとの間隔が離れるように構成され、カバーは、当該部分と隣り合う部位に、当該部分と対応する先細部を備える構成とすることが好ましい。
(【0011】以降は省略されています)
この特許をJ-PlatPat(特許庁公式サイト)で参照する
関連特許
日東工業株式会社
浸水検出構造
1か月前
日東工業株式会社
車両用充電システム
2か月前
日東工業株式会社
電気自動車用充電装置
21日前
日東工業株式会社
電気電子機器収納用箱
1か月前
日東工業株式会社
電気電子機器収納用箱
1か月前
日東工業株式会社
電気自動車用充電スタンド
22日前
日東工業株式会社
開閉ユニットの異常監視システム
21日前
パナソニック株式会社
回路遮断器
2か月前
個人
高圧電気機器の開閉器
22日前
個人
電気を重力で発電装置
1か月前
キヤノン電子株式会社
モータ
1か月前
キヤノン電子株式会社
モータ
1か月前
カヤバ株式会社
制御装置
今日
株式会社東光高岳
充電器
2日前
コーセル株式会社
電源装置
1か月前
東洋アルミニウム株式会社
発電体
1日前
株式会社アイドゥス企画
減反モータ
22日前
トヨタ自動車株式会社
モータ
1か月前
株式会社デンソー
端子台
15日前
株式会社デンソー
回転電機
6日前
株式会社ダイヘン
充電装置
1日前
株式会社ダイヘン
送配電装置
6日前
本田技研工業株式会社
回転電機
8日前
ローム株式会社
半導体集積回路
13日前
富士電機株式会社
電力変換装置
6日前
富士電機株式会社
電力変換装置
6日前
株式会社不二越
空冷式油圧装置
6日前
株式会社TMEIC
制御装置
14日前
矢崎総業株式会社
給電装置
14日前
株式会社東光高岳
充電対象切換システム
2日前
株式会社日立製作所
回転電機
13日前
矢崎総業株式会社
電源回路
21日前
トヨタ自動車株式会社
ステータの製造装置
1か月前
株式会社大林組
電力管理用制御装置
今日
大和ハウス工業株式会社
敷設用機器
14日前
アズビル株式会社
タービン式流量制御装置
1日前
続きを見る
他の特許を見る