TOP
|
特許
|
意匠
|
商標
特許ウォッチ
Twitter
他の特許を見る
10個以上の画像は省略されています。
公開番号
2025159774
公報種別
公開特許公報(A)
公開日
2025-10-22
出願番号
2024062520
出願日
2024-04-09
発明の名称
電気電子機器収納用箱
出願人
日東工業株式会社
代理人
弁理士法人クスノキ特許事務所
主分類
H05K
7/18 20060101AFI20251015BHJP(他に分類されない電気技術)
要約
【課題】前側に位置する扉体の一枚当たりの大きさが大きくなることを抑制しつつ、内部へのアクセスが必要な場合に使い勝手の良い電気電子機器収納用箱とすること。
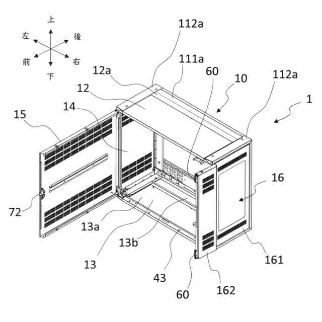
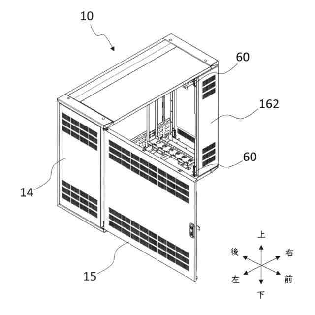
【解決手段】電気電子機器を収納可能である筐体を備えた電気電子機器収納用箱であって、筐体10の前面部の一部とすることが可能な第一の扉体15と、筐体の1つの側面部とすることが可能な側面板部161及び側面板部に蝶着される第二の扉体162を有する連結ユニット16と、を備え、連結ユニットの側面板部は、回動可能に取り付けられ、かつ、側面回動抑制部を用いて回動を抑制することが可能であり、第二の扉体は、筐体の前面部の一部とすることが可能である構成とする。
【選択図】図11
特許請求の範囲
【請求項1】
電気電子機器を収納可能である筐体を備えた電気電子機器収納用箱であって、
筐体の前面部の一部とすることが可能な第一の扉体と、
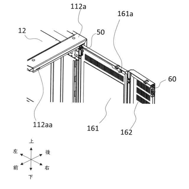
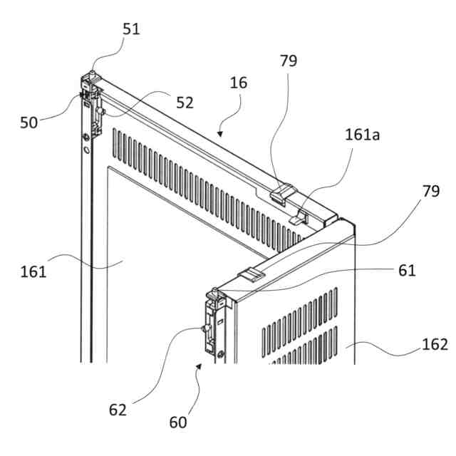
筐体の1つの側面部とすることが可能な側面板部及び側面板部に蝶着される第二の扉体を有する連結ユニットと、
を備え、
連結ユニットの側面板部は、回動可能に取り付けられ、かつ、側面回動抑制部を用いて回動を抑制することが可能であり、
第二の扉体は、筐体の前面部の一部とすることが可能である電気電子機器収納用箱。
続きを表示(約 680 文字)
【請求項2】
第二の扉体に筐体の天面又は底面と係止可能な係止部を備え、
第一の扉体に第二の扉体への係止操作を可能とするハンドルを備えた請求項1に記載の電気電子機器収納用箱。
【請求項3】
第一の扉体に筐体の天面又は底面と係止可能な係止部を備え、
第二の扉体に第一の扉体への係止操作を可能とするハンドルを備えた請求項1に記載の電気電子機器収納用箱。
【請求項4】
筐体の天面又は底面と係止可能な係止部に操作片を用いて操作可能なラッチを有する前面部用スライドラッチを備え、
第一の扉体及び第二の扉体が閉じた状態において、
前面部用スライドラッチの操作片が、ハンドルを備える扉体が位置する側に突出する請求項2又は請求項3に記載の電気電子機器収納用箱。
【請求項5】
側面板部が、操作部を用いて操作可能なヒンジピンを有するピポットヒンジを用いて筐体の後面側に取り付けられ、かつ側面回動抑制部を用いて側面板部の回動が抑制された状態において、
ピポットヒンジの操作部が前側に向けて突出する請求項4に記載の電気電子機器収納用箱。
【請求項6】
第二の扉体は、第二の扉体を閉じた状態から90度回動した状態、かつ側面回動抑制部を用いて側面板部の回動が抑制された状態において、
前側から見て第二の扉体の内側面と側面板部の内側面が重なる、または、前側から見て第二の扉体の内側面が側面板部の内側面よりも外側に位置する請求項5に記載の電気電子機器収納用箱。
発明の詳細な説明
【技術分野】
【0001】
本発明は、電気電子機器収納用箱に関するものである。
続きを表示(約 1,700 文字)
【背景技術】
【0002】
特許文献1に記載されているような電気電子機器収納用箱が知られている。特許文献1に開示された電気電子機器収納用箱は、側面板や天井板や底面板とは異なる部材で扉体を支持できるようにしており、側面板や天井板や底面板の着脱の作業性を容易にすることや、側面板や天井板や底面板の形状が複雑となることを防止することができる。より具体的には、特許文献1に開示された電気電子機器収納用箱は、背面板の一面側から突出し、先端部を開放端とした支柱を有し、かつ、支柱を上部と下部に備えることにより背面板側の部分と支柱でコ字状とした部位に側板が取り付けられる。また、支柱の先端部には扉体を支持可能な支持部を備えている。
【先行技術文献】
【特許文献】
【0003】
特開2018-207087号公報
【0004】
ところで、ユーザの要望に応じて、筐体のサイズを大きくした製品を販売することがある。例えば、幅広(横幅)のキャビネットを形成する場合、開口部を覆う扉体のサイズも幅広になる。しかしながら、扉体のサイズが幅広になると、扉体に用いられる鋼板のサイズも大きいものが必要になる。この場合、扉体の重みによる開放端側(ハンドル側)の扉下がりを考慮する必要や、扉自体の変形を考慮する必要がある。また、筐体前方向に扉体の回動のための必要な空間を確保しておく必要があるが、扉体のサイズが幅広になると、それに応じた空間を筐体の前側に確保しておかなければ、扉体を十分に開放することができない場合がある。つまり、扉体の大きさは筐体の外部空間にも影響を及ぼす。また、内部に収納する電気電子機器は点検や交換の必要も生じる。この際、内部にアクセスする経路をできるだけ広く確保できるほうがよいことがあるが、そのための作業が煩わしいと使い勝手が悪い。
【発明の概要】
【発明が解決しようとする課題】
【0005】
本件の発明者は、この点について鋭意検討することにより解決を試みた。本発明が解決しようとする課題は、前側に位置する扉体の一枚当たりの大きさが大きくなることを抑制しつつ、内部へのアクセスが必要な場合に使い勝手の良い電気電子機器収納用箱とすることである。
【課題を解決するための手段】
【0006】
上記課題を解決するため、電気電子機器を収納可能である筐体を備えた電気電子機器収納用箱であって、筐体の前面部の一部とすることが可能な第一の扉体と、筐体の1つの側面部とすることが可能な側面板部及び側面板部に蝶着される第二の扉体を有する連結ユニットと、を備え、連結ユニットの側面板部は、回動可能に取り付けられ、かつ、側面回動抑制部を用いて回動を抑制することが可能であり、第二の扉体は、筐体の前面部の一部とすることが可能である電気電子機器収納用箱とする。
【0007】
また、第二の扉体に筐体の天面又は底面と係止可能な係止部を備え、第一の扉体に第二の扉体への係止操作を可能とするハンドルを備えた構成とすることが好ましい。
【0008】
また、第一の扉体に筐体の天面又は底面と係止可能な係止部を備え、第二の扉体に第一の扉体への係止操作を可能とするハンドルを備えた構成とすることが好ましい。
【0009】
また、筐体の天面又は底面と係止可能な係止部に操作片を用いて操作可能なラッチを有する前面部用スライドラッチを備え、第一の扉体及び第二の扉体が閉じた状態において、前面部用スライドラッチの操作片が、ハンドルを備える扉体が位置する側に突出する構成とすることが好ましい。
【0010】
また、側面板部が、操作部を用いて操作可能なヒンジピンを有するピポットヒンジを用いて筐体の後面側に取り付けられ、かつ側面回動抑制部を用いて側面板部の回動が抑制された状態において、ピポットヒンジの操作部が前側に向けて突出する構成とすることが好ましい。
(【0011】以降は省略されています)
この特許をJ-PlatPat(特許庁公式サイト)で参照する
関連特許
日東工業株式会社
浸水検出構造
9日前
日東工業株式会社
電気電子機器収納用箱
7日前
日東工業株式会社
電気電子機器収納用箱
9日前
パナソニック株式会社
回路遮断器
22日前
個人
電子部品の実装方法
1か月前
日本精機株式会社
回路基板
1か月前
個人
非衝突型ガウス加速器
2か月前
愛知電機株式会社
装柱金具
22日前
個人
電気式バーナー
14日前
個人
節電材料
2か月前
イビデン株式会社
配線基板
23日前
キヤノン株式会社
電子機器
1か月前
アイホン株式会社
電気機器
2か月前
日本放送協会
基板固定装置
1か月前
アイホン株式会社
電気機器
1か月前
メクテック株式会社
配線基板
2か月前
個人
静電気中和除去装置
1日前
東レ株式会社
霧化状活性液体供給装置
2か月前
マクセル株式会社
配列用マスク
3か月前
サクサ株式会社
開き角度規制構造
21日前
株式会社レクザム
剥離装置
22日前
FDK株式会社
基板
29日前
イビデン株式会社
プリント配線板
3か月前
株式会社デンソー
電子装置
23日前
イビデン株式会社
配線基板
2か月前
サクサ株式会社
筐体の壁掛け構造
2か月前
イビデン株式会社
配線基板
1か月前
イビデン株式会社
プリント配線板
1か月前
シャープ株式会社
加熱機器
7日前
オムロン株式会社
端子折り曲げ治具
1か月前
株式会社レゾナック
冷却装置
29日前
日産自動車株式会社
電子部品
1か月前
カシン工業株式会社
PTC発熱装置
3か月前
富士フイルム株式会社
積層体
23日前
日産自動車株式会社
電子機器
3か月前
新電元工業株式会社
電子装置
1か月前
続きを見る
他の特許を見る