TOP
|
特許
|
意匠
|
商標
特許ウォッチ
Twitter
他の特許を見る
公開番号
2025159444
公報種別
公開特許公報(A)
公開日
2025-10-21
出願番号
2024061994
出願日
2024-04-08
発明の名称
希釈冷凍機及びその制御方法
出願人
大陽日酸株式会社
代理人
弁理士法人志賀国際特許事務所
主分類
F25B
9/12 20060101AFI20251014BHJP(冷凍または冷却;加熱と冷凍との組み合わせシステム;ヒートポンプシステム;氷の製造または貯蔵;気体の液化または固体化)
要約
【課題】循環するヘリウム量を容易に調整できる希釈冷凍機及びその制御方法を提供する。
【解決手段】寒冷発生部を有する機械式冷凍機20と、ヘリウムガスを圧縮する圧縮機31、前記ヘリウムガス中の不純物を除去する精製器50、前記寒冷発生部と熱交換する熱交換器33及び低温出力部となる混合室38を少なくとも有し、これらがこの順に設けられたヘリウムガスの循環経路30と、を備えている希釈冷凍機において、前記精製器が、当該精製器の温度を調整するための加熱器70を有し、前記寒冷発生部と前記精製器が熱的に接触し、前記加熱器を制御することにより、前記精製器の温度を調整し、前記精製器に吸着する前記ヘリウムガスの吸着量を調整して、前記循環経路を循環するヘリウムガスの量を調整する、希釈冷凍機の制御方法。
【選択図】図1
特許請求の範囲
【請求項1】
寒冷発生部を有する機械式冷凍機と、ヘリウムガスを圧縮する圧縮機、前記ヘリウムガス中の不純物を除去する精製器、前記寒冷発生部と熱交換する熱交換器、及び低温出力部となる混合室を少なくとも有し、これらがこの順に設けられたヘリウムガスの循環経路と、
真空断熱された内側の空間に、前記寒冷発生部、前記精製器、前記熱交換器、及び前記混合室を格納する保冷外槽と、を備えている、希釈冷凍機の制御方法であって、
前記精製器が、当該精製器の温度を調整するための加熱器を有し、
前記寒冷発生部と前記精製器が熱的に接触し、
前記加熱器が、前記精製器と前記寒冷発生部との接触部から離間した位置に設けられ、
前記加熱器を制御することにより、前記精製器の温度を調整し、前記精製器に吸着する前記ヘリウムガスの吸着量を調整して、前記循環経路を循環するヘリウムガスの量を調整する、希釈冷凍機の制御方法。
続きを表示(約 1,300 文字)
【請求項2】
前記精製器が、第1精製器と、第2精製器とを含む複数の精製器を有する、請求項1に記載の希釈冷凍機の制御方法。
【請求項3】
前記第1精製器及び前記第2精製器は、それぞれ独立に前記寒冷発生部に対して熱的に接触しており、
前記加熱器が、第1加熱器と、第2加熱器とを有し、
前記第1加熱器は、前記第1精製器において、前記第1精製器と前記寒冷発生部との接触部から離間した位置に設けられており、
前記第2加熱器は、前記第2精製器において、前記第2精製器と前記寒冷発生部との接触部から離間した位置に設けられており、
前記第1精製器の温度を略一定となるように調整し、
前記第2精製器の温度を上昇又は下降させることにより、前記第2精製器に吸着する前記ヘリウムガスの吸着量を増加又は低下させ、前記循環経路を循環するヘリウムガスの量を調整する、請求項2に記載の希釈冷凍機の制御方法。
【請求項4】
前記寒冷発生部が、第1寒冷発生部と、前記第1寒冷発生部よりも低温の寒冷を発生する第2寒冷発生部とを有し、
前記第1精製器は、前記第1寒冷発生部に対して熱的に接触しており、
前記第2精製器は、前記第2寒冷発生部に対して熱的に接触しており、
前記加熱器が、第1加熱器と、第2加熱器とを有し、
前記第1加熱器は、前記第1精製器において、前記第1精製器と前記第1寒冷発生部との接触部から離間した位置に設けられており、
前記第2加熱器は、前記第2精製器において、前記第2精製器と前記第2寒冷発生部との接触部から離間した位置に設けられており、
前記第1精製器の温度を略一定となるように調整し、
前記第2精製器の温度を上昇又は下降させることにより、前記第2精製器に吸着する前記ヘリウムガスの吸着量を増加又は低下させ、前記循環経路を循環するヘリウムガスの量を調整する、請求項2に記載の希釈冷凍機の制御方法。
【請求項5】
前記第1精製器の温度を、前記第1精製器が前記循環経路内の不純物を吸着可能であり、かつ、前記第1精製器が前記第2精製器よりもヘリウムガスを吸着し難い状態となる温度に調整する、請求項2~4の何れか一項に記載の希釈冷凍機の制御方法。
【請求項6】
寒冷発生部を有する機械式冷凍機と、ヘリウムガスを圧縮する圧縮機、前記ヘリウムガス中の不純物を除去する精製器、前記寒冷発生部と熱交換する熱交換器、及び低温出力部となる混合室を少なくとも有し、これらがこの順に設けられたヘリウムガスの循環経路と、
真空断熱された内側の空間に、前記寒冷発生部、前記精製器、前記熱交換器、及び前記混合室を格納する保冷外槽と、を備え、
前記精製器として複数の精製器を有し、各精製器は当該精製器の温度を調整するための加熱器を有し、
前記寒冷発生部と、前記複数の精製器とが、それぞれ独立に熱的に接触するとともに、
前記加熱器が、前記精製器と前記寒冷発生部との接触部から離間した位置に設けられている、希釈冷凍機。
発明の詳細な説明
【技術分野】
【0001】
本発明は、ヘリウムガスを用いた希釈冷凍機及びその制御方法に関する。
続きを表示(約 3,200 文字)
【背景技術】
【0002】
ヘリウムガスの同位体である
3
He及び
4
Heの物理的性質を利用した希釈冷凍機が知られている(例えば特許文献1)。機械式冷凍機を用いて数K程度まで予冷し、ジュール・トムソン効果で液化した
3
Heを混合室に供給し、混合室内で
3
Heを
4
Heに連続的に希釈することで、0.1K程度の極低温を達成することができる。ここで、
3
Heガスは高価なため、希釈冷凍機の循環経路内で繰り返し使用される。
【0003】
ヘリウムガスの循環ラインには、ジュール・トムソン効果を得るために例えば10
10
cm
-3
以上の高いインピーダンス(たとえば内径φ0.05のパイプ)が取り付けられる。このインピーダンス部分は4K以下の低温になるため、ヘリウム以外に、ほんのわずかの空気、水素等の不純物ガス存在すると、簡単に閉塞してしまう。
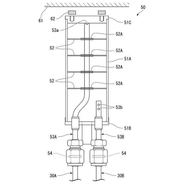
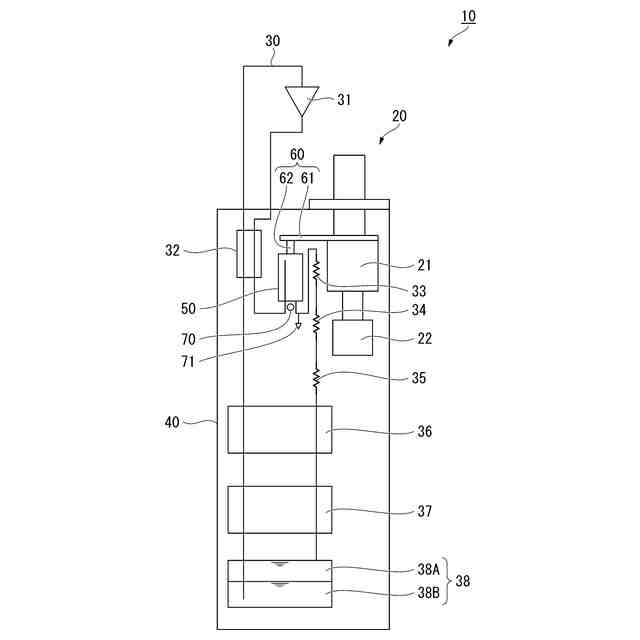
そこで、特許文献1に記載の希釈冷凍機では、不純物ガスを取り除くことを目的として、活性炭等の吸着剤を詰めた容器を機械式冷凍機の冷熱を利用して冷却し、これを精製器として機能させる構造が開示されている。
【先行技術文献】
【特許文献】
【0004】
特許第6432087号公報
【発明の概要】
【発明が解決しようとする課題】
【0005】
ヘリウム循環型の希釈冷凍機では、極低温を実現する能力を最適化するために、循環する
3
Heと
4
Heのガス比の調整や、循環するヘリウムガスの合計量の調整が必要となることがある。これらの調整方法として、ヘリウム循環経路の任意の箇所にバッファタンクを設置し、必要に応じてバッファタンクからヘリウムを放流したり貯留したりする方法がある。しかしながら、バッファタンクは大きな調整を得意とするが、微調整には必ずしも向かない。また、バッファタンクを設けることにより装置構成が複雑となったり、バッファタンクからヘリウムガスを出し入れする際に不純物が混入したりする懸念がある。
そこで、バッファタンクに頼らず、循環するヘリウムガスの量を容易に調整することが可能な方法が求められている。
【0006】
本発明は、上記事情に鑑みてなされたものであり、循環するヘリウム量を容易に調整することが可能な希釈冷凍機及びその制御方法を提供する。
【課題を解決するための手段】
【0007】
上記課題を解決するため、本発明は以下の構成を備える。
[1] 寒冷発生部を有する機械式冷凍機と、ヘリウムガスを圧縮する圧縮機、前記ヘリウムガス中の不純物を除去する精製器、前記寒冷発生部と熱交換する熱交換器、及び低温出力部となる混合室を少なくとも有し、これらがこの順に設けられたヘリウムガスの循環経路と、真空断熱された内側の空間に、前記寒冷発生部、前記精製器、前記熱交換器、及び前記混合室を格納する保冷外槽と、を備えている、希釈冷凍機の制御方法であって、前記精製器が、当該精製器の温度を調整するための加熱器を有し、前記寒冷発生部と前記精製器が熱的に接触し、前記加熱器が、前記精製器と前記寒冷発生部との接触部から離間した位置に設けられ、前記加熱器を制御することにより、前記精製器の温度を調整し、前記精製器に吸着する前記ヘリウムガスの吸着量を調整して、前記循環経路を循環するヘリウムガスの量を調整する、希釈冷凍機の制御方法。
[2] 前記精製器が、第1精製器と、第2精製器とを含む複数の精製器を有する、[1]に記載の希釈冷凍機の制御方法。
[3] 前記第1精製器及び前記第2精製器は、それぞれ独立に前記寒冷発生部に対して熱的に接触しており、前記加熱器が、第1加熱器と、第2加熱器とを有し、前記第1加熱器は、前記第1精製器において、前記第1精製器と前記寒冷発生部との接触部から離間した位置に設けられており、前記第2加熱器は、前記第2精製器において、前記第2精製器と前記寒冷発生部との接触部から離間した位置に設けられており、前記第1精製器の温度を略一定となるように調整し、前記第2精製器の温度を上昇又は下降させることにより、前記第2精製器に吸着する前記ヘリウムガスの吸着量を増加又は低下させ、前記循環経路を循環するヘリウムガスの量を調整する、請求項2に記載の希釈冷凍機の制御方法。
[4] 前記寒冷発生部が、第1寒冷発生部と、前記第1寒冷発生部よりも低温の寒冷を発生する第2寒冷発生部とを有し、前記第1精製器は、前記第1寒冷発生部に対して熱的に接触しており、前記第2精製器は、前記第2寒冷発生部に対して熱的に接触しており、前記加熱器が、第1加熱器と、第2加熱器とを有し、前記第1加熱器は、前記第1精製器において、前記第1精製器と前記第1寒冷発生部との接触部から離間した位置に設けられており、前記第2加熱器は、前記第2精製器において、前記第2精製器と前記第2寒冷発生部との接触部から離間した位置に設けられており、前記第1精製器の温度を略一定となるように調整し、前記第2精製器の温度を上昇又は下降させることにより、前記第2精製器に吸着する前記ヘリウムガスの吸着量を増加又は低下させ、前記循環経路を循環するヘリウムガスの量を調整する、[2]に記載の希釈冷凍機の制御方法。
[5] 前記第1精製器の温度を、前記第1精製器が前記循環経路内の不純物を吸着可能であり、かつ、前記第1精製器が前記第2精製器よりもヘリウムガスを吸着し難い状態となる温度に調整する、[2]~[4]の何れか一項に記載の希釈冷凍機の制御方法。
[6] 寒冷発生部を有する機械式冷凍機と、ヘリウムガスを圧縮する圧縮機、前記ヘリウムガス中の不純物を除去する精製器、前記寒冷発生部と熱交換する熱交換器、及び低温出力部となる混合室を少なくとも有し、これらがこの順に設けられたヘリウムガスの循環経路と、真空断熱された内側の空間に、前記寒冷発生部、前記精製器、前記熱交換器、及び前記混合室を格納する保冷外槽と、を備え、前記精製器として複数の精製器を有し、各精製器は当該精製器の温度を調整するための加熱器を有し、前記寒冷発生部と、前記複数の精製器とが、それぞれ独立に熱的に接触するとともに、前記加熱器が、前記精製器と前記寒冷発生部との接触部から離間した位置に設けられている、希釈冷凍機。
【発明の効果】
【0008】
本発明の希釈冷凍機及びその制御方法にあっては、バッファタンクに頼らず、循環するヘリウム量を調整することが可能であり、設置先の分析機器等の需要に合わせて長期間の連続運転が可能である。
【図面の簡単な説明】
【0009】
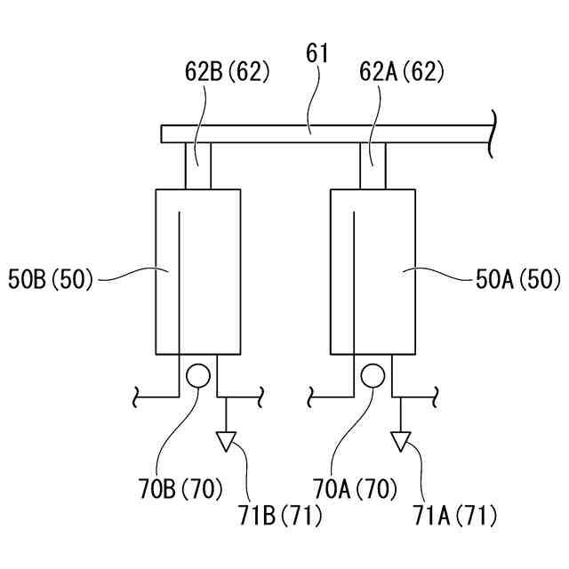
希釈冷凍機の構成の一例を示す系統図である。
希釈冷凍機が有する精製器の構成の一例を示す断面模式図である。
精製器を2つ備える場合の構成の一例を示す部分概略図である。
精製器を2つ備える場合の構成の別の一例を示す部分概略図である。
試験例の結果を示すグラフである。
試験例の結果を示すグラフである。
【発明を実施するための形態】
【0010】
以下、本発明に係る希釈冷凍機の実施形態の一例について、図面を用いて説明する。図面は、説明の便宜上特徴となる部分を拡大して示している場合があり、各構成要素の寸法比率などが実際と同じであるとは限らない。
(【0011】以降は省略されています)
この特許をJ-PlatPat(特許庁公式サイト)で参照する
関連特許
大陽日酸株式会社
ドライ洗浄装置
1か月前
大陽日酸株式会社
低温ガス発生装置
1か月前
大陽日酸株式会社
CO2の回収方法
1か月前
大陽日酸株式会社
金属積層造形方法
1か月前
大陽日酸株式会社
洗浄対象物の洗浄方法
1か月前
大陽日酸株式会社
転写型シート状接合材
19日前
大陽日酸株式会社
還元剤被覆銅ナノ粒子
25日前
大陽日酸株式会社
転写型シート状接合材
19日前
大陽日酸株式会社
酸素富化ガスの製造方法
1か月前
大陽日酸株式会社
希釈冷凍機及びその制御方法
28日前
大陽日酸株式会社
基板処理方法及び基板処理装置
13日前
大陽日酸株式会社
液分配器、充填塔及び空気分離装置
1か月前
大陽日酸株式会社
エピタキシャル膜の製造方法及び気相成長装置
28日前
大陽日酸株式会社
液化ガス充填システム及び液化ガスの充填方法
1か月前
大陽日酸株式会社
高炉シャフト部に供給する還元ガスの製造装置
1か月前
大陽日酸株式会社
還元鉄の製造システム、および還元鉄の製造方法
1か月前
大陽日酸株式会社
カバーガスの供給方法及びマグネシウム溶融装置
1か月前
大陽日酸株式会社
圧力変動吸着式ガス分離方法及び圧力変動吸着式ガス分離装置
1か月前
大陽日酸株式会社
エピタキシャル膜の製造方法、気相成長装置及びエピタキシャル膜
19日前
大陽日酸株式会社
還元鉄の製造装置、還元鉄の製造システム、および還元鉄の製造方法
1か月前
個人
高血圧治療用気体状医薬組成物
21日前
株式会社三井E&S
水素ガス製造装置、水素ガス供給装置、燃料電池システム、移動体、及び水素ガス製造方法
27日前
株式会社不二工機
膨張弁
27日前
株式会社不二工機
膨張弁
27日前
フクシマガリレイ株式会社
断熱扉
28日前
ホシザキ株式会社
冷凍装置
1か月前
富士電機株式会社
冷却装置
1か月前
富士電機株式会社
自動販売機
26日前
フクシマガリレイ株式会社
冷却貯蔵庫
21日前
ダイキン工業株式会社
冷凍装置
1か月前
フクシマガリレイ株式会社
冷却貯蔵庫
1か月前
株式会社ゼロカラ
冷凍装置
6日前
株式会社ゼロカラ
冷凍装置
6日前
フクシマガリレイ株式会社
ショーケース
1か月前
ダイキン工業株式会社
冷媒充填方法
1か月前
アクア株式会社
冷蔵庫
1か月前
続きを見る
他の特許を見る