TOP
|
特許
|
意匠
|
商標
特許ウォッチ
Twitter
他の特許を見る
公開番号
2025119436
公報種別
公開特許公報(A)
公開日
2025-08-14
出願番号
2024014321
出願日
2024-02-01
発明の名称
計器用変成装置、ガス絶縁開閉設備、および取外方法
出願人
日新電機株式会社
代理人
弁理士法人 HARAKENZO WORLD PATENT & TRADEMARK
主分類
H02B
13/035 20060101AFI20250806BHJP(電力の発電,変換,配電)
要約
【課題】計器用変成装置から母線を容易に取り外す。
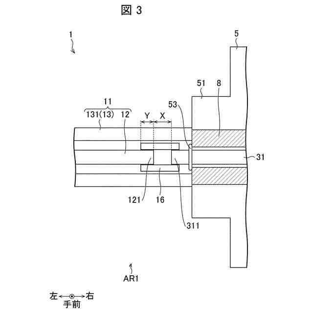
【解決手段】計器用変成装置(1)は、第1内側導体(12)および第1外側導体(13)を有する第1往復母線(11)と、第1往復母線(11)の両端部のそれぞれに位置する接触子(16)と、を備える。第1内側導体(12)と第2外側導体(32)とが接触子(16)の内部に挿入されて固定されている状態において、第1内側導体端部(121)と第2内側導体端部(311)との距離(Y)は、第1内側導体(12)の、接触子(16)の内部への挿入部分の長さ(X)よりも大きい。
【選択図】図3
特許請求の範囲
【請求項1】
電圧および電流を変成する計器用変成器と、
前記計器用変成器と電気的に接続され、第1内側導体と、当該第1内側導体の周囲に位置する第1外側導体とを有する第1往復母線と、
前記第1往復母線の両端部のそれぞれに位置し、(1)前記第1内側導体と、(2)第2内側導体と、当該第2内側導体の周囲に位置する第2外側導体とを有する第2往復母線における前記第2内側導体と、を電気的に接続する接触子と、を備え、
前記第1内側導体と前記第2内側導体とが前記接触子の内部に挿入されて固定されている状態において、前記接触子の内部での前記第1内側導体の端部と前記第2内側導体の端部との間の距離は、前記第1内側導体の、前記接触子の内部への挿入部分の長さよりも大きい、計器用変成装置。
続きを表示(約 1,300 文字)
【請求項2】
前記第1往復母線は、前記第1外側導体を複数備え、
複数の前記第1外側導体のうち、前記第1往復母線の両端部のそれぞれに位置する第1外側導体は、非固定状態において、前記第1往復母線の中央に向かって移動可能に設置されている、請求項1に記載の計器用変成装置。
【請求項3】
請求項1または2に記載の計器用変成装置と、
前記第2往復母線と、
前記第1往復母線および前記第2往復母線を介して、前記計器用変成器と電気的に接続されるガス絶縁開閉装置と、を備える、ガス絶縁開閉設備。
【請求項4】
前記第2往復母線の一部を内部に備え、前記計器用変成装置と前記ガス絶縁開閉装置とを接続する接続管路と、
前記計器用変成装置と前記接続管路との間に位置し、前記第1外側導体と前記第2外側導体とを電気的に接続する接続導体と、
前記計器用変成装置と前記接続管路との間に位置し、前記計器用変成装置の外壁および前記接続管路の外壁と、前記接続導体との電気的な接続を遮断する絶縁スペーサであって、少なくとも前記計器用変成装置側の表面の一部に凸部を有する絶縁スペーサと、
前記計器用変成装置と前記絶縁スペーサとの間に位置し、前記凸部を収容可能な収容空間を有するアダプタと、を備え、
前記凸部の突出方向における前記収容空間の長さは、前記凸部の突出方向の長さよりも大きい、請求項3に記載のガス絶縁開閉設備。
【請求項5】
電圧および電流を変成する計器用変成器と電気的に接続され、第1内側導体と、当該第1内側導体の周囲に位置する複数の第1外側導体とを有する第1往復母線において、前記第1往復母線の両端部のそれぞれに位置する第1外側導体を、前記第1内側導体に沿って前記第1往復母線の中央に向けて移動させる第1移動工程と、
前記第1往復母線の両端部のそれぞれに位置し、(1)前記第1内側導体と、(2)第2内側導体と、当該第2内側導体の周囲に位置する第2外側導体とを有する第2往復母線における前記第2内側導体と、を電気的に接続する接触子のうちの一方において、前記接触子の内部から前記第1内側導体の端部を引き出す方向に移動させる第2移動工程と、を含み、
前記第2移動工程では、前記第1内側導体と前記第2内側導体とが前記接触子の内部に挿入されて固定されている状態における前記接触子の内部での前記第1内側導体の端部と前記第2内側導体の端部との間の距離であって、前記第1内側導体の、前記接触子の内部への挿入部分の長さよりも大きい距離の分、前記第1内側導体を移動させることにより、前記接触子の内部から前記第1内側導体の端部を引き出す、取外方法。
【請求項6】
前記計器用変成器と前記第1往復母線と前記接触子とを備える計器用変成装置から、前記接触子を取り外す取外工程と、
前記第2内側導体の端部を前記計器用変成装置の外部へと引き出す引出工程と、
前記計器用変成装置と電気的に接続されていた外部装置を移動させることなく、前記計器用変成装置のみを移動させる第3移動工程と、を含む、請求項5に記載の取外方法。
発明の詳細な説明
【技術分野】
【0001】
本発明の一態様は、計器用変成装置、および、当該計器用変成装置を備えるガス絶縁開閉設備等に関する。
続きを表示(約 1,900 文字)
【背景技術】
【0002】
特許文献1では、計器用変成装置(VCT、Voltage Current Transformer)を備えるガス絶縁開閉装置が開示されている。特許文献1のガス絶縁開閉装置において、母線接続管路に配置された同軸母線の内側母線と、VCT接続管路に配置された同軸接続導体の内側導体とが、接触子を介して接続されている。
【先行技術文献】
【特許文献】
【0003】
特開平7-231524号公報
【発明の概要】
【発明が解決しようとする課題】
【0004】
特許文献1において、母線接続管路とVCT接続管路とが接続された状態において、内側導体または内側母線を取り外す方法については開示されていない。
【0005】
本発明の一態様は、計器用変成装置から母線を容易に取り外すことを目的とする。
【課題を解決するための手段】
【0006】
本発明の一態様に係る計器用変成装置は、電圧および電流を変成する計器用変成器と、前記計器用変成器と電気的に接続され、第1内側導体と、当該第1内側導体の周囲に位置する第1外側導体とを有する第1往復母線と、前記第1往復母線の両端部のそれぞれに位置し、(1)前記第1内側導体と、(2)第2内側導体と、当該第2内側導体の周囲に位置する第2外側導体とを有する第2往復母線における前記第2内側導体と、を電気的に接続する接触子と、を備え、前記第1内側導体と前記第2内側導体とが前記接触子の内部に挿入されて固定されている状態において、前記接触子の内部での前記第1内側導体の端部と前記第2内側導体の端部との間の距離は、前記第1内側導体の、前記接触子の内部への挿入部分の長さよりも大きい。
【0007】
本発明の一態様に係る取外方法は、電圧および電流を変成する計器用変成器と電気的に接続され、第1内側導体と、当該第1内側導体の周囲に位置する複数の第1外側導体とを有する第1往復母線において、前記第1往復母線の両端部のそれぞれに位置する第1外側導体を、前記第1内側導体に沿って前記第1往復母線の中央に向けて移動させる第1移動工程と、前記第1往復母線の両端部のそれぞれに位置し、(1)前記第1内側導体と、(2)第2内側導体と、当該第2内側導体の周囲に位置する第2外側導体とを有する第2往復母線における前記第2内側導体と、を電気的に接続する接触子のうちの一方において、前記接触子の内部から前記第1内側導体の端部を引き出す方向に移動させる第2移動工程と、を含み、前記第2移動工程では、前記第1内側導体と前記第2内側導体とが前記接触子の内部に挿入されて固定されている状態における前記接触子の内部での前記第1内側導体の端部と前記第2内側導体の端部との間の距離であって、前記第1内側導体の、前記接触子の内部への挿入部分の長さよりも大きい距離の分、前記第1内側導体を移動させることにより、前記接触子の内部から前記第1内側導体の端部を引き出す。
【発明の効果】
【0008】
本発明の一態様によれば、計器用変成装置から母線を容易に取り外すことができる。
【図面の簡単な説明】
【0009】
一実施形態に係るガス絶縁開閉設備の概略構成を示す側面図である。
一実施形態に係る計器用変成装置およびその周辺部材における3相回路内部構造の1相回路の端相導体構成を概略的に示す断面図である。
接触子を含む領域を概略的に示す断面図である。
一実施形態に係る第1往復母線および計器用変成装置の取外方法を示すフローチャートである。
接触子を含む各領域を概略的に示す断面図であり、端部外側導体を第1往復母線の中央に向けて移動させた状態を示す図である。
接触子を含む各領域を概略的に示す断面図であり、一方の第1内側導体端部が接触子の内部から引き出された状態を示す図である。
比較例としてのガス絶縁開閉設備を概略的に示す側面図であって、第1往復母線の取り外しについて説明するための図である。
【発明を実施するための形態】
【0010】
以下、本発明の一実施形態について、図1~図7を用いて詳細に説明する。説明のため、便宜上、図に向かって右側を右方向、左側を左方向とし、左右方向に対して図に向かって手前側を手前方向とする。
(【0011】以降は省略されています)
この特許をJ-PlatPat(特許庁公式サイト)で参照する
関連特許
日新電機株式会社
遮断装置
7日前
日新電機株式会社
電子除湿器
29日前
日新電機株式会社
ガス絶縁開閉装置
7日前
日新電機株式会社
DC-DCコンバータ
14日前
日新電機株式会社
刃先保護部材及び被膜除去方法
1か月前
日新電機株式会社
ガス絶縁機器およびその製造方法
17日前
日新電機株式会社
表示装置、表示方法、およびプログラム
27日前
日新電機株式会社
プラズマ処理装置及びプラズマ処理方法
1か月前
日新電機株式会社
配電システム、および、クラスタの制御方法
22日前
日新電機株式会社
検出装置、電力供給システム、および検出方法
20日前
日新電機株式会社
汚泥処理制御システムおよび汚泥処理制御方法
20日前
日新電機株式会社
加工方法、治具及び勾配面加工用3軸マシニングセンタ
29日前
日新電機株式会社
コーティング部品及びコーティング部品を備えるコーティング工具
9日前
日新電機株式会社
電源システム、電源システムの制御方法及び電源システムのプログラム
17日前
日新電機株式会社
ダイヤモンド薄膜、コーティングデバイス及びダイヤモンド薄膜の製造方法
6日前
日新電機株式会社
油入電気機器用の電気絶縁油基油、これを含有する電気絶縁油及び油入電気機器
20日前
個人
単極モータ
1か月前
個人
電気を重力で発電装置
7日前
キヤノン電子株式会社
モータ
14日前
キヤノン電子株式会社
モータ
6日前
コーセル株式会社
電源装置
15日前
日星電気株式会社
ケーブル組立体
22日前
トヨタ自動車株式会社
モータ
6日前
株式会社デンソー
回転機
28日前
個人
二次電池繰返パルス放電器用印刷基板
20日前
株式会社kaisei
発電システム
1か月前
株式会社ミツバ
回転電機
27日前
株式会社デンソー
電力変換装置
21日前
株式会社デンソー
電力変換装置
29日前
トヨタ自動車株式会社
固定子の加熱装置
17日前
株式会社デンソー
非接触受電装置
23日前
株式会社ダイヘン
インバータ装置
29日前
トヨタ自動車株式会社
ステータの製造装置
7日前
矢崎総業株式会社
ワイヤーハーネス
1か月前
日産自動車株式会社
ロータシャフト
1日前
日産自動車株式会社
ロータシャフト
1日前
続きを見る
他の特許を見る