TOP
|
特許
|
意匠
|
商標
特許ウォッチ
Twitter
他の特許を見る
公開番号
2025143005
公報種別
公開特許公報(A)
公開日
2025-10-01
出願番号
2024042669
出願日
2024-03-18
発明の名称
欠陥検出方法および真空遮断器
出願人
日新電機株式会社
代理人
弁理士法人 HARAKENZO WORLD PATENT & TRADEMARK
主分類
H01H
33/668 20060101AFI20250924BHJP(基本的電気素子)
要約
【課題】欠陥の検出を常時行うことができる欠陥検出方法を提供する。
【解決手段】欠陥検出方法は、真空遮断器(100)に設置され、電路の遮断を行う真空バルブ(1)の表面に塗布された応力発光材料(10)の発光状態に基づき、真空バルブの欠陥を検出する。
【選択図】図1
特許請求の範囲
【請求項1】
電力設備に設けられた真空遮断器に設置され、電路の遮断を行う真空バルブの表面に塗布された応力発光材料の発光状態に基づき、前記真空バルブの欠陥を検出する、欠陥検出方法。
続きを表示(約 480 文字)
【請求項2】
前記真空バルブは、筒状の絶縁部と、前記絶縁部の内部において互いに接触または離間する1対の電極とを備え、
前記1対の電極は、互いに接触している状態において前記電路を形成し、互いに離間している状態において前記絶縁部とともに前記電路を遮断するものであり、
前記応力発光材料は、前記絶縁部の外側表面に塗布されている、請求項1に記載の欠陥検出方法。
【請求項3】
前記応力発光材料をカメラで撮影した画像から前記応力発光材料の発光状態を得る、請求項1に記載の欠陥検出方法。
【請求項4】
前記応力発光材料の輝度を輝度センサにより検知することで前記応力発光材料の発光状態を得る、請求項1に記載の欠陥検出方法。
【請求項5】
電力設備に設けられるとともに、電路の遮断を行う真空バルブを備える真空遮断器であって、
前記真空バルブの表面には、応力発光材料が塗布されているとともに、
前記応力発光材料の発光状態に基づき、前記真空バルブの欠陥を検出する検出部を備える、真空遮断器。
発明の詳細な説明
【技術分野】
【0001】
本発明は欠陥検出方法および真空遮断器に関する。
続きを表示(約 1,400 文字)
【背景技術】
【0002】
特許文献1には、SF
6
ガスが封入されたガス絶縁キュービクルに収納された真空バルブの真空漏れを検知するために、接点間に所定のギャップ長を有する真空バルブに耐電圧を印加し、ギャップ長と絶縁破壊電圧の値から、SF
6
ガスの真空漏れの有無を検知する方法が従来技術として知られている。
【先行技術文献】
【特許文献】
【0003】
特開平11-086696号公報
【発明の概要】
【発明が解決しようとする課題】
【0004】
しかしながら、上述のような従来技術では、真空バルブの真空漏れの有無を検知するためには、ガス絶縁キュービクルおよび電力設備の運転を停止したうえでの定期的な分解点検が必要であり、真空漏れの発生を即座に検知することができなかった。さらに点検作業には高電圧試験機を別途用意するなどの必要があるので点検作業に手間がかかっていた。
【0005】
本発明の一態様は、簡易な構成で常時の欠陥検出を行うことを実現することを目的とする。
【課題を解決するための手段】
【0006】
真空バルブに欠陥が生じると、その欠陥から真空バルブ周りの雰囲気が真空バルブに流入し真空漏れが起こり得る、という因果関係がある。発明者は、この因果関係に着目し、上記の課題を解決するために、本発明の一態様に係る、電力設備に設けられた真空遮断器に設置され、電路の遮断を行う真空バルブの表面に塗布された応力発光材料の発光状態に基づき、前記真空バルブにおける欠陥を検出するという着想に至った。このようにして真空バルブの欠陥を検出することで、真空漏れを検知することが可能となる。
【発明の効果】
【0007】
本発明の一態様によれば、真空バルブの表面に応力発光材料が塗布されている。応力発光材料は、自身に付与される力およびひずみの変化の大きさに応じて発光強度が変化するものであるから、真空バルブにおいて欠陥が存在する箇所と、欠陥が存在しない箇所で、発光状態に差が生じる。したがって、応力発光材料の発光状態に基づけば、真空バルブの欠陥検出が可能であるし、真空バルブの表面に応力発光材料を塗布するという簡易な構成によって、常時の欠陥検出も可能となる。
【図面の簡単な説明】
【0008】
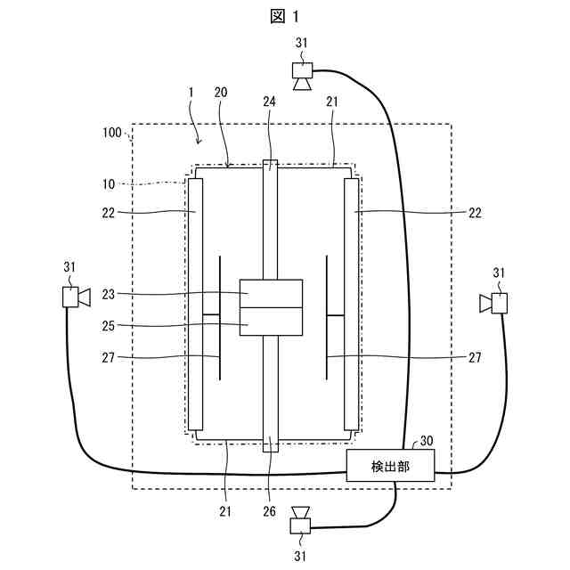
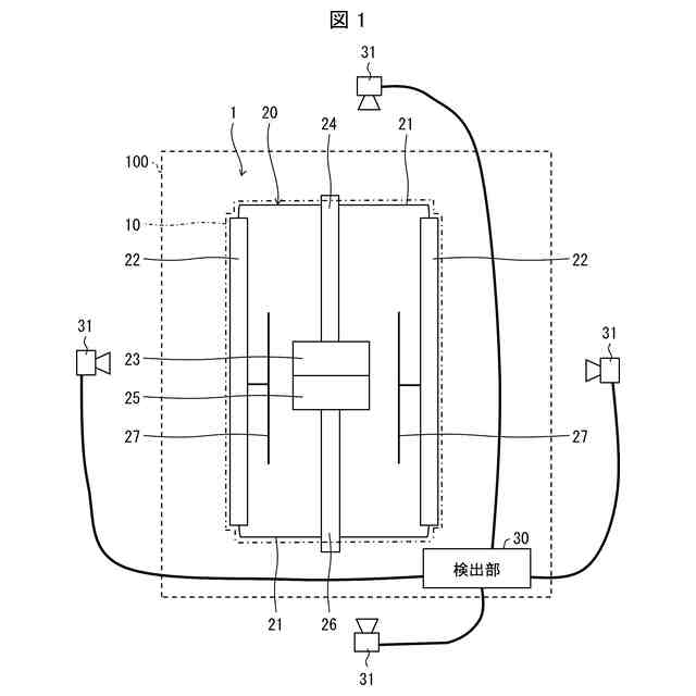
本開示の一実施形態に係る真空遮断器の概略図である。
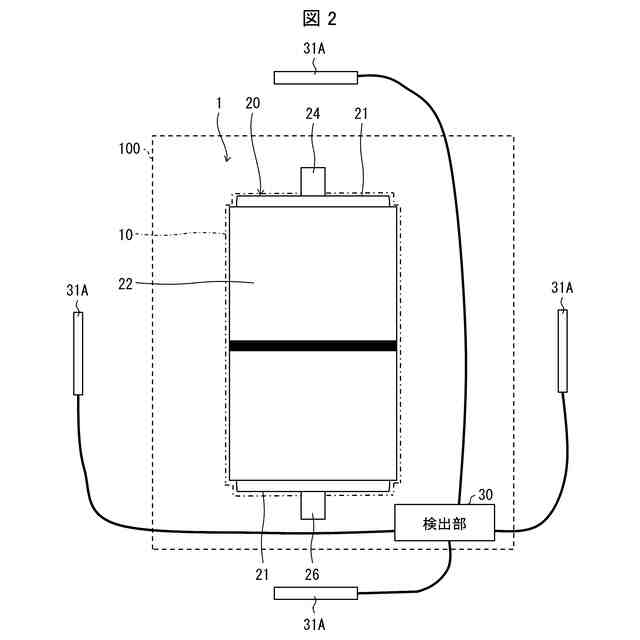
本開示の別の実施形態に係る真空遮断器の概略図である。
【発明を実施するための形態】
【0009】
〔実施形態1〕
以下、本開示の一実施形態について、図1を用いて詳細に説明する。本開示に係る欠陥検出方法は、以下に示す真空遮断器100を備える。図1は本開示の一実施形態に係る真空遮断器100の概略図である。なお、以下の説明では、真空遮断器100について、高電圧な電力設備に設置される真空バルブを備えるものとして説明するが、本開示の真空遮断器は、変電設備などの他の電力設備に使用される真空遮断器にも適用することができる。
【0010】
図1に示すように、本実施形態の真空遮断器100は、真空バルブ1と検出部30とを備える。また、図示していないが、真空遮断器100の内部かつ真空バルブ1の周囲には、絶縁ガス(例えばSF
6
ガス)が封入されている。
(【0011】以降は省略されています)
この特許をJ-PlatPat(特許庁公式サイト)で参照する
関連特許
日新電機株式会社
遮断装置
1か月前
日新電機株式会社
ガス遮断器
2か月前
日新電機株式会社
ガス絶縁機器
1か月前
日新電機株式会社
化学蓄熱反応器
7日前
日新電機株式会社
真空漏れ検出器および真空装置
5日前
日新電機株式会社
欠陥検出方法および真空遮断器
5日前
日新電機株式会社
異常判定装置及び異常判定方法
10日前
日新電機株式会社
情報処理装置および情報処理方法
1か月前
日新電機株式会社
情報処理装置および情報処理方法
1か月前
日新電機株式会社
真空処理装置、および、ベッセル
17日前
日新電機株式会社
モデル生成装置およびモデル生成方法
1か月前
日新電機株式会社
モデル生成装置およびモデル生成方法
1か月前
日新電機株式会社
電源システム及び電源システムの制御方法
7日前
日新電機株式会社
電源システム及び電源システムの制御方法
7日前
日新電機株式会社
制御装置、直流配電システム、および制御方法
1か月前
日新電機株式会社
情報処理装置、評価システム、および情報処理方法
1か月前
日新電機株式会社
計器用変成装置、ガス絶縁開閉設備、および取外方法
1か月前
日新電機株式会社
通信ユニット、サーバ、通信システムおよび通信方法
3日前
日新電機株式会社
高調波フィルタ設備及び高調波フィルタ設備の設定方法
17日前
日新電機株式会社
電源システム、電源システムの制御方法及び電源システムの制御プログラム
2か月前
日新電機株式会社
電源システム、電源システムの制御方法及び電源システムの制御プログラム
2か月前
日新電機株式会社
電力変換器制御装置、電力変換器の制御方法及び電力変換器の制御プログラム
2か月前
国立大学法人京都大学
位相差測定装置およびこれを備える電気設備
2か月前
国立大学法人神戸大学
サーマルサーキットシステム
26日前
個人
安全なNAS電池
1か月前
個人
フリー型プラグ安全カバー
1か月前
東レ株式会社
多孔質炭素シート
26日前
日本発條株式会社
積層体
7日前
エイブリック株式会社
半導体装置
28日前
ローム株式会社
半導体装置
3日前
個人
防雪防塵カバー
7日前
ローム株式会社
半導体装置
26日前
ローム株式会社
半導体装置
5日前
キヤノン株式会社
電子機器
26日前
ローム株式会社
半導体装置
5日前
ローム株式会社
半導体装置
5日前
続きを見る
他の特許を見る