TOP
|
特許
|
意匠
|
商標
特許ウォッチ
Twitter
他の特許を見る
10個以上の画像は省略されています。
公開番号
2025161615
公報種別
公開特許公報(A)
公開日
2025-10-24
出願番号
2024064957
出願日
2024-04-12
発明の名称
検出装置、電力供給システム、および検出方法
出願人
日新電機株式会社
代理人
弁理士法人 HARAKENZO WORLD PATENT & TRADEMARK
主分類
H02J
3/38 20060101AFI20251017BHJP(電力の発電,変換,配電)
要約
【課題】分散型電源を備えた電力供給システムに対する、従来よりも優れた故障検出手法を実現する。
【解決手段】検出装置(100)は、配電線(110)を通じて受電設備(RF)に3相交流の電力を供給するとともに、電力系統(SYS)と接続可能な分散型電源(210)を備えた電力供給システム(1)における故障の発生を検出する。分散型電源(210)が電力系統(SYS)から切り離されている状態において、検出装置(100)は、商用周波数とは異なる検査周波数を有する検査信号(TS)を配電線(110)に供給し、検査信号(TS)の供給に伴い生じる所定相の電圧(V)の検査周波数成分と前記所定相の電流(I)の検査周波数成分との少なくとも一方に基づき、電力供給システム(1)において短絡が発生しているか否かを判定し、検査信号(TS)の供給に伴い生じる零相電圧(V0)の検査周波数成分と零相電流(I0)の検査周波数成分との少なくとも一方に基づき、電力供給システム(1)において地絡が発生しているか否かを判定する。
【選択図】図1
特許請求の範囲
【請求項1】
配電線を通じて受電設備に3相交流の電力を供給するとともに、電力系統と接続可能な分散型電源を備えた電力供給システムにおける故障の発生を検出する検出装置であって、
前記分散型電源が前記電力系統から切り離されている状態において、
前記検出装置は、
前記電力系統の商用周波数とは異なる検査周波数を有する検査信号を、前記配電線に供給し、
前記検査信号が前記配電線に供給されることに伴って生じる、前記配電線における所定相の電圧の検査周波数成分、および、前記配電線における前記所定相の電流の検査周波数成分、の少なくとも一方に基づいて、前記電力供給システムにおいて短絡が発生しているか否かを判定し、
前記検査信号が前記配電線に供給されることに伴って生じる、前記配電線における零相電圧の検査周波数成分、および、前記配電線における零相電流の検査周波数成分、の少なくとも一方に基づいて、前記電力供給システムにおいて地絡が発生しているか否かを判定する、検出装置。
続きを表示(約 1,400 文字)
【請求項2】
前記分散型電源が前記電力系統から切り離されている状態において、
前記検出装置は、
前記電力供給システムにおいて短絡が発生しているか否かの判定結果と、
前記電力供給システムにおいて地絡が発生しているか否かの判定結果と、に基づいて、前記分散型電源を起動させる、請求項1に記載の検出装置。
【請求項3】
前記分散型電源が前記電力系統から切り離されている状態において、
前記検出装置は、前記商用周波数とは異なる第2検査周波数を有する第2検査信号を、大地にさらに供給する、請求項1に記載の検出装置。
【請求項4】
前記第2検査周波数は、前記検査周波数とは異なっている、請求項3に記載の検出装置。
【請求項5】
前記分散型電源が前記電力系統から切り離されている状態において、
前記検出装置は、
前記第2検査信号が前記大地に供給されることに伴って生じる、前記配電線における零相電圧の第2検査周波数成分、および、前記配電線における零相電流の第2検査周波数成分、の少なくとも一方にさらに基づいて、前記電力供給システムにおいて地絡が発生しているか否かを判定する、請求項3に記載の検出装置。
【請求項6】
前記分散型電源は、前記配電線から並列に分岐したN個の分岐配電線にそれぞれ接続されているN個の前記受電設備に前記電力を供給可能であり、
前記電力供給システムは、N個の前記分岐配電線のそれぞれの電路上に位置しているN個のスイッチを備えており、
Nは2以上の自然数であり、
前記分散型電源が前記電力系統から切り離されている状態において、
前記検出装置は、
N個の前記分岐配電線の内、短絡または地絡が発生している前記分岐配電線である注目分岐配電線を特定し、
前記注目分岐配電線の数がN未満である場合には、N個の前記スイッチの内、前記注目分岐配電線に対応する前記スイッチである注目スイッチを開放させた後に、前記分散型電源を起動させる、請求項1に記載の検出装置。
【請求項7】
請求項1に記載の検出装置と、
前記分散型電源と、を備えている、電力供給システム。
【請求項8】
配電線を通じて受電設備に3相交流の電力を供給するとともに、電力系統と接続可能な分散型電源を備えた電力供給システムにおける故障の発生を検出する検出方法であって、
前記分散型電源が前記電力系統から切り離されている状態において、
前記電力系統の商用周波数とは異なる検査周波数を有する検査信号を、前記配電線に供給するステップと、
前記検査信号が前記配電線に供給されることに伴って生じる、前記配電線における所定相の電圧の検査周波数成分、および、前記配電線における前記所定相の電流の検査周波数成分、の少なくとも一方に基づいて、前記電力供給システムにおいて短絡が発生しているか否かを判定するステップと、
前記検査信号が前記配電線に供給されることに伴って生じる、前記配電線における零相電圧の検査周波数成分、および、前記配電線における零相電流の検査周波数成分、の少なくとも一方に基づいて、前記電力供給システムにおいて地絡が発生しているか否かを判定するステップと、を含んでいる、検出方法。
発明の詳細な説明
【技術分野】
【0001】
本発明の一態様は、分散型電源を備えた電力供給システムにおける故障の発生を検出する検出装置に関する。
続きを表示(約 2,100 文字)
【背景技術】
【0002】
電力系統と接続可能な分散型電源を備えた電力供給システム(例:マイクログリッド)の保護に関する様々な技術が提案されている。例えば、下記の特許文献1では、電力系統と切り離されている状態の電力供給システムにおける短絡の発生を検出するための手法が提案されている。
【先行技術文献】
【特許文献】
【0003】
特開2019-110710号公報
【発明の概要】
【発明が解決しようとする課題】
【0004】
本発明の一態様の目的は、分散型電源を備えた電力供給システムに対する、従来よりも優れた故障検出手法を実現することにある。
【課題を解決するための手段】
【0005】
上記の課題を解決するために、本発明の一態様に係る検出装置は、配電線を通じて受電設備に3相交流の電力を供給するとともに、電力系統と接続可能な分散型電源を備えた電力供給システムにおける故障の発生を検出する検出装置であって、前記分散型電源が前記電力系統から切り離されている状態において、前記検出装置は、前記電力系統の商用周波数とは異なる検査周波数を有する検査信号を、前記配電線に供給し、前記検査信号が前記配電線に供給されることに伴って生じる、前記配電線における所定相の電圧の検査周波数成分、および、前記配電線における前記所定相の電流の検査周波数成分、の少なくとも一方に基づいて、前記電力供給システムにおいて短絡が発生しているか否かを判定し、前記検査信号が前記配電線に供給されることに伴って生じる、前記配電線における零相電圧の検査周波数成分、および、前記配電線における零相電流の検査周波数成分、の少なくとも一方に基づいて、前記電力供給システムにおいて地絡が発生しているか否かを判定する。
【0006】
また、本発明の一態様に係る検出方法は、配電線を通じて受電設備に3相交流の電力を供給するとともに、電力系統と接続可能な分散型電源を備えた電力供給システムにおける故障の発生を検出する検出方法であって、前記分散型電源が前記電力系統から切り離されている状態において、前記電力系統の商用周波数とは異なる検査周波数を有する検査信号を、前記配電線に供給するステップと、前記検査信号が前記配電線に供給されることに伴って生じる、前記配電線における所定相の電圧の検査周波数成分、および、前記配電線における前記所定相の電流の検査周波数成分、の少なくとも一方に基づいて、前記電力供給システムにおいて短絡が発生しているか否かを判定するステップと、前記検査信号が前記配電線に供給されることに伴って生じる、前記配電線における零相電圧の検査周波数成分、および、前記配電線における零相電流の検査周波数成分、の少なくとも一方に基づいて、前記電力供給システムにおいて地絡が発生しているか否かを判定するステップと、を含んでいる。
【発明の効果】
【0007】
本発明の一態様によれば、分散型電源を備えた電力供給システムに対する、従来よりも優れた故障検出手法を実現できる。
【図面の簡単な説明】
【0008】
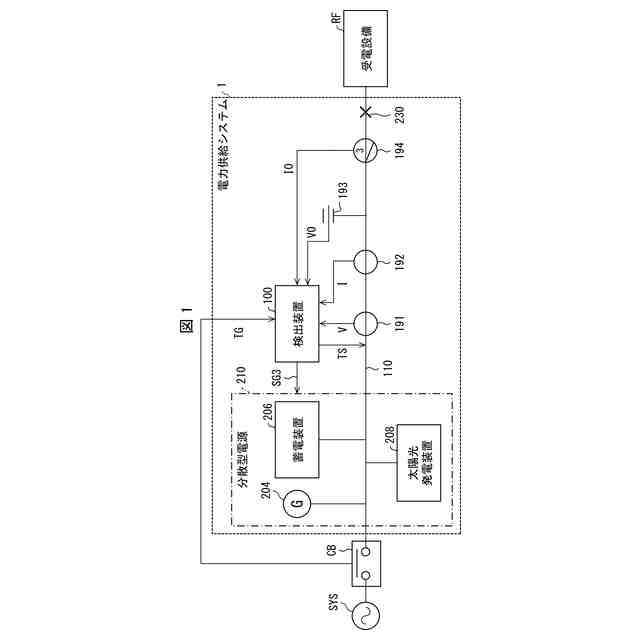
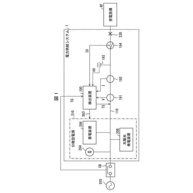
実施形態1の電力供給システムおよびその周辺の構成例を示す。
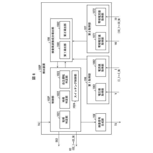
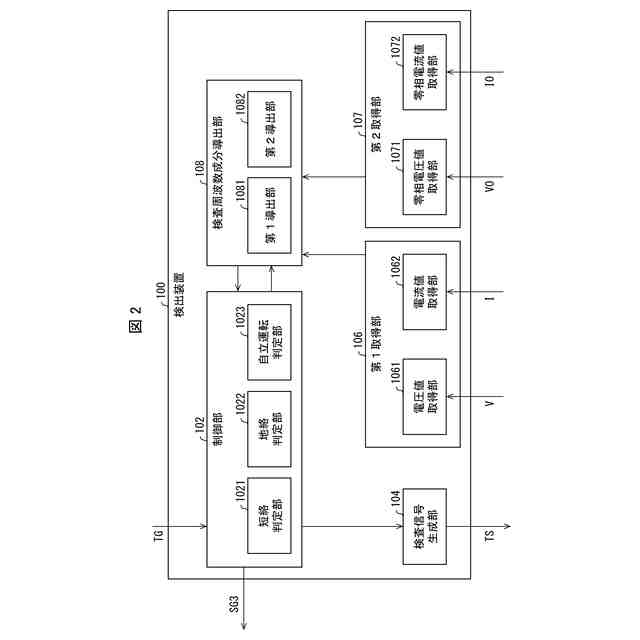
実施形態1の電力供給システムにおける検出装置の一構成例を示す。
実施形態1の検出装置の制御部における各判定処理の例を示す論理表である。
実施形態1の検出装置における処理の流れを例示するフローチャートである。
実施形態1における地絡検出のメカニズムについて説明するための簡易等価回路を示す。
実施形態1における変形例について説明するための図である。
実施形態2の電力供給システムおよびその周辺の構成例を示す。
実施形態2の電力供給システムにおける検出装置の一構成例を示す。
実施形態2の検出装置における処理の流れを例示するフローチャートである。
実施形態2における分岐配電線に対する検査処理の流れを例示するフローチャートである。
【発明を実施するための形態】
【0009】
〔実施形態1〕
実施形態1について以下に説明する。説明の便宜上、実施形態1にて説明したコンポーネント(構成要素)と同じ機能を有するコンポーネントについては、以降の各実施形態では同じ符号を付し、その説明を繰り返さない。簡潔化のため、公知の技術事項についても説明を適宜省略する。
【0010】
本明細書において述べる各コンポーネントおよび各数値はいずれも、内容上矛盾のない限り、単なる例示である。それゆえ、内容上矛盾のない限り、例えば各コンポーネントの位置関係および接続関係は各図の例に限定されない。本明細書における「接続されている」という記載は、内容上矛盾のない限り、「電気的に接続されている」ことを意味する。
(【0011】以降は省略されています)
この特許をJ-PlatPat(特許庁公式サイト)で参照する
関連特許
他の特許を見る