TOP
|
特許
|
意匠
|
商標
特許ウォッチ
Twitter
他の特許を見る
10個以上の画像は省略されています。
公開番号
2025156924
公報種別
公開特許公報(A)
公開日
2025-10-15
出願番号
2024059692
出願日
2024-04-02
発明の名称
加工方法、治具及び勾配面加工用3軸マシニングセンタ
出願人
日新電機株式会社
代理人
弁理士法人三枝国際特許事務所
主分類
B23Q
3/04 20060101AFI20251007BHJP(工作機械;他に分類されない金属加工)
要約
【課題】3軸マシニングセンタを用いて、基準面に対して傾斜した傾斜面を加工できること。
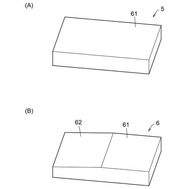
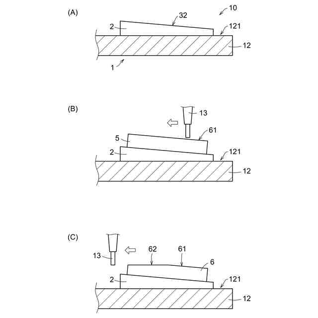
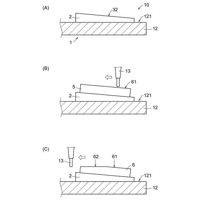
【解決手段】加工方法は、3軸マシニングセンタ1を用いて被加工部材5を加工し、基準面61と、基準面61に対して傾斜した傾斜面62とを有する加工品6を成形する加工方法である。3軸マシニングセンタ1のテーブル面121に、被加工部材5を載せる載置面32を有する治具2を設置するステップと、載置面32に対し、被加工部材5の厚さ方向における基準面61とは反対側の面を載せ、テーブル面121に対して基準面61を傾斜させるステップと、3軸マシニングセンタ1の切削工具13により被加工部材5を切削し、傾斜面62を形成するステップと、を含む。
【選択図】図3
特許請求の範囲
【請求項1】
3軸マシニングセンタを用いて被加工部材を加工し、基準面と、前記基準面に対して傾斜した傾斜面とを有する加工品を成形する加工方法であって、
前記3軸マシニングセンタのテーブル面に、前記被加工部材を載せる載置面を有する治具を設置するステップと、
前記載置面に対し、前記被加工部材の厚さ方向における前記基準面とは反対側の面を載せ、前記テーブル面に対して前記基準面を傾斜させるステップと、
前記3軸マシニングセンタの切削工具により前記被加工部材を切削し、前記傾斜面を形成するステップと、
を含む、
加工方法。
続きを表示(約 850 文字)
【請求項2】
前記治具は、前記テーブル面に対向するテーブル対向面を有し、
前記載置面は、前記テーブル対向面に対して傾斜した平面である、
請求項1に記載の加工方法。
【請求項3】
前記治具を、前記テーブル対向面と前記載置面とのなす角が第1角度である第1治具とし、
前記加工方法は、
前記被加工部材の前記傾斜面を切削により形成するステップの後、前記第1治具を前記テーブル面から取り外し、前記第1角度とは異なる第2角度を有する第2治具を前記テーブル面に設置するステップと、
前記第2治具の載置面に対し、前記被加工部材を載せ、前記テーブル面に対して前記傾斜面を傾斜させるステップと、
前記3軸マシニングセンタの切削工具により前記被加工部材を切削し、前記傾斜面及び前記基準面に対して傾斜する第2傾斜面を形成するステップと、
を更に含む、
請求項2に記載の加工方法。
【請求項4】
3軸マシニングセンタを用いて被加工部材を加工する際に用いられる治具であって、
前記3軸マシニングセンタのテーブル面に対向するテーブル対向面と、
前記テーブル対向面の反対側に設けられ、前記被加工部材が載る載置面と、
を備え、
前記載置面は、前記テーブル対向面に対して傾斜している、
治具。
【請求項5】
前記治具は、前記テーブル面に固定される固定具が通される複数の取付け穴を有する、
請求項4に記載の治具。
【請求項6】
ベッド、前記ベッドに対して移動するテーブル面、及び前記テーブル面上の被加工部材を加工する切削工具を有する3軸マシニングセンタと、
前記テーブル面に設置され、前記被加工部材が載る載置面を有する治具と、
を備え、
前記載置面は、前記テーブル面に対して傾斜している、
勾配面加工用3軸マシニングセンタ。
発明の詳細な説明
【技術分野】
【0001】
本発明は、加工方法、治具及び勾配面加工用3軸マシニングセンタに関し、より詳細には、基準面に対して傾斜する傾斜面を有する加工品を形成するための加工方法、治具及び勾配面加工用3軸マシニングセンタに関する。
続きを表示(約 1,200 文字)
【背景技術】
【0002】
特許文献1には、5軸マシニングセンタが記載されている。特許文献1に記載の5軸マシニングセンタは、直線軸3軸(XYZ軸)と、回転軸2軸を有する5軸制御の立型マシニングセンタである。5軸マシニングセンタは、ワークを保持するワーク保持ユニットを備えている。
【0003】
ワーク保持ユニットは、チルトテーブルを有している。チルトテーブルは、水平軸を中心に回転可能である。ワーク保持ユニットは、チルトテーブルを任意角度で回転することで、ワークを任意の方向に傾けることができる。
【0004】
これによって、例えば、ワークにおいて、基準面に対して傾斜する面(傾斜面)を形成する場合でも、チルトテーブルを回転することで、直線軸3軸に沿って移動する工具を用いて、傾斜面を加工することができる。
【先行技術文献】
【特許文献】
【0005】
特開2015-062973号公報
【発明の概要】
【発明が解決しようとする課題】
【0006】
しかしながら、5軸マシニングセンタのチルトテーブルは、微小な角度(例えば、1/100°単位)の調整をすることができないので、例えば、ワークにおいて、基準面に対して微小な角度で傾斜する傾斜面を形成することができない、という問題がある。
【0007】
しかも、一般に、5軸マシニングセンタは、3軸マシニングセンタに比べて、切削工具の最高回転数が小さいため、工具が折れやすいという問題がある。
【0008】
本発明は、上記事情に鑑みてなされ、3軸マシニングセンタを用いて、基準面に対して傾斜した傾斜面を加工できる加工方法、治具及び勾配面加工用3軸マシニングセンタを提供することを目的とする。
【課題を解決するための手段】
【0009】
本発明に係る一態様の加工方法は、3軸マシニングセンタを用いて被加工部材を加工し、基準面と、前記基準面に対して傾斜した傾斜面とを有する加工品を成形する加工方法であって、前記3軸マシニングセンタのテーブル面に、前記被加工部材を載せる載置面を有する治具を設置するステップと、前記載置面に対し、前記被加工部材の厚さ方向における前記基準面とは反対側の面を載せ、前記テーブル面に対して前記基準面を傾斜させるステップと、前記3軸マシニングセンタの切削工具により前記被加工部材を切削し、前記傾斜面を形成するステップと、を含む。
【0010】
本発明に係る一態様の治具は、3軸マシニングセンタを用いて被加工部材を加工する際に用いられる治具であって、前記3軸マシニングセンタのテーブル面に対向するテーブル対向面と、前記テーブル対向面の反対側に設けられ、前記被加工部材が載る載置面と、
を備え、前記載置面は、前記テーブル対向面に対して傾斜している。
(【0011】以降は省略されています)
この特許をJ-PlatPat(特許庁公式サイト)で参照する
関連特許
日新電機株式会社
ベッセル
1か月前
日新電機株式会社
遮断装置
6日前
日新電機株式会社
電子除湿器
28日前
日新電機株式会社
化学蓄熱反応器
1か月前
日新電機株式会社
プラズマ処理装置
1か月前
日新電機株式会社
ガス絶縁開閉装置
6日前
日新電機株式会社
DC-DCコンバータ
13日前
日新電機株式会社
異常判定装置及び異常判定方法
1か月前
日新電機株式会社
欠陥検出方法および真空遮断器
1か月前
日新電機株式会社
真空漏れ検出器および真空装置
1か月前
日新電機株式会社
刃先保護部材及び被膜除去方法
1か月前
日新電機株式会社
ガス絶縁機器およびその製造方法
16日前
日新電機株式会社
真空処理装置、および、ベッセル
1か月前
日新電機株式会社
表示装置、表示方法、およびプログラム
26日前
日新電機株式会社
プラズマ処理装置及びプラズマ処理方法
1か月前
日新電機株式会社
電源システム及び電源システムの制御方法
1か月前
日新電機株式会社
電源システム及び電源システムの制御方法
1か月前
日新電機株式会社
配電システム、および、クラスタの制御方法
21日前
日新電機株式会社
制御装置、直流配電システム、および制御方法
2か月前
日新電機株式会社
汚泥処理制御システムおよび汚泥処理制御方法
19日前
日新電機株式会社
検出装置、電力供給システム、および検出方法
19日前
日新電機株式会社
通信ユニット、サーバ、通信システムおよび通信方法
1か月前
日新電機株式会社
加工方法、治具及び勾配面加工用3軸マシニングセンタ
28日前
日新電機株式会社
高調波フィルタ設備及び高調波フィルタ設備の設定方法
1か月前
日新電機株式会社
コーティング部品及びコーティング部品を備えるコーティング工具
8日前
日新電機株式会社
電源システム、電源システムの制御方法及び電源システムのプログラム
16日前
日新電機株式会社
ダイヤモンド薄膜、コーティングデバイス及びダイヤモンド薄膜の製造方法
5日前
日新電機株式会社
油入電気機器用の電気絶縁油基油、これを含有する電気絶縁油及び油入電気機器
19日前
国立大学法人神戸大学
サーマルサーキットシステム
2か月前
個人
タップ
6か月前
個人
フライス盤
2か月前
個人
加工機
6か月前
麗豊実業股フン有限公司
ラクトバチルス・パラカセイNB23菌株及びそれを筋肉量の増加や抗メタボリック症候群に用いる用途
5か月前
株式会社北川鉄工所
回転装置
5か月前
日東精工株式会社
ねじ締め機
1か月前
日東精工株式会社
ねじ締め機
5か月前
続きを見る
他の特許を見る