TOP
|
特許
|
意匠
|
商標
特許ウォッチ
Twitter
他の特許を見る
公開番号
2025167609
公報種別
公開特許公報(A)
公開日
2025-11-07
出願番号
2024072406
出願日
2024-04-26
発明の名称
ダイヤモンド薄膜、コーティングデバイス及びダイヤモンド薄膜の製造方法
出願人
日新電機株式会社
代理人
個人
,
個人
,
個人
,
個人
,
個人
,
個人
主分類
H01L
21/205 20060101AFI20251030BHJP(基本的電気素子)
要約
【課題】熱を均一に拡散できるダイヤモンド薄膜を提供する。
【解決手段】平均粒径1000nm以下のダイヤモンド粒子により構成され、面内方向への熱伝導率が、面直方向への熱伝導率の50%以上200%以下であるダイヤモンド薄膜。
【選択図】図1
特許請求の範囲
【請求項1】
平均粒径1000nm以下のダイヤモンド粒子により構成され、
面内方向への熱伝導率が、面直方向への熱伝導率の50%以上200%以下であるダイヤモンド薄膜。
続きを表示(約 920 文字)
【請求項2】
膜厚に対する、前記ダイヤモンド粒子の平均粒径の相対比が1%以上30%以下である請求項1に記載のダイヤモンド薄膜。
【請求項3】
前記面内方向又は面直方向への熱伝導率が5W/m・K以上である請求項1に記載のダイヤモンド薄膜。
【請求項4】
抵抗率が10
10
Ωcm以上である請求項1に記載のダイヤモンド薄膜。
【請求項5】
膜中の窒素濃度が10ppm以上10000ppm以下である請求項1に記載のダイヤモンド薄膜。
【請求項6】
膜中の水素濃度が500ppm以上250000ppm以下である請求項1に記載のダイヤモンド薄膜。
【請求項7】
膜中の酸素濃度が10ppm以上50000ppm以下である請求項1に記載のダイヤモンド薄膜。
【請求項8】
膜中の水素濃度に対する膜中の窒素濃度の相対比が0.00004以上20以下である請求項1に記載のダイヤモンド薄膜。
【請求項9】
Si、SiC、Ge、SiGe、GaAs、GaN、GaAlN、InGaN、InP、InGaP、InGaAlP、Ga
2
O
3
、及びZnSeから選択される1種又は複数種の材料で構成された半導体基板を有する半導体デバイスと、
前記半導体デバイス上に設けられ、平均粒径1000nm以下のダイヤモンド粒子により構成され、面内方向への熱伝導率が面直方向への熱伝導率の80%以上120%以下であるダイヤモンド薄膜とを備えるコーティングデバイス。
【請求項10】
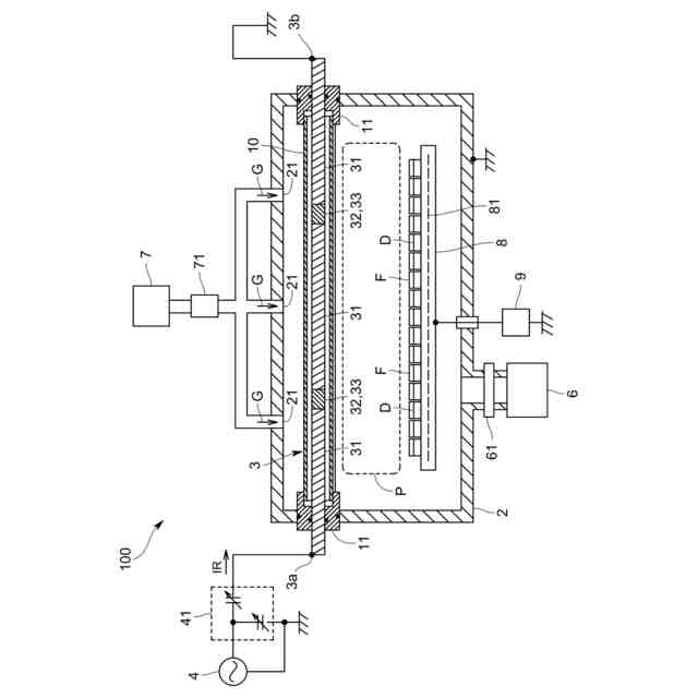
半導体デバイスが配置された真空容器内にC、H及びOを含有する原料ガスを供給し、
前記真空容器の内部又は外部に配置したアンテナに高周波電流を流すことによって当該真空容器内に誘導結合型プラズマを生成し、
前記半導体デバイスの温度を23℃以上400℃以下の範囲に保持し、生成した誘導結合型プラズマを用いたプラズマCVD法により、前記半導体デバイス上にダイヤモンド薄膜を合成するダイヤモンド薄膜の製造方法。
発明の詳細な説明
【技術分野】
【0001】
本発明は、プラズマCVD法により製造されるダイヤモンド薄膜、前記ダイヤモンド薄膜を備えるコーティングデバイス及び前記ダイヤモンド薄膜の製造方法に関するものである。
続きを表示(約 1,400 文字)
【背景技術】
【0002】
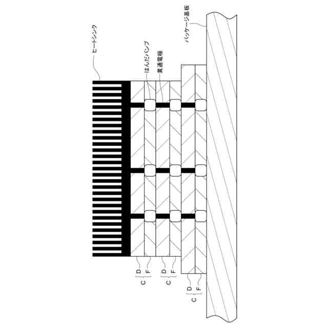
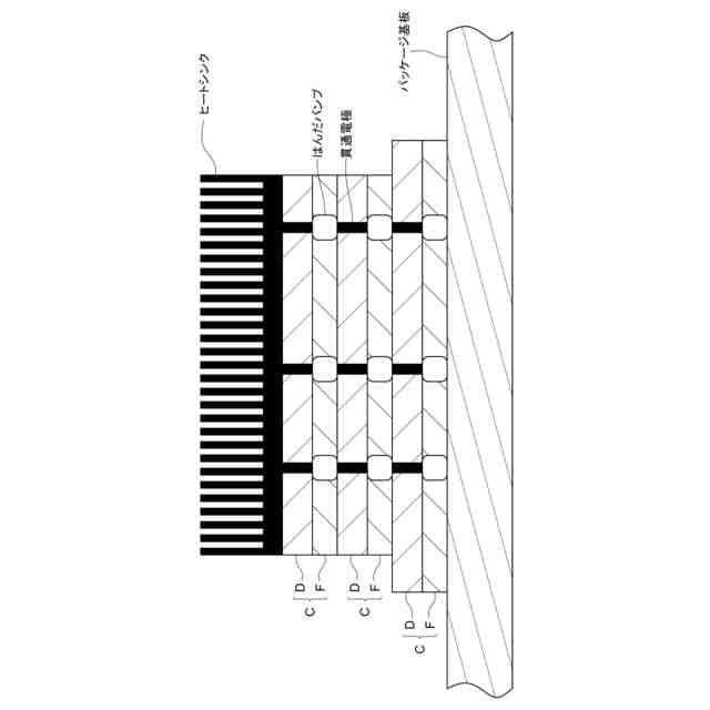
従来から、半導体デバイスで発生する熱対策として、熱伝導率が大きいダイヤモンド膜を半導体デバイス上に合成することがある(例えば特許文献1)。この特許文献1では、前記半導体デバイスとダイヤモンド膜との界面における熱抵抗を小さくするために、当該膜に含まれるダイヤモンド粒子を前記デバイスから上方へ柱状に成長させて、図5に示すようなサイズが大きいダイヤモンド粒子でダイヤモンド薄膜を形成することが記載されている。
【先行技術文献】
【特許文献】
【0003】
特許第6516824号公報
【発明の概要】
【発明が解決しようとする課題】
【0004】
しかしながら、引用文献1のように膜厚に対して大きいダイヤモンドの結晶によってダイヤモンド薄膜が形成されていると、膜の面直方向と面内方向とで熱伝導率に差が生じてしまい、基板の部品に生じた熱を均一に拡散できないという問題がある。
【0005】
本発明は上記問題点を解決すべくなされたものであり、熱を均一に拡散できるダイヤモンド薄膜を提供することをその主たる課題とするものである。
【課題を解決するための手段】
【0006】
すなわち本発明に係るダイヤモンド薄膜は、平均粒径1000nm以下のダイヤモンド粒子により構成され、面内方向への熱伝導率が、面直方向への熱伝導率の50%以上200%以下であるものである。
【0007】
このような構成であれば、粒径の小さいダイヤモンド粒子でダイヤモンド薄膜が構成されており、膜の面内方向と面直方向それぞれへの熱伝導率の差が小さいので、ダイヤモンド薄膜に伝わった熱を均一に拡散することができる。これにより、例えばこの薄膜を半導体デバイス上に成膜した場合に、このダイヤモンド薄膜を介して、半導体デバイスのホットスポットにおいて局所的に発生する熱をデバイスの表面方向に均一に拡散させて半導体デバイス全体の均熱化を図ることができる。
【0008】
膜厚に対する、膜内に含まれるダイヤモンドの平均粒径の相対比が1%以上30%以下であることが好ましい。
相対比が1%未満であると熱伝導率が悪くなる。また膜の面直方向と面内方向とで熱伝導率に差が生じにくいように30%以下が好ましい。なおより好ましくは10%以下である。
このような構成であれば、膜厚に対して粒径が小さいダイヤモンド粒子でダイヤモンド薄膜が構成されているので、膜の面直方向と面内方向とで熱伝導率に差が生じにくい。なお膜厚に対する粒子径を小さくすると、従来のダイヤモンド薄膜よりも面直方向への熱の伝導率が小さくなるが、半導体デバイス上にダイヤモンド薄膜を形成する場合には膜の面内方向への広がりに対して膜厚は遥かに薄いので、面直方向への熱伝導率が小さくなることによる問題は実質的に生じない。
【0009】
本発明の具体的な態様としては、膜の面内方向又は面直方向への熱伝導率が5W/m・K以上であることが好ましい。
【0010】
本発明の具体的な態様としては抵抗率が10
10
Ωcm以上であることが好ましい。これならば十分な絶縁性が担保でき、この薄膜で被覆した半導体デバイスを積層する場合に有利である。
(【0011】以降は省略されています)
この特許をJ-PlatPat(特許庁公式サイト)で参照する
関連特許
日新電機株式会社
遮断装置
1か月前
日新電機株式会社
ベッセル
2か月前
日新電機株式会社
電子除湿器
1か月前
日新電機株式会社
真空バルブ
6日前
日新電機株式会社
受変電設備
13日前
日新電機株式会社
リアクトル鉄心
6日前
日新電機株式会社
化学蓄熱反応器
2か月前
日新電機株式会社
ガス絶縁開閉装置
1か月前
日新電機株式会社
プラズマ処理装置
2か月前
日新電機株式会社
電力機器の試験方法
2日前
日新電機株式会社
DC-DCコンバータ
1か月前
日新電機株式会社
真空漏れ検出器および真空装置
2か月前
日新電機株式会社
欠陥検出方法および真空遮断器
2か月前
日新電機株式会社
異常判定装置及び異常判定方法
2か月前
日新電機株式会社
刃先保護部材及び被膜除去方法
2か月前
日新電機株式会社
ガス絶縁機器およびその製造方法
1か月前
日新電機株式会社
真空処理装置、および、ベッセル
2か月前
日新電機株式会社
プラズマ処理装置及びプラズマ処理方法
2か月前
日新電機株式会社
表示装置、表示方法、およびプログラム
1か月前
日新電機株式会社
電源システム及び電源システムの制御方法
2か月前
日新電機株式会社
電源システム及び電源システムの制御方法
2か月前
日新電機株式会社
配電システム、および、クラスタの制御方法
1か月前
日新電機株式会社
制御装置、直流配電システム、および制御方法
3か月前
日新電機株式会社
汚泥処理制御システムおよび汚泥処理制御方法
1か月前
日新電機株式会社
検出装置、電力供給システム、および検出方法
1か月前
日新電機株式会社
DC-DCコンバータ、および、その制御方法
6日前
日新電機株式会社
通信ユニット、サーバ、通信システムおよび通信方法
2か月前
日新電機株式会社
高調波フィルタ設備及び高調波フィルタ設備の設定方法
2か月前
日新電機株式会社
DC-DCコンバータ、および、AC-DCコンバータ
21日前
日新電機株式会社
加工方法、治具及び勾配面加工用3軸マシニングセンタ
1か月前
日新電機株式会社
コーティング部品及びコーティング部品を備えるコーティング工具
1か月前
日新電機株式会社
車種識別装置、車種識別モデル生成装置および車種識別モデル生成方法
2日前
日新電機株式会社
電源システム、電源システムの制御方法及び電源システムのプログラム
1か月前
日新電機株式会社
ダイヤモンド薄膜、コーティングデバイス及びダイヤモンド薄膜の製造方法
1か月前
日新電機株式会社
油入電気機器用の電気絶縁油基油、これを含有する電気絶縁油及び油入電気機器
1か月前
国立大学法人神戸大学
サーマルサーキットシステム
3か月前
続きを見る
他の特許を見る