TOP
|
特許
|
意匠
|
商標
特許ウォッチ
Twitter
他の特許を見る
公開番号
2025146193
公報種別
公開特許公報(A)
公開日
2025-10-03
出願番号
2024046843
出願日
2024-03-22
発明の名称
通信ユニット、サーバ、通信システムおよび通信方法
出願人
日新電機株式会社
代理人
弁理士法人 HARAKENZO WORLD PATENT & TRADEMARK
主分類
H04L
67/568 20220101AFI20250926BHJP(電気通信技術)
要約
【課題】複数のユニット同士の間において1対多に同時に通信することが制限されている状態で、データを複数のデータ送信先ユニットに高速に送信する。
【解決手段】データ送信元ユニット(2)は、複数のユニット同士の間において1対多に同時に通信することが制限されている通信ネットワーク(NT)により、複数のデータ送信先ユニット(4A~4D)と接続され、データ(DT)を記憶部(33)に転送し、記憶部(33)に転送されたデータ(DT)について、少なくともデータ送信先ユニットの数の分だけ記憶部(33)内でコピーする指示を与える。
【選択図】図1
特許請求の範囲
【請求項1】
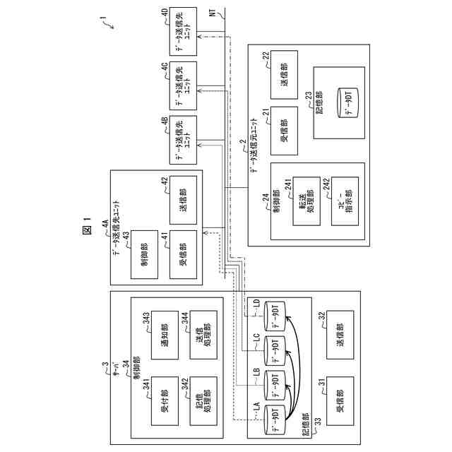
複数のユニット同士の間において1対多に同時に通信することが制限されている通信ネットワークにより、複数のデータ送信先ユニットと接続された通信ユニットであって、
前記複数のデータ送信先ユニットとの間で共有する対象となるデータを、記憶部に転送する転送処理部と、
前記記憶部に転送された前記データについて、少なくとも前記データ送信先ユニットの数の分だけ前記記憶部内でコピーする指示を与えるコピー指示部と、を備える、通信ユニット。
続きを表示(約 1,600 文字)
【請求項2】
前記転送処理部は、前記通信ネットワーク内に設置されたサーバの記憶部に対して、前記データを転送する、請求項1に記載の通信ユニット。
【請求項3】
複数のユニット同士の間において1対多に同時に通信することが制限されている通信ネットワークにおいて、データ送信元ユニットと、複数のデータ送信先ユニットと接続され、前記複数のデータ送信先ユニットに含まれる通信ユニットであって、
前記データ送信元ユニットと前記複数のデータ送信先ユニットとの間で共有する対象となるデータについて、少なくとも前記データ送信先ユニットの数の分だけ記憶部にコピーされた旨の通知を受け取る受信部と、
前記記憶部においてコピーされたデータの取得要求を送信する送信部と、を備える、通信ユニット。
【請求項4】
複数のユニット同士の間において1対多に同時に通信することが制限されている通信ネットワークにおいて、データ送信元ユニットと、複数のデータ送信先ユニットと接続されたサーバであって、
前記データ送信元ユニットと前記複数のデータ送信先ユニットとの間で共有する対象となるデータを、前記データ送信元ユニットから受信する受信部と、
前記受信部が受信したデータについて、少なくとも前記データ送信先ユニットの数の分だけコピーして記憶する記憶部と、を備える、サーバ。
【請求項5】
前記複数のデータ送信先ユニットから、前記記憶部においてコピーされたデータの取得要求を受け付ける受付部と、
前記取得要求を行った全ての前記データ送信先ユニットのそれぞれに対して、前記記憶部内においてコピーされたデータを同時に送信する送信処理部と、を備える、請求項4に記載のサーバ。
【請求項6】
複数のユニット同士の間において1対多に同時に通信することが制限されている通信ネットワークにより接続された、データ送信元ユニットと複数のデータ送信先ユニットとを含む通信システムであって、
前記データ送信元ユニットは、
前記複数のデータ送信先ユニットとの間で共有する対象となるデータを、記憶部に転送する転送処理部と、
前記記憶部に転送された前記データについて、少なくとも前記データ送信先ユニットの数の分だけ前記記憶部内でコピーする指示を与えるコピー指示部と、を備え、
前記複数のデータ送信先ユニットの少なくともいずれかは、
前記データについて、前記記憶部にコピーされた旨の通知を受け取る受信部と、
前記記憶部においてコピーされたデータの取得要求を送信する送信部と、を備える、通信システム。
【請求項7】
複数のユニット同士の間において1対多に同時に通信することが制限されている通信ネットワークにより接続された、データ送信元ユニットと複数のデータ送信先ユニットとを含む通信システムにより実行される通信方法であって、
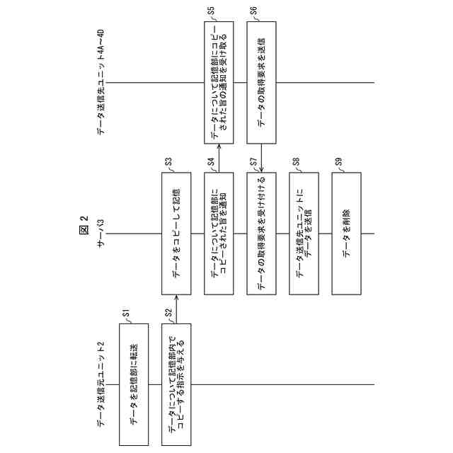
前記データ送信元ユニットにより実行される下記1)および下記2)のステップと、
前記複数のデータ送信先ユニットの少なくともいずれかにより実行される下記3)および下記4)のステップと、を含む、通信方法。
1)データ送信元ユニットと複数のデータ送信先ユニットとの間で共有する対象となるデータを、記憶部に転送する転送処理ステップ;
2)前記記憶部に転送された前記データについて、少なくとも前記データ送信先ユニットの数の分だけ前記記憶部内でコピーする指示を与えるコピー指示ステップ;
3)前記データについて、前記記憶部にコピーされた旨の通知を受け取る受信ステップ;
4)前記記憶部においてコピーされたデータの取得要求を送信する送信ステップ。
発明の詳細な説明
【技術分野】
【0001】
本発明は、通信ユニット、サーバ、通信システムおよび通信方法に関する。
続きを表示(約 2,100 文字)
【背景技術】
【0002】
特許文献1には、中央処理装置と複数の外部記憶装置との接続にネットワークを用いた多重化装置が開示されている。当該多重化装置は、中央処理装置から外部記憶装置に対してデータを書き込む際に、ブロードキャストまたはマルチキャストを用いることにより、1度のデータ転送で複数の外部記憶装置に同一のデータを格納する手段を有する。
【先行技術文献】
【特許文献】
【0003】
特開平11-328038号公報
【発明の概要】
【発明が解決しようとする課題】
【0004】
特許文献1に開示の多重化装置は、ブロードキャストまたはマルチキャストによる通信が許可されているネットワークを用いることを前提としたものである。よって、ブロードキャストまたはマルチキャストによる通信が制限されているネットワークでは、当該多重化装置を採用できないという問題がある。本発明の一態様は、複数のユニット同士の間において1対多に同時に通信することが制限されている状態で、データを複数のデータ送信先ユニットに高速に送信することを目的とする。
【課題を解決するための手段】
【0005】
上記の課題を解決するために、本発明の一態様に係る通信ユニットは、複数のユニット同士の間において1対多に同時に通信することが制限されている通信ネットワークにより、複数のデータ送信先ユニットと接続された通信ユニットであって、前記複数のデータ送信先ユニットとの間で共有する対象となるデータを、記憶部に転送する転送処理部と、前記記憶部に転送された前記データについて、少なくとも前記データ送信先ユニットの数の分だけ前記記憶部内でコピーする指示を与えるコピー指示部と、を備える。
【0006】
また、本発明の一態様に係る通信ユニットは、複数のユニット同士の間において1対多に同時に通信することが制限されている通信ネットワークにおいて、データ送信元ユニットと、複数のデータ送信先ユニットと接続され、前記複数のデータ送信先ユニットに含まれる通信ユニットであって、前記データ送信元ユニットと前記複数のデータ送信先ユニットとの間で共有する対象となるデータについて、少なくとも前記データ送信先ユニットの数の分だけ記憶部にコピーされた旨の通知を受け取る受信部と、前記記憶部においてコピーされたデータの取得要求を送信する送信部と、を備える。
【0007】
上記の課題を解決するために、本発明の一態様に係るサーバは、複数のユニット同士の間において1対多に同時に通信することが制限されている通信ネットワークにおいて、データ送信元ユニットと、複数のデータ送信先ユニットと接続されたサーバであって、前記データ送信元ユニットと前記複数のデータ送信先ユニットとの間で共有する対象となるデータを、前記データ送信元ユニットから受信する受信部と、前記受信部が受信したデータについて、少なくとも前記データ送信先ユニットの数の分だけコピーして記憶する記憶部と、を備える。
【0008】
また、本発明の一態様に係る通信システムは、複数のユニット同士の間において1対多に同時に通信することが制限されている通信ネットワークにより接続された、データ送信元ユニットと複数のデータ送信先ユニットとを含む通信システムであって、前記データ送信元ユニットは、前記複数のデータ送信先ユニットとの間で共有する対象となるデータを、記憶部に転送する転送処理部と、前記記憶部に転送された前記データについて、少なくとも前記データ送信先ユニットの数の分だけ前記記憶部内でコピーする指示を与えるコピー指示部と、を備え、前記複数のデータ送信先ユニットの少なくともいずれかは、前記データについて、前記記憶部にコピーされた旨の通知を受け取る受信部と、前記記憶部においてコピーされたデータの取得要求を送信する送信部と、を備える。
【0009】
さらに、本発明の一態様に係る通信方法は、複数のユニット同士の間において1対多に同時に通信することが制限されている通信ネットワークにより接続された、データ送信元ユニットと複数のデータ送信先ユニットとを含む通信システムにより実行される通信方法であって、前記データ送信元ユニットにより実行される下記1)および下記2)のステップと、前記複数のデータ送信先ユニットの少なくともいずれかにより実行される下記3)および下記4)のステップと、を含む。
【0010】
1)データ送信元ユニットと複数のデータ送信先ユニットとの間で共有する対象となるデータを、記憶部に転送する転送処理ステップ;
2)前記記憶部に転送された前記データについて、少なくとも前記データ送信先ユニットの数の分だけ前記記憶部内でコピーする指示を与えるコピー指示ステップ;
3)前記データについて、前記記憶部にコピーされた旨の通知を受け取る受信ステップ;
4)前記記憶部においてコピーされたデータの取得要求を送信する送信ステップ。
【発明の効果】
(【0011】以降は省略されています)
この特許をJ-PlatPat(特許庁公式サイト)で参照する
関連特許
日新電機株式会社
遮断装置
1か月前
日新電機株式会社
ガス絶縁機器
1か月前
日新電機株式会社
化学蓄熱反応器
7日前
日新電機株式会社
真空漏れ検出器および真空装置
5日前
日新電機株式会社
異常判定装置及び異常判定方法
10日前
日新電機株式会社
欠陥検出方法および真空遮断器
5日前
日新電機株式会社
情報処理装置および情報処理方法
1か月前
日新電機株式会社
真空処理装置、および、ベッセル
17日前
日新電機株式会社
情報処理装置および情報処理方法
1か月前
日新電機株式会社
モデル生成装置およびモデル生成方法
1か月前
日新電機株式会社
モデル生成装置およびモデル生成方法
1か月前
日新電機株式会社
電源システム及び電源システムの制御方法
7日前
日新電機株式会社
電源システム及び電源システムの制御方法
7日前
日新電機株式会社
制御装置、直流配電システム、および制御方法
1か月前
日新電機株式会社
情報処理装置、評価システム、および情報処理方法
1か月前
日新電機株式会社
通信ユニット、サーバ、通信システムおよび通信方法
3日前
日新電機株式会社
計器用変成装置、ガス絶縁開閉設備、および取外方法
1か月前
日新電機株式会社
高調波フィルタ設備及び高調波フィルタ設備の設定方法
17日前
国立大学法人神戸大学
サーマルサーキットシステム
26日前
個人
店内配信予約システム
2か月前
WHISMR合同会社
収音装置
25日前
サクサ株式会社
中継装置
2か月前
キヤノン株式会社
撮像装置
3か月前
アイホン株式会社
電気機器
19日前
キヤノン株式会社
電子機器
2か月前
キヤノン株式会社
撮像装置
1か月前
ヤマハ株式会社
信号処理装置
3か月前
株式会社リコー
画像形成装置
1か月前
株式会社リコー
画像形成装置
1か月前
キヤノン電子株式会社
モバイル装置
2か月前
キヤノン電子株式会社
画像読取装置
26日前
株式会社リコー
画像形成装置
1か月前
個人
ワイヤレスイヤホン対応耳掛け
17日前
電気興業株式会社
無線中継器
3か月前
日本精機株式会社
画像投映システム
3か月前
キヤノン株式会社
撮像システム
19日前
続きを見る
他の特許を見る