TOP
|
特許
|
意匠
|
商標
特許ウォッチ
Twitter
他の特許を見る
10個以上の画像は省略されています。
公開番号
2025150960
公報種別
公開特許公報(A)
公開日
2025-10-09
出願番号
2024052136
出願日
2024-03-27
発明の名称
ベッセル
出願人
日新電機株式会社
代理人
弁理士法人 HARAKENZO WORLD PATENT & TRADEMARK
主分類
H01L
21/673 20060101AFI20251002BHJP(基本的電気素子)
要約
【課題】真空搬送用容器の開閉の自動化を、動作の不具合の発生を低減しつつ実現する。
【解決手段】真空処理装置の被処理物を真空中に保持した状態で収容する可搬のベッセル(90)は、シール部材が嵌め込まれた溝(912)の周回形状の少なくとも隅部に隣接する凸部(914)が上面に設けられた板状の基体(91)と、側壁部(923)が溝の直上に位置するように構成されている蓋体(92)とを備える。
【選択図】図3
特許請求の範囲
【請求項1】
真空処理装置により処理される被処理物を、真空中に保持した状態で収容する可搬のベッセルであって、
基体と蓋体とを備え、
前記基体は板状であり、
前記基体の上面には、
角丸正方形または角丸長方形をなすように周回し、シール部材が嵌め込まれた溝と、
前記溝の周回形状の少なくとも隅部に隣接する凸部と、が設けられており、
前記蓋体は、板状の天井部と、前記天井部から下方に向けて延伸し、平面視において周回する側壁部と、を有し、
前記基体の上に装着された前記蓋体の前記側壁部が、前記溝の直上に位置するように構成されているベッセル。
続きを表示(約 770 文字)
【請求項2】
前記溝の周回形状の少なくとも隅部において、
前記凸部の前記溝に対向する外縁が、前記溝に沿うように構成されている、請求項1に記載のベッセル。
【請求項3】
前記凸部は、外縁が前記溝に沿うように、前記溝の周回形状の内側および/または外側に配置されている、請求項2に記載のベッセル。
【請求項4】
前記溝の周回形状の内側に複数の前記凸部が、前記溝の周回形状の4つの隅部それぞれについて設けられている、請求項2に記載のベッセル。
【請求項5】
前記溝の周回形状の外側に複数の前記凸部が、前記溝の周回形状の4つの隅部それぞれについて設けられている、請求項1に記載のベッセル。
【請求項6】
前記凸部の前記溝に対向する側面は、上方に向かうにつれて前記溝から離れるように傾斜している、請求項1から5のいずれか1項に記載のベッセル。
【請求項7】
前記凸部の表面が樹脂からなる、請求項1から5のいずれか1項に記載のベッセル。
【請求項8】
前記凸部は、前記基体の本体部分に対して着脱可能に設けられている、請求項1から5のいずれか1項に記載のベッセル。
【請求項9】
前記基体に装着された前記蓋体の上面における、前記溝の周回形状の対角線の上方に位置する線に沿って、前記蓋体を前記基体から引き離すための機構が係合する係合部が、前記蓋体の上面に複数設けられている、請求項1から5のいずれか1項に記載のベッセル。
【請求項10】
前記基体と前記基体に装着された前記蓋体により区画される内部空間の圧力を検知する圧力計を更に備えた、請求項1から5のいずれか1項に記載のベッセル。
(【請求項11】以降は省略されています)
発明の詳細な説明
【技術分野】
【0001】
本開示は、真空処理装置に適用されるベッセルに関する。
続きを表示(約 1,800 文字)
【背景技術】
【0002】
プラズマ処理装置等の、真空室内で被処理物に対する所要の処理を行う真空処理装置が知られている。また、被処理物を真空に保った状態で収容し、真空処理装置本体に搬出入し得る搬送用容器を、真空処理装置に適用することも提案されている。
【先行技術文献】
【特許文献】
【0003】
特開2005-170665号公報
【発明の概要】
【発明が解決しようとする課題】
【0004】
特許文献1の技術において搬送用容器は、蓋の無い箱状の形態をした箱部と、蓋部とから主に構成されており、箱部と蓋部との間にシール部材が挟み込まれることで、内部空間を真空に保つことができる。しかし、被処理物の取り出し/収容が行いにくく、真空処理装置内でのこれらの動作の確実性の点で課題があった。
【課題を解決するための手段】
【0005】
上記の課題を解決するために、本開示の一側面は、真空処理装置により処理される被処理物を、真空中に保持した状態で収容する可搬のベッセルであって、基体と蓋体とを備え、前記基体は板状であり、前記基体の上面には、角丸正方形または角丸長方形をなすように周回し、シール部材が嵌め込まれた溝と、前記溝の周回形状の少なくとも隅部に隣接する凸部と、が設けられており、前記蓋体は、板状の天井部と、前記天井部から下方に向けて延伸し、平面視において周回する側壁部と、を有し、前記基体の上に装着された前記蓋体の前記側壁部が、前記溝の直上に位置するように構成されている。
【発明の効果】
【0006】
本開示の一態様によれば、真空搬送用容器の開閉の自動化を、動作の不具合の発生を低減しつつ実現することができる。
【図面の簡単な説明】
【0007】
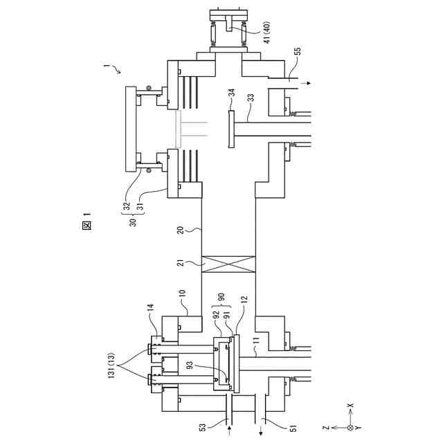
本開示の実施形態1に係るベッセルが適用される真空処理装置の概要を示す図である。
上記真空処理装置の機能構成を示すブロック図である。
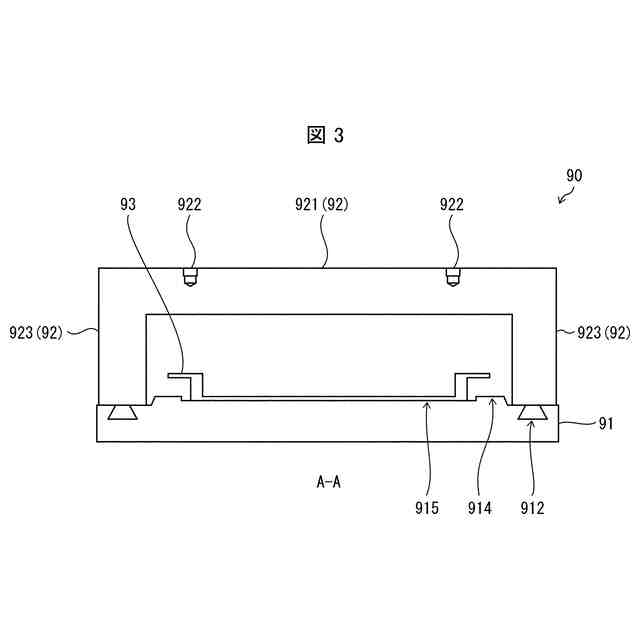
上記ベッセルの概要を示すための、正面方向から視た断面を表した図である。
上記ベッセルの基体を示す平面図である。
上記ベッセルの蓋体を示す平面図である。
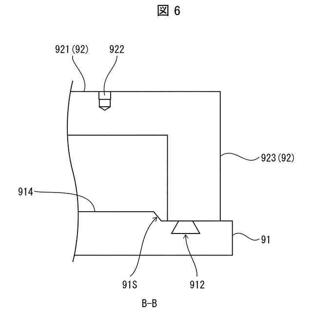
上記ベッセルの断面を示す図であり、隅部を拡大して示す。
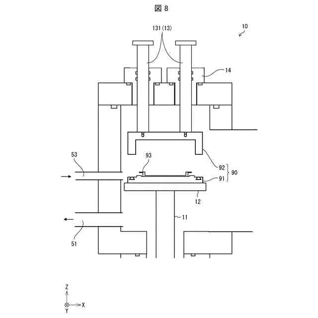
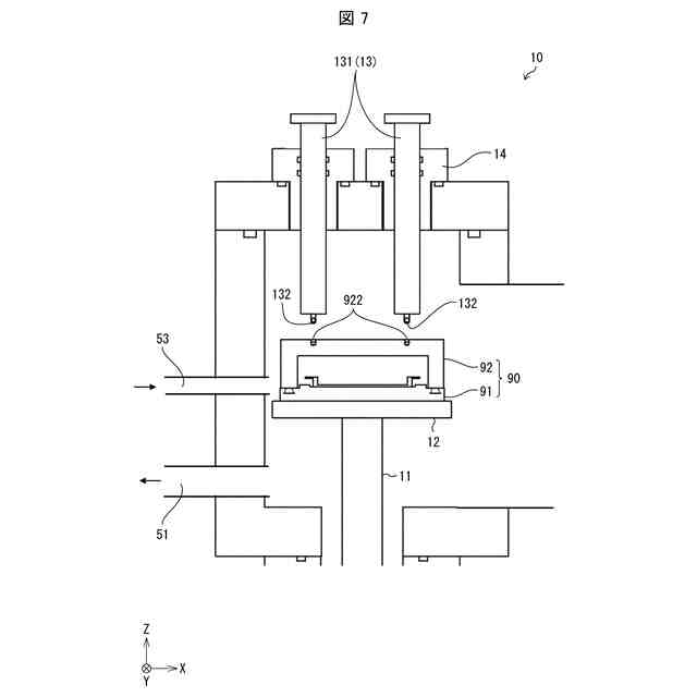
上記真空処理装置のロードロック室の概要を示す図である。開閉機構部の昇降ロッドが上昇している状態を示す。
上記真空処理装置のロードロック室の概要を示す図である。開閉機構部が上記ベッセルの蓋体を基体から離脱させた状態を示す。
本開示の実施形態2に係るベッセルの基体を示す平面図である。
本開示の実施形態3に係るベッセルの基体を示す平面図である。
本開示の実施形態4に係るベッセルの概要を示すための、正面方向から視た断面を表した図である。
【発明を実施するための形態】
【0008】
〔実施形態1〕
以下、本発明の一実施形態について詳細に説明する。ただし、以下の説明は、本発明に係るベッセルおよび当該ベッセルが適用される真空処理装置1の一例を説明するものであり、本発明の技術的範囲は、以下の説明および図の内容に限定されるものではない。なお以下では、鉛直線上向きをZ軸の正の向き、X軸およびY軸が水平面内にあるものとして、方向および向きを表す。
【0009】
<真空処理装置1の構成概要>
図1は、本開示の実施形態1に係るベッセル90が適用される真空処理装置1の要部構成を説明する図である。図1にはベッセル90も表されており、ベッセル90が真空処理装置1内に導入されている場面の一例が示されている。図2は、真空処理装置1の機能構成を示すブロック図である。
【0010】
真空処理装置1は、ロードロック室10、中間室20、真空処理室30、搬送機構部40、および、真空処理装置1の各部を制御する制御部60を備えている。ロードロック室10と真空処理室30とは、中間室20を介して気密に接続されている。ロードロック室10、中間室20、真空処理室30は、X軸方向に並んで配置されている。
(【0011】以降は省略されています)
この特許をJ-PlatPat(特許庁公式サイト)で参照する
関連特許
日新電機株式会社
遮断装置
1か月前
日新電機株式会社
ベッセル
2か月前
日新電機株式会社
真空バルブ
6日前
日新電機株式会社
受変電設備
13日前
日新電機株式会社
電子除湿器
1か月前
日新電機株式会社
リアクトル鉄心
6日前
日新電機株式会社
プラズマ処理装置
2か月前
日新電機株式会社
ガス絶縁開閉装置
1か月前
日新電機株式会社
電力機器の試験方法
2日前
日新電機株式会社
DC-DCコンバータ
1か月前
日新電機株式会社
刃先保護部材及び被膜除去方法
2か月前
日新電機株式会社
ガス絶縁機器およびその製造方法
1か月前
日新電機株式会社
表示装置、表示方法、およびプログラム
1か月前
日新電機株式会社
プラズマ処理装置及びプラズマ処理方法
2か月前
日新電機株式会社
配電システム、および、クラスタの制御方法
1か月前
日新電機株式会社
検出装置、電力供給システム、および検出方法
1か月前
日新電機株式会社
汚泥処理制御システムおよび汚泥処理制御方法
1か月前
日新電機株式会社
DC-DCコンバータ、および、その制御方法
6日前
日新電機株式会社
加工方法、治具及び勾配面加工用3軸マシニングセンタ
1か月前
日新電機株式会社
DC-DCコンバータ、および、AC-DCコンバータ
21日前
日新電機株式会社
コーティング部品及びコーティング部品を備えるコーティング工具
1か月前
日新電機株式会社
車種識別装置、車種識別モデル生成装置および車種識別モデル生成方法
2日前
日新電機株式会社
電源システム、電源システムの制御方法及び電源システムのプログラム
1か月前
日新電機株式会社
ダイヤモンド薄膜、コーティングデバイス及びダイヤモンド薄膜の製造方法
1か月前
日新電機株式会社
油入電気機器用の電気絶縁油基油、これを含有する電気絶縁油及び油入電気機器
1か月前
個人
三重コイル変圧器
1日前
APB株式会社
蓄電セル
1か月前
日機装株式会社
加圧装置
6日前
株式会社東芝
端子台
1か月前
マクセル株式会社
電源装置
1か月前
ローム株式会社
半導体装置
1日前
日新イオン機器株式会社
イオン源
6日前
三菱電機株式会社
回路遮断器
29日前
株式会社GSユアサ
蓄電装置
1か月前
株式会社GSユアサ
蓄電装置
1か月前
富士電機株式会社
電磁接触器
21日前
続きを見る
他の特許を見る