TOP
|
特許
|
意匠
|
商標
特許ウォッチ
Twitter
他の特許を見る
公開番号
2025150959
公報種別
公開特許公報(A)
公開日
2025-10-09
出願番号
2024052135
出願日
2024-03-27
発明の名称
プラズマ処理装置
出願人
日新電機株式会社
代理人
弁理士法人 HARAKENZO WORLD PATENT & TRADEMARK
主分類
H05H
1/46 20060101AFI20251002BHJP(他に分類されない電気技術)
要約
【課題】アンテナの内部から液体が漏洩した場合に、漏洩した液体が処理室に進入する可能性を低減できる。
【解決手段】プラズマ処理装置(100)は、処理室筐体(1)を貫通し、複数のアンテナ素子(30)を備えるアンテナ(3)と、アンテナに沿って複数のアンテナ素子のそれぞれを貫通し、冷却水(CL)が流れる流路(32)と、アンテナの外面を覆い、かつ、アンテナの外面との間に空間(S)を有するように、アンテナに沿って配置され、処理室筐体を気密に貫通する中空の第1絶縁体(8)と、を備える。
【選択図】図1
特許請求の範囲
【請求項1】
処理室と、
軸に沿って接続された複数のアンテナ素子を備え、前記処理室の筐体を貫通するアンテナであって、高周波電流を流すことにより前記処理室においてプラズマを発生させるアンテナと、
前記アンテナに沿って前記複数のアンテナ素子のそれぞれを貫通し、流体が流れる流路と、
前記アンテナの外面を覆い、かつ、前記アンテナの外面との間に空間を有するように、前記アンテナに沿って配置され、前記処理室の筐体を気密に貫通する中空の第1絶縁体と、を備える、プラズマ処理装置。
続きを表示(約 790 文字)
【請求項2】
前記第1絶縁体の、前記処理室の外部に延伸した端部が開放されている内部空間を有する空間部を備える、請求項1に記載のプラズマ処理装置。
【請求項3】
前記内部空間が真空引きされている、請求項2に記載のプラズマ処理装置。
【請求項4】
前記内部空間が大気開放されている、請求項2に記載のプラズマ処理装置。
【請求項5】
前記処理室において前記第1絶縁体の外面を覆うように、前記第1絶縁体の軸に沿って配置された第2絶縁体を備える、請求項1から4の何れか1項に記載のプラズマ処理装置。
【請求項6】
前記アンテナは、隣接する2つのアンテナ素子に接続され、前記流路が貫通する絶縁素子を備える、請求項1から4の何れか1項に記載のプラズマ処理装置。
【請求項7】
前記アンテナを複数備え、
複数の前記アンテナのそれぞれに対して、前記第1絶縁体が配置されている、請求項1から4の何れか1項に記載のプラズマ処理装置。
【請求項8】
前記アンテナは直線状である、請求項1から4の何れか1項に記載のプラズマ処理装置。
【請求項9】
前記内部空間の圧力を測定する圧力計と、
前記圧力計が測定した圧力の変化に基づき、前記内部空間への流体の進入を検出する検出部と、を備える、請求項3に記載のプラズマ処理装置。
【請求項10】
前記内部空間の圧力を測定する圧力計と、
前記内部空間にガスを導入するガス導入部と、
前記内部空間に前記ガスが導入された状態において前記圧力計が測定した圧力の変化に基づき、前記第1絶縁体およびその周囲の状態にどのような変化が生じたかを判定する判定部と、を備える、請求項3に記載のプラズマ処理装置。
発明の詳細な説明
【技術分野】
【0001】
本開示は、プラズマ処理装置に関する。
続きを表示(約 1,600 文字)
【背景技術】
【0002】
プラズマ処理装置の一例が、特許文献1,2に開示されている。特許文献1には、プラズマ処理装置に用いられるアンテナが開示されている。特許文献1のアンテナは、少なくとも一対の筒状の導体要素と、互いに隣り合う導体要素の間に設けられて、これらの導体要素の内部空間と連通する中空絶縁体と、一対の導体要素および中空絶縁体の間それぞれに設けられたメタルシールとを備えている。特許文献2には、アンテナを冷却する冷却液が流通するアンテナ用冷却流路と、アンテナ用冷却流路からの冷却液の漏洩を検知するアンテナ用漏洩センサと、を備えるプラズマ処理装置が開示されている。
【先行技術文献】
【特許文献】
【0003】
特開2019-164896号公報
特開2021-64450号公報
【発明の概要】
【発明が解決しようとする課題】
【0004】
特許文献1のアンテナでは、導体要素と絶縁体との間にメタルシールを設けることにより、アンテナの内部において流通する冷却液が導体要素と絶縁体との間から漏洩する可能性を低減しているが、冷却液の漏洩の可能性は多少なりとも存在する。また、特許文献2は、アンテナからの冷却液の漏洩後の被害を低減する技術を開示するものである。
【0005】
本発明の一態様は、アンテナの内部から液体が漏洩した場合に、漏洩した液体が処理室に進入する可能性を低減できるプラズマ処理装置を実現することを目的とする。
【課題を解決するための手段】
【0006】
上記の課題を解決するために、本発明の一態様に係るプラズマ処理装置は、処理室と、軸に沿って接続された複数のアンテナ素子を備え、前記処理室の筐体を貫通するアンテナであって、高周波電流を流すことにより前記処理室においてプラズマを発生させるアンテナと、前記アンテナに沿って前記複数のアンテナ素子のそれぞれを貫通し、流体が流れる流路と、前記アンテナの外面を覆い、かつ、前記アンテナの外面との間に空間を有するように、前記アンテナに沿って配置され、前記処理室の筐体を気密に貫通する中空の第1絶縁体と、を備える。
【発明の効果】
【0007】
本発明の一態様によれば、アンテナの内部から液体が漏洩した場合に、漏洩した液体が処理室に進入する可能性を低減できる。
【図面の簡単な説明】
【0008】
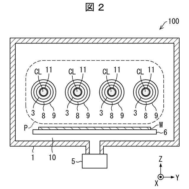
本発明の一実施形態に係るプラズマ処理装置の概略的な断面を示す断面図である。
図1に示したプラズマ処理装置をアンテナの軸方向から見たときの、プラズマ処理装置の概略的な断面を示す断面図である。
本発明の別の実施形態に係るプラズマ処理装置の概略的な断面を示す断面図である。
【発明を実施するための形態】
【0009】
〔実施形態1〕
以下、本発明の一実施形態について、図1および図2を用いて詳細に説明する。図1は、本開示の一実施形態に係るプラズマ処理装置100の概略的な断面を示す断面図である。図1において、アンテナ3が延伸する方向をX軸方向、保持部6からアンテナ3に向かう方向をZ軸方向、X軸方向およびZ軸方向の両方の方向に直交する方向をY軸方向とする。他の図面においても同様である。
【0010】
プラズマ処理装置100は、誘導結合型のプラズマPを用いて基板Wに処理を行うものである。基板Wは、例えば、液晶ディスプレイまたは有機ELディスプレイ等のフラットパネルディスプレイ(FPD)用のガラス基板、または、フレキシブルディスプレイ用のフレキシブル基板等である。プラズマ処理装置100は、基板Wに対し、例えば、プラズマCVD法もしくはスパッタ法による膜形成、プラズマによるエッチング、アッシングまたは被覆膜除去等を行う。
(【0011】以降は省略されています)
この特許をJ-PlatPat(特許庁公式サイト)で参照する
関連特許
日新電機株式会社
遮断装置
1か月前
日新電機株式会社
電子除湿器
1か月前
日新電機株式会社
真空バルブ
6日前
日新電機株式会社
受変電設備
13日前
日新電機株式会社
リアクトル鉄心
6日前
日新電機株式会社
ガス絶縁開閉装置
1か月前
日新電機株式会社
電力機器の試験方法
2日前
日新電機株式会社
DC-DCコンバータ
1か月前
日新電機株式会社
刃先保護部材及び被膜除去方法
2か月前
日新電機株式会社
ガス絶縁機器およびその製造方法
1か月前
日新電機株式会社
表示装置、表示方法、およびプログラム
1か月前
日新電機株式会社
配電システム、および、クラスタの制御方法
1か月前
日新電機株式会社
検出装置、電力供給システム、および検出方法
1か月前
日新電機株式会社
汚泥処理制御システムおよび汚泥処理制御方法
1か月前
日新電機株式会社
DC-DCコンバータ、および、その制御方法
6日前
日新電機株式会社
DC-DCコンバータ、および、AC-DCコンバータ
21日前
日新電機株式会社
加工方法、治具及び勾配面加工用3軸マシニングセンタ
1か月前
日新電機株式会社
コーティング部品及びコーティング部品を備えるコーティング工具
1か月前
日新電機株式会社
車種識別装置、車種識別モデル生成装置および車種識別モデル生成方法
2日前
日新電機株式会社
電源システム、電源システムの制御方法及び電源システムのプログラム
1か月前
日新電機株式会社
ダイヤモンド薄膜、コーティングデバイス及びダイヤモンド薄膜の製造方法
1か月前
日新電機株式会社
油入電気機器用の電気絶縁油基油、これを含有する電気絶縁油及び油入電気機器
1か月前
個人
電子部品の実装方法
2か月前
日本精機株式会社
回路基板
2日前
愛知電機株式会社
装柱金具
2か月前
日本精機株式会社
回路基板
3か月前
個人
電気式バーナー
1か月前
日星電気株式会社
面状ヒータ
27日前
イビデン株式会社
配線基板
2か月前
日本放送協会
基板固定装置
3か月前
アイホン株式会社
電気機器
2か月前
キヤノン株式会社
電子機器
2か月前
メクテック株式会社
配線基板
3か月前
個人
静電気中和除去装置
1か月前
東レ株式会社
霧化状活性液体供給装置
3か月前
株式会社デンソー
電子装置
1か月前
続きを見る
他の特許を見る