TOP
|
特許
|
意匠
|
商標
特許ウォッチ
Twitter
他の特許を見る
公開番号
2025159989
公報種別
公開特許公報(A)
公開日
2025-10-22
出願番号
2024062915
出願日
2024-04-09
発明の名称
配電システム、および、クラスタの制御方法
出願人
日新電機株式会社
代理人
弁理士法人 HARAKENZO WORLD PATENT & TRADEMARK
主分類
H02J
1/12 20060101AFI20251015BHJP(電力の発電,変換,配電)
要約
【課題】クラスタ内での電力需給の過不足をクラスタ間での連携により軽減し得る配電システムを実現する。
【解決手段】複数のクラスタ(1A、1B、1C)が連携バス(9)を介して互いに接続され得る配電システム(100)において、クラスタ(1A)の制御装置(10A)は、通常時には開閉器(50A)を開状態に制御して自クラスタを独立して運用させ、DCバスの電圧が所定の上限電圧以上になると送電要求信号として、蓄電装置(20A)を制御してDCバスの電圧を所定の送電要求電圧にさせてから開閉器を一時的に閉状態にしてDCバスの電圧を連携バスに印加し、送電要求信号に応じた他のクラスタがある場合に開閉器を閉状態に制御して、自クラスタを当該他のクラスタと連携して運用させる。
【選択図】図1
特許請求の範囲
【請求項1】
複数のクラスタが連携バスを介して互いに接続され得る配電システムであって、
前記クラスタは、
DCバスと、
前記DCバスに接続された発電装置、蓄電装置、および負荷と、
前記DCバスと前記連携バス間の開閉をする開閉器と、
制御装置と、を備えており、
前記制御装置は、
通常時には、前記開閉器を開状態に制御して自クラスタを独立して運用させ、
前記DCバスの電圧が所定の上限電圧以上になると、前記連携バスに電圧が印加されていない場合には、自クラスタからの送電のための電力受け入れを他クラスタに対して要求する旨を示す信号である送電要求信号として、前記蓄電装置を制御して前記DCバスの電圧を所定の送電要求電圧にさせてから前記開閉器を一時的に閉状態にして当該DCバスの電圧を前記連携バスに印加し、当該送電要求信号に応じた他のクラスタがある場合に前記開閉器を閉状態に制御して、自クラスタを当該他のクラスタと連携して運用させる、配電システム。
続きを表示(約 1,200 文字)
【請求項2】
前記制御装置は、
前記通常時に前記連携バスに他クラスタから前記送電要求信号が出力されたことを検知すると、
前記DCバスの電圧に応じた待機時間の後に、前記連携バスに電圧が印加されていなければ前記開閉器を閉状態に制御することで、前記送電要求信号に応じる、請求項1に記載の配電システム。
【請求項3】
前記制御装置は、
前記DCバスの電圧が所定の上限電圧以上になると、前記連携バスに電圧が印加されている場合には、前記蓄電装置を制御して、前記DCバスの電圧を前記連携バスの電圧に一致させてから前記開閉器を閉状態に制御する、請求項1または2に記載の配電システム。
【請求項4】
前記制御装置は、
前記DCバスの電圧が所定の下限電圧未満になると、前記連携バスに電圧が印加されていない場合に、自クラスタへの電力供給を他のクラスタに対して要求する旨を示す信号である受電要求信号として、前記開閉器を閉状態にして当該DCバスの電圧を前記連携バスに印加し、当該受電要求信号に応じた他のクラスタがある場合に、引き続き前記開閉器を閉状態に制御して、自クラスタを当該他のクラスタと連携して運用させる、請求項3に記載の配電システム。
【請求項5】
前記送電要求電圧は、前記下限電圧よりも低い電圧である、請求項4に記載の配電システム。
【請求項6】
前記蓄電装置は、
通常時には、前記DCバスの電圧が所定の放電制限電圧未満の場合に放電を、所定の充電制限電圧以上の場合に充電を行い、
前記放電制限電圧は前記下限電圧よりも高い電圧であり、前記充電制限電圧は前記放電制限電圧よりも高い電圧かつ前記上限電圧よりも低い電圧である、請求項4に記載の配電システム。
【請求項7】
複数のクラスタが連携バスを介して互いに接続され得る配電システムにおける前記クラスタの制御方法であって、
前記クラスタは、
DCバスと、
前記DCバスに接続された発電装置、蓄電装置、および負荷と、
前記DCバスと前記連携バス間の開閉をする開閉器と、を備えており、
通常時には、前記開閉器を開状態に制御して自クラスタを独立して運用させ、
前記DCバスの電圧が所定の上限電圧以上になると、前記連携バスに電圧が印加されていない場合には、自クラスタからの送電のための電力受け入れを他クラスタに対して要求する旨を示す信号である送電要求信号として、前記蓄電装置を制御して前記DCバスの電圧を所定の送電要求電圧にさせてから前記開閉器を一時的に閉状態にして当該DCバスの電圧を前記連携バスに印加し、当該送電要求信号に応じた他のクラスタがある場合に前記開閉器を閉状態に制御して、自クラスタを当該他のクラスタと連携して運用させる、クラスタの制御方法。
発明の詳細な説明
【技術分野】
【0001】
本発明は、複数のクラスタからなる配電システム、および、クラスタの制御方法に関する。
続きを表示(約 2,100 文字)
【背景技術】
【0002】
分散型電源を備えた配電システムが提案されている。特許文献1にはこのような配電システムとしての、発電装置、蓄電装置、および、負荷が直流電路(DCバス)に接続されたエネルギーシステムの運転方法に関する技術が開示されている。
【先行技術文献】
【特許文献】
【0003】
特開2023-92363号公報
【発明の概要】
【発明が解決しようとする課題】
【0004】
DCバスに、発電装置、蓄電装置、および、負荷等が接続された一連のこのようなローカルの電力システムはクラスタとも称される。このようなクラスタは比較的小規模なシステムであるため、クラスタ内での電力需給に、クラスタ単独では対応できない過不足が生じることがある。本課題に鑑みて本開示の一態様は、所要の場合にクラスタ間での電力の融通を可能とすることによって、クラスタ内での電力需給の過不足を軽減し得る配電システムを実現することを目的とする。
【課題を解決するための手段】
【0005】
上記の課題を解決するために、本開示の一態様に係る配電システムは、複数のクラスタが連携バスを介して互いに接続される配電システムであって、前記クラスタは、DCバスと、前記DCバスに接続された発電装置、蓄電装置、および負荷と、前記DCバスと前記連携バス間の開閉をする開閉器と、制御装置と、を備えており、前記制御装置は、通常時には、前記開閉器を開状態に制御して自クラスタを独立して運用させ、前記DCバスの電圧が所定の上限電圧以上になると、前記連携バスに電圧が印加されていない場合には、自クラスタからの送電のための電力受け入れを他クラスタに対して要求する旨を示す信号である送電要求信号として、前記蓄電装置を制御して前記DCバスの電圧を所定の送電要求電圧にさせてから前記開閉器を一時的に閉状態にして当該DCバスの電圧を前記連携バスに印加し、当該送電要求信号に応じた他のクラスタがある場合に前記開閉器を閉状態に制御して、自クラスタを当該他のクラスタと連携して運用させることを特徴とする。
【0006】
上記の課題を解決するために、本開示の一態様に係るクラスタの制御方法は、複数のクラスタが連携バスを介して互いに接続される配電システムにおける前記クラスタの制御方法であって、前記クラスタは、DCバスと、前記DCバスに接続された発電装置、蓄電装置、および負荷と、前記DCバスと前記連携バス間の開閉をする開閉器と、を備えており、通常時には、前記開閉器を開状態に制御して自クラスタを独立して運用させ、前記DCバスの電圧が所定の上限電圧以上になると、前記連携バスに電圧が印加されていない場合には、自クラスタからの送電のための電力受け入れを他クラスタに対して要求する旨を示す信号である送電要求信号として、前記蓄電装置を制御して前記DCバスの電圧を所定の送電要求電圧にさせてから前記開閉器を一時的に閉状態にして当該DCバスの電圧を前記連携バスに印加し、当該送電要求信号に応じた他のクラスタがある場合に前記開閉器を閉状態に制御して、自クラスタを当該他のクラスタと連携して運用させることを特徴とする。
【発明の効果】
【0007】
本発明の一態様によれば、クラスタ内での電力需給の過不足をクラスタ間での連携により軽減し得る配電システムを実現することが可能となる。
【図面の簡単な説明】
【0008】
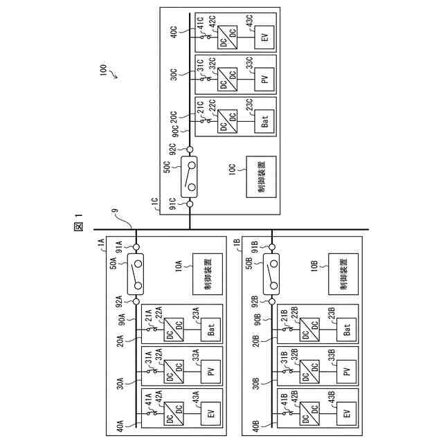
本開示の一実施形態に係る配電システムを示す図である。
前記配電システムを構成するクラスタにおける、クラスタ電圧(DCバスの電圧)と、各機器の動作の関係を説明するための図である。
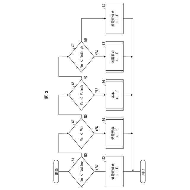
上記クラスタの動作を説明するためのフローチャートである。
上記フローチャートにおける受電要求モードのサブルーチンである。
上記フローチャートにおける送電要求モードのサブルーチンである。
上記フローチャートにおける基本モードのサブルーチンである。
送電要求の動作に関して、クラスタ電圧の推移を示す図である。
各クラスタにおける、送電要求についての動作を説明するための図である。
【発明を実施するための形態】
【0009】
以下、本発明の一実施形態について詳細に説明する。ただし、以下の説明は、本発明に係る配電システムの一例を説明するものであり、本発明の技術的範囲は、以下の説明および図の内容に限定されるものではない。
【0010】
<配電システム100の概要>
図1は、本発明の一実施形態に係る配電システム100の構成の概要を示すブロック図である。配電システム100は、複数のクラスタ1と、各クラスタ1の間を接続し得る連携バス9とから構成されている。図1には、配電システム100に含まれる複数のクラスタ1のうち、クラスタ1Aと、クラスタ1Bと、クラスタ1Cとが表されている。
(【0011】以降は省略されています)
この特許をJ-PlatPat(特許庁公式サイト)で参照する
関連特許
日新電機株式会社
真空バルブ
6日前
日新電機株式会社
受変電設備
13日前
日新電機株式会社
リアクトル鉄心
6日前
日新電機株式会社
電力機器の試験方法
2日前
日新電機株式会社
DC-DCコンバータ、および、その制御方法
6日前
日新電機株式会社
DC-DCコンバータ、および、AC-DCコンバータ
21日前
日新電機株式会社
車種識別装置、車種識別モデル生成装置および車種識別モデル生成方法
2日前
株式会社東光高岳
充電器
2日前
東洋アルミニウム株式会社
発電体
1日前
株式会社ダイヘン
充電装置
1日前
株式会社デンソー
回転電機
6日前
株式会社ダイヘン
送配電装置
6日前
株式会社不二越
空冷式油圧装置
6日前
本田技研工業株式会社
回転電機
8日前
ローム株式会社
半導体集積回路
13日前
富士電機株式会社
電力変換装置
6日前
富士電機株式会社
電力変換装置
6日前
株式会社東光高岳
充電対象切換システム
2日前
アズビル株式会社
タービン式流量制御装置
1日前
株式会社イノコンバンク
無線給電システム
6日前
サンデン株式会社
モータ
7日前
サンデン株式会社
モータ
7日前
西芝電機株式会社
緊急切断方法及び軸発電機
2日前
ジヤトコ株式会社
治具
6日前
矢崎総業株式会社
電気接続箱
8日前
多摩川精機株式会社
モータ
6日前
株式会社アイシン
ステータユニット
2日前
河村電器産業株式会社
車両充電装置
6日前
トヨタ紡織株式会社
電動モータ
2日前
日本発條株式会社
コアの製造方法及び装置
6日前
トヨタ紡織株式会社
モータコアの製造方法
13日前
株式会社デンソー
電動機
13日前
株式会社デンソー
ロータ
8日前
株式会社デンソー
ロータ
8日前
矢崎総業株式会社
車載用切替装置
8日前
株式会社明電舎
電力変換システム
6日前
続きを見る
他の特許を見る